GM Service Manual Online
For 1990-2009 cars only
Figure 1:

Switches


Object Number: 783332  Size: FS
Master Electrical Component List
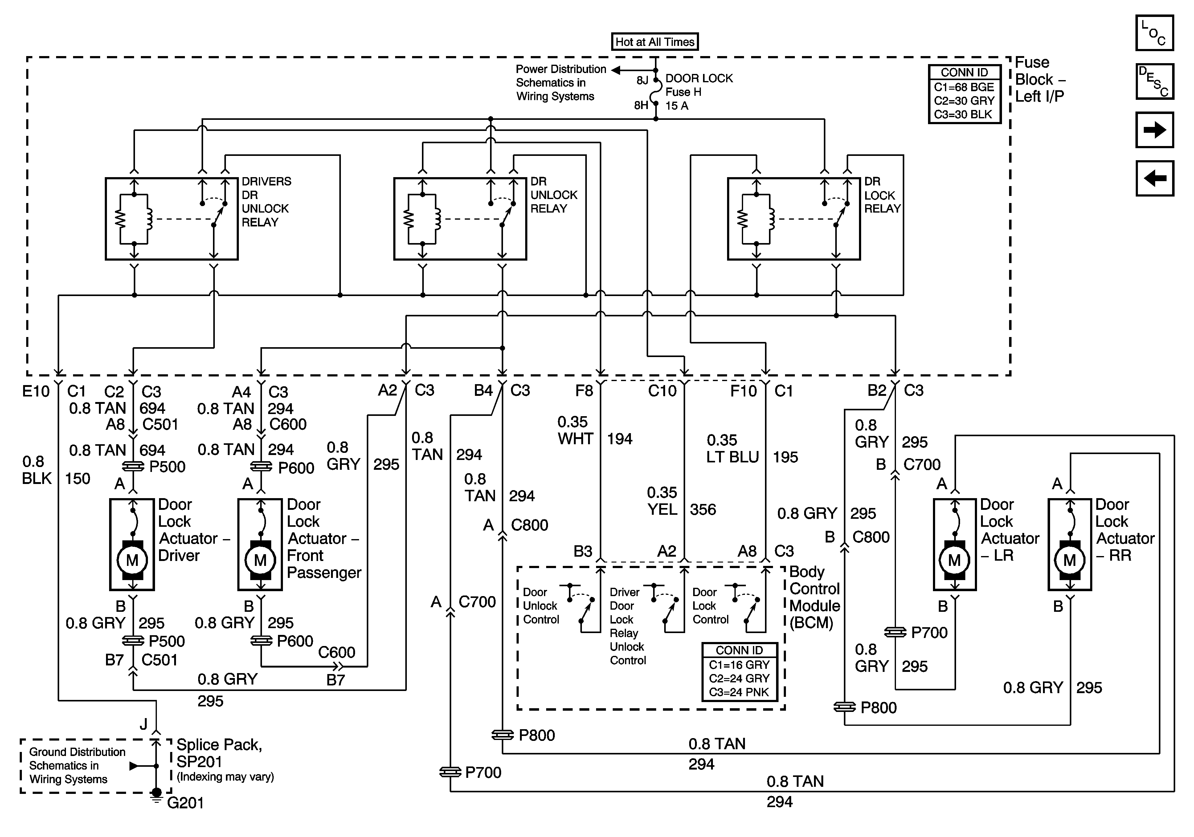
Power Door Locks Description and Operation
Actuators w/ Remote Function Actuation
SP302
SP302
Door Dimming
Door Dimming
Figure 2:

Actuators - with Remote Function Actuation


Object Number: 783334  Size: FS
Master Electrical Component List
Power Door Locks Description and Operation
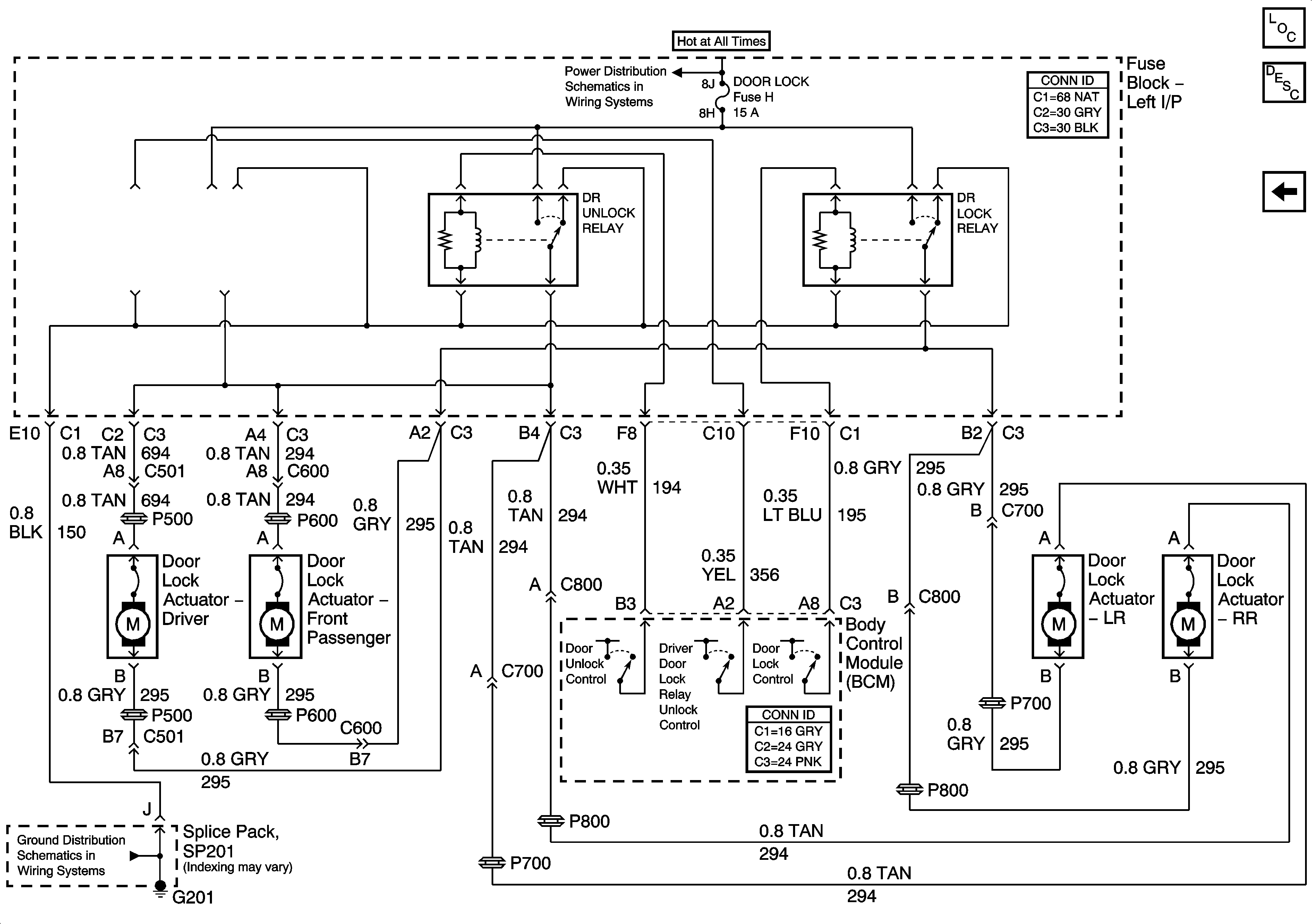
Actuators w/o Remote Function Actuation
Switches
BATT1, PWR SEAT, PWR MIRROR, DR LOCK, TRUNK REL/RFA Fuses
SP201
Figure 3:

Actuators - without Remote Function Actuation


Object Number: 783336  Size: FS
Master Electrical Component List
Power Door Locks Description and Operation
Actuators w/ Remote Function Actuation
BATT1, PWR SEAT, PWR MIRROR, DR LOCK, TRUNK REL/RFA Fuses
SP201
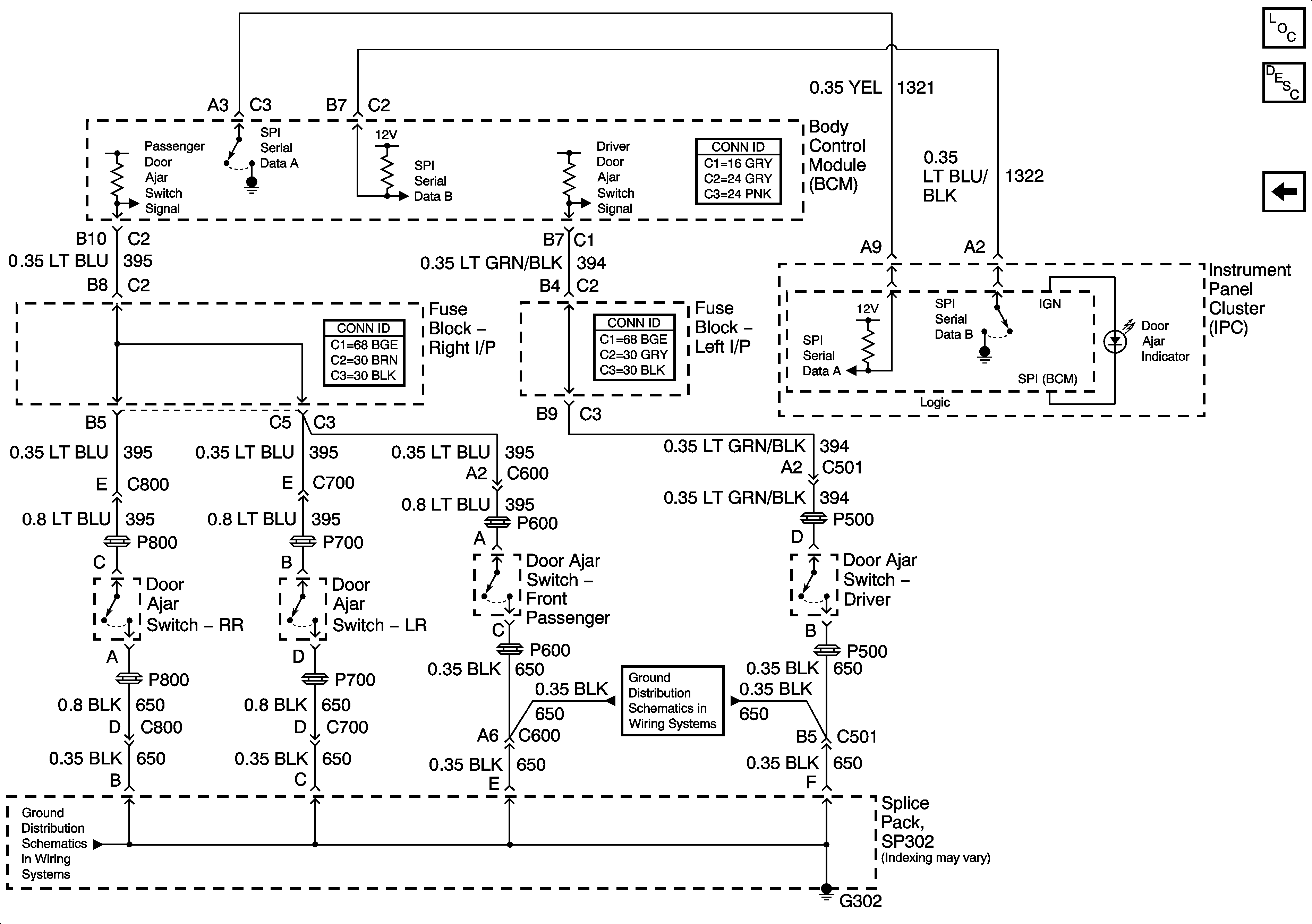
Door Ajar Switches
Figure 4:

Door Ajar Switches


Object Number: 784162  Size: FS
Master Electrical Component List
Door Ajar Indicator Description and Operation
Actuators w/o Remote Function Actuation
SP302
SP302