|
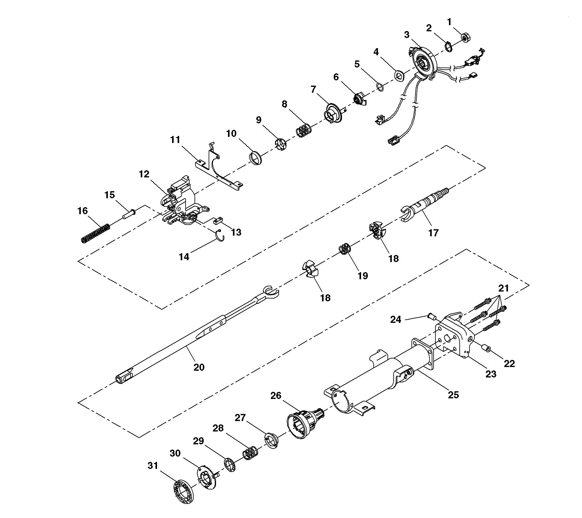
| (1) | Flanged
Prevailing Torque Nut |
| (2) | Retaining
Ring |
| (3) | SIR
Coil |
| (4) | Wave Washer |
| (5) | Bearing
Retainer |
| (6) | Cam
Orientation Plate |
| (7) | Turn
Signal Cancel Cam Assembly |
| (8) | Upper
Bearing Spring |
| (9) | Upper
Bearing Inner Race Seat |
| (10) | Inner
Race |
| (11) | Switch
Adapter Plate |
| (12) | Bearing
and Housing Assembly |
| (13) | Wire
Harness Spacer |
| (14) | Wire
Harness Strap |
| (15) | Spring
Guide |
| (16) | Tilt
Spring |
| (17) | Race and Upper Shaft Assembly |
| (18) | Centering Sphere |
| (19) | Joint Preload Spring |
| (18) | Centering
Sphere |
| (20) | Lower Shaft Assembly |
| (21) | TORX® Head Screws |
| (22) | Pivot Pin |
| (23) | Steering Column Housing Assembly |
| (24) | Pivot Pin |
| (25) | Steering Column Jacket Assembly |
| (26) | Adapter and Bearing Assembly |
| (27) | Lower Bearing Seat |
| (28) | Lower Bearing Spring |
| (29) | Lower Spring Retainer |
| (30) | Retainer |
| (31) | Steering Shaft Seal |