GM Service Manual Online
For 1990-2009 cars only
Figure 1:

Left Side of Engine Compartment


Object Number: 1549426  Size: LF
(1)G104
(2)Battery
Figure 2:

Left Side of the Engine Compartment


Object Number: 264417  Size: LF
(1)Remote Battery Stud
(2)Fuse Block - Underhood
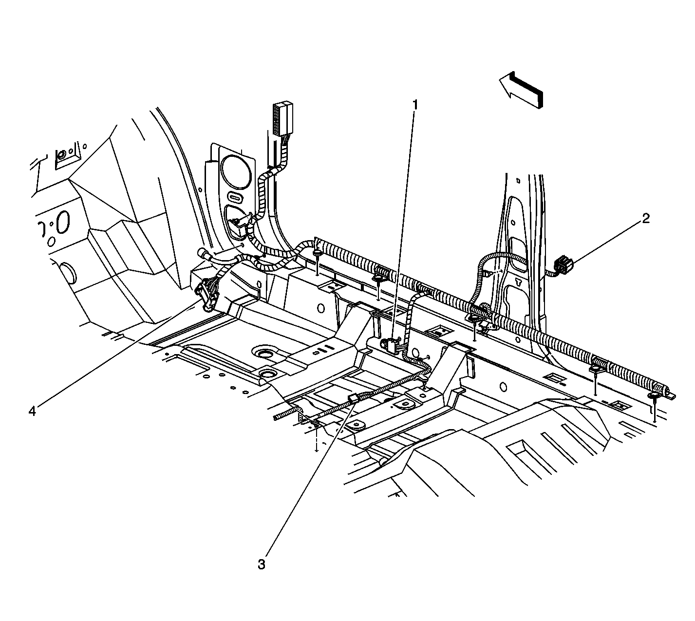
Figure 3:

Left Side of the Engine Compartment


Object Number: 264413  Size: LF
(1)SP101, G101
(2)C101
Figure 4:

Left Side of the Engine, Above the Transaxle


Object Number: 1822208  Size: LF
(1)SP102, G102
(2)Park/Neutral Position (PNP) Switch
(3)C102
Figure 5:

Front of Engine


Object Number: 281295  Size: LF
(1)SP103, G103
Figure 6:

Left Side of the IP


Object Number: 281327  Size: LF
(1)C274, Inflatable Restraint Steering Wheel Module Connector
(2)SP201, G201
(3)SP202, G202
Figure 7:

Top Right Side of the IP


Object Number: 264438  Size: LF
(1)IP Harness
(2)Glove Box Lamp/Switch
(3)Air Temperature Actuator Connector
(4)Cigar Lighter Connector
(5)Accessory Power Outlet Connector
(6)HVAC Control Assembly Connectors
(7)Radio Connector
Figure 8:

Under the Right Side of the Instrument Panel


Object Number: 1549427  Size: LF
(1)Blower Motor Resistor Connector
(2)Blower Motor
(3)Fuse Block - Right I/P
(4)Inflatable Restraint I/P Module Connector
(5)SP203, G203
(6)Right Courtesy Lamp
(7)Body Control Module (BCM)
Figure 9:

IP Wiring Harness Junction Block, Right Side


Object Number: 281344  Size: LF
(1)SP302, G302
(2)C800
(3)SP303
(4)C600
Figure 10:

RH IP Fuse Block


Object Number: 264441  Size: LF
(1)IP Fuse Block Connector, Right Side
Figure 11:

Right Side of the Passenger Compartment, Rear Package Shelf


Object Number: 281354  Size: LF
(1)C413
(2)SP402, G402