GM Service Manual Online
For 1990-2009 cars only

Tools Required

J 39384-10 Torsion Rod Adjustment Bar

Removal Procedure

    Important: Have an assistant support the rear compartment lid before performing the following steps so the rear compartment lid does not fall down and cause personal injury. If an assistant is not available, remove the lid from the hinges.


    Object Number: 284020  Size: SH
  1. Open the rear compartment.
  2. With a grease pencil, mark the location of the torque rod (which hole in the hinge bracket).

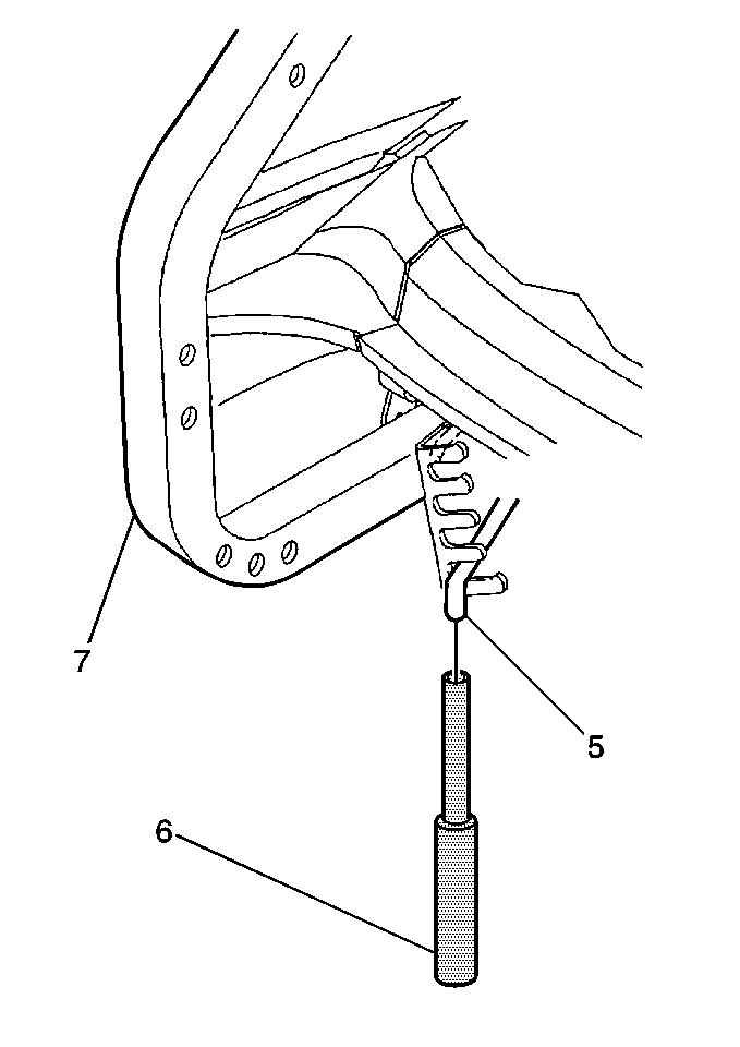
  3. Object Number: 284021  Size: MH
  4. Use the J 39384-10  (6) in order to remove the torque rod (5) from the adjusting notch.
  5. With the torque rod removed from the adjuster, push the rod out of the hinge arm.

  6. Object Number: 284020  Size: SH
  7. Remove the torque rod (1) from the rear compartment lid hinge (4).

Installation Procedure


    Object Number: 284020  Size: SH
  1. Install the torque rod to the compartment lid hinge arm (4).

  2. Object Number: 284021  Size: MH
  3. Use the J 39384-10  (6) in order to engage the torque rod (5) to the adjusting notch.
  4. Adjust the operating effort by adjusting the rear compartment torque rods.
  5. Use the following procedure:


    Object Number: 284021  Size: MH
    3.1. Position the end of the torque rod (5) to a lower adjusting notch in order to obtain the following results:
       • Increase the amount of effort needed in order to raise the compartment lid.
       • Decrease the amount of effort needed in order to close the compartment lid.
    3.2. Position the end of the torque rod (5) to a higher adjusting notch in order to obtain the following results:
       • Decrease the amount of effort needed in order to raise the compartment lid.
       • Increase the amount of effort needed in order to close the compartment lid.