GM Service Manual Online
For 1990-2009 cars only

Removal Procedure

  1. Raise the rear door window to the full up position.
  2. Remove the rear door water deflector. Refer to Rear Side Door Water Deflector Replacement .

  3. Object Number: 276385  Size: SH
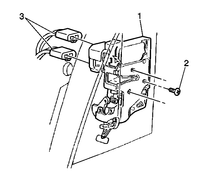
  4. Remove the screws (2) securing the rear door lock (1).

  5. Object Number: 276387  Size: SH
  6. Remove the rear door inside handle screw (2).

  7. Object Number: 276389  Size: SH
  8. Remove the door inside handle rod (2) from the rear door inside handle (3).
  9. Remove the door inside locking rod (4) from the rear door inside handle (3).
  10. Remove the rear door inside handle (3).

Installation Procedure


    Object Number: 276389  Size: SH
  1. Install the door inside handle rod (2) to the rear door inside handle (3).
  2. Install the door inside locking rod (4) from the rear door inside handle (3).

  3. Object Number: 276387  Size: SH

    Notice: Use the correct fastener in the correct location. Replacement fasteners must be the correct part number for that application. Fasteners requiring replacement or fasteners requiring the use of thread locking compound or sealant are identified in the service procedure. Do not use paints, lubricants, or corrosion inhibitors on fasteners or fastener joint surfaces unless specified. These coatings affect fastener torque and joint clamping force and may damage the fastener. Use the correct tightening sequence and specifications when installing fasteners in order to avoid damage to parts and systems.

  4. Install the rear door inside handle screw (2).
  5. Tighten
    Tighten the screw to 1 N·m (9 lb in).


    Object Number: 276385  Size: SH
  6. Install the rear door lock screws (2).
  7. Tighten
    Tighten the screw to 6 N·m (53 lb in).

  8. Install the rear door water deflector. Refer to Rear Side Door Water Deflector Replacement .