GM Service Manual Online
For 1990-2009 cars only

Removal Procedure


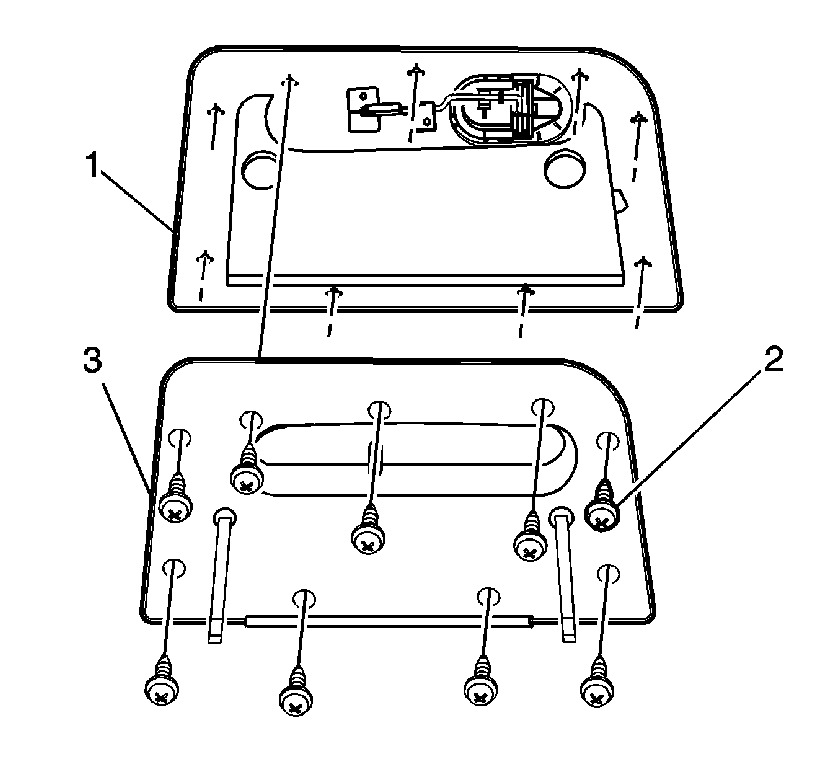
    Object Number: 918858  Size: SH
  1. Open the instrument panel (I/P) compartment door (1).
  2. Remove the screws (2) from the reinforcement cover (3) on the I/P door (1).
  3. Separate the reinforcement cover (3) from the I/P door (1).

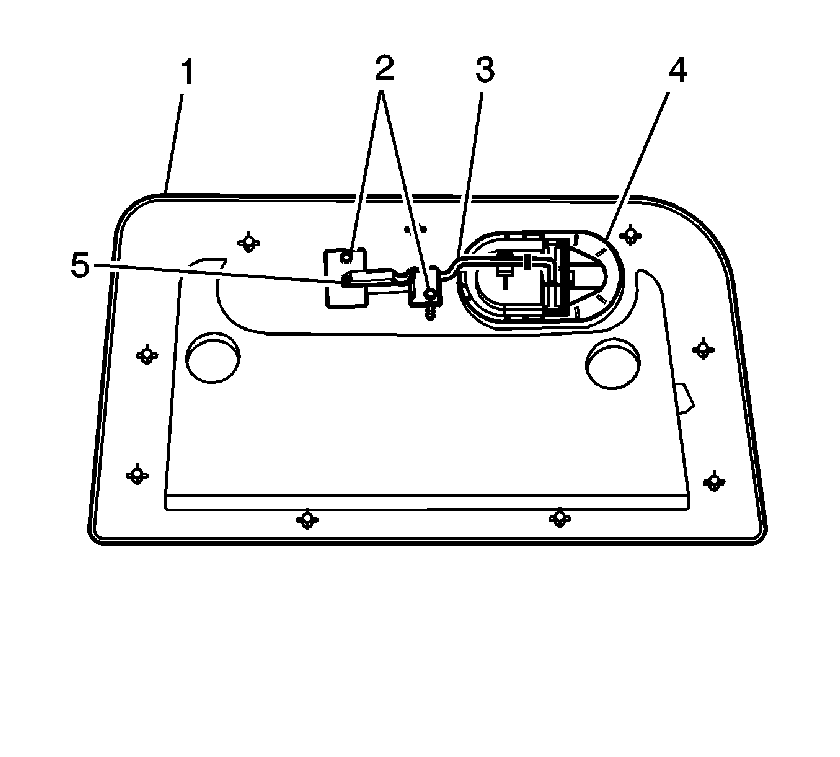
  4. Object Number: 918854  Size: SH
  5. Remove the screws (2) from the door latch (5).
  6. Remove the door latch (5) from the I/P door (1).
  7. Remove the latch rod (3) from the door latch handle (4).

Installation Procedure


    Object Number: 918854  Size: SH
  1. Install the latch rod (3) to the door latch handle (4).
  2. Install the door latch (5) to the I/P door (1).
  3. Notice: Refer to Fastener Notice in the Preface section.

  4. Install the screws (2) to the door latch (5).
  5. Tighten
    Tighten the screws to 2.3 N·m (20 lb in).


    Object Number: 918858  Size: SH
  6. Install the reinforcement cover (3) to the I/P door (1).
  7. Install the screws (2) to the reinforcement cover (3).
  8. Tighten
    Tighten the screws to 2.3 N·m (20 lb in).

  9. Close the I/P compartment door (1).