GM Service Manual Online
For 1990-2009 cars only

Removal Procedure

  1. Disengage the sunroof control switch from the headlining trim finish panel.
  2. Use a small flat bladed tool.


    Object Number: 282446  Size: SH
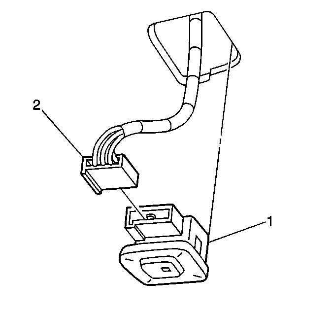
  3. Disconnect the electrical connector (2) from the sunroof control switch (1).
  4. Remove the sunroof control switch from the vehicle.

Installation Procedure


    Object Number: 282446  Size: SH
  1. Install the sunroof control switch (1) to the vehicle.
  2. Connect the electrical connector (2) to the sunroof control switch.
  3. Firmly push the sunroof control switch (1) into the headlining trim finish panel in order to secure the sunroof control switch.