GM Service Manual Online
For 1990-2009 cars only

Tools Required

J 37043 Parking Brake Cable Release Tool

Removal Procedure

Caution: Refer to Brake Dust Caution in the Preface section.


    Object Number: 175010  Size: SH
  1. Raise and support the vehicle. Refer to Lifting and Jacking the Vehicle in General Information.
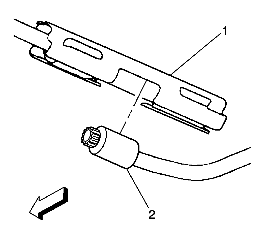
  2. Disconnect the right rear park brake cable (2) from the cable connector (1).

  3. Object Number: 486684  Size: SH
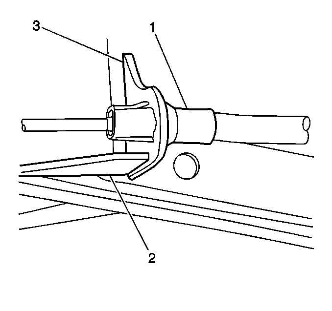
  4. Disconnect the right rear park brake cable (1) from the bracket (3) using the J 37043 .

  5. Object Number: 176311  Size: SH
  6. Remove the tire and wheel assembly. Refer to Tire and Wheel Removal and Installation in Tires and Wheels.
  7. Remove the brake drum. Refer to Brake Drum Replacement in Drum Brakes.
  8. Remove the Brake shoes (1). Refer to Brake Shoe Replacement in Drum Brakes.
  9. Disconnect the cable from the parking brake lever (7).
  10. Remove the cable from the backing plate (5) using the J 37043 .

Installation Procedure


    Object Number: 176311  Size: SH
  1. Install the cable to the backing plate (5).
  2. Connect the cable to the parking brake lever (7).
  3. Install the brake shoes. Refer to Brake Shoe Replacement in Drum Brakes.
  4. Install the brake drum. Refer to Brake Drum Replacement in Drum Brakes.
  5. Parking brake adjustment is not necessary. This is a self adjusting system and damage may result from attempting to adjust or modify this system in any way. It may be necessary to adjust the rear brakes to obtain the proper tension in the system.
  6. Install the tire and wheel assembly. Refer to Tire and Wheel Removal and Installation in Tires and Wheels.

  7. Object Number: 486684  Size: SH
  8. Connect the right rear park brake cable (1) to the bracket (3).

  9. Object Number: 175010  Size: SH
  10. Connect the right rear park brake cable (2) to the cable connector (1).
  11. Lower the vehicle.