GM Service Manual Online
For 1990-2009 cars only
Figure 1:

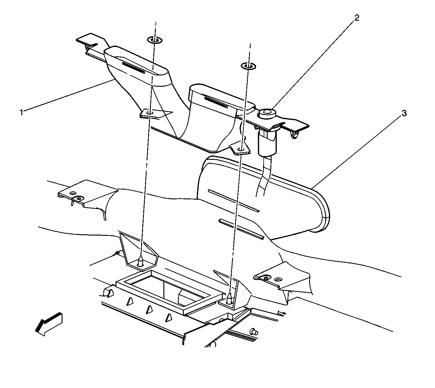
Rear Package Shelf


Object Number: 461273  Size: LF
(1)Rear Compartment Courtesy Lamp
Figure 2:

I/P Compartment Lamp/Switch


Object Number: 612512  Size: LF
(1)I/P Compartment Lamp/Switch
(2)I/P Compartment Lamp/Switch Connector
Figure 3:

Under the Right Side of the Instrument Panel


Object Number: 584875  Size: LF
(1)Blower Motor Resistor Assembly Connector
(2)Blower Motor
(3)Right I/P Fuse Block
(4)Inflatable Restraint I/P Module Connector
(5)SP204, G204 (prior to 2004 model year)
(6)SP203, G203
(7)Courtesy Lamp - Right
(8)Body Control Module (BCM)
Figure 4:

Left Side of the Instrument Panel


Object Number: 614711  Size: LF
(1)Turn Signal/Multifunction Switch
(2)Steering Column Assembly
(3)Turn Signal/Multifunction Switch Connectors
Figure 5:

In Front of the Engine Compartment


Object Number: 614708  Size: LF
(1)Headlamp Assembly -- Left (Right Similar)
Figure 6:

Left Front of Fascia, Right Front Similar


Object Number: 264377  Size: LF
(1)Marker Lamp - LF, RF Similar
(2)Lamp Assembly - LF, RF Similar
(3)Fog Lamp - LF, RF Similar (T96)
(4)Park/Turn Signal Lamp - LF, RF Similar
Figure 7:

Rear of Front Impact Bar


Object Number: 264387  Size: LF
(1)Forward Lamp Harness
(2)Daytime Running Lamps (DRL) Resistor
Figure 8:

Rear of the Engine Compartment, Front of Dash


Object Number: 264420  Size: LF
(1)I/P Dimming Module
Figure 9:

Left I/P Fuse Block


Object Number: 264423  Size: LF
(1)Fog Lamp Switch
(2)I/P Dimmer Switch
(3)I/P Fuse Block Connector, Left Side
Figure 10:

Top of the Dash Trim Pad


Object Number: 264433  Size: LF
(1)Defroster Nozzle
(2)Ambient Light Sensor
(3)Cross Car Duct
Figure 11:

Center of the I/P


Object Number: 793422  Size: LF
(1)Hazard Switch
Figure 12:

Under the Center Console


Object Number: 264437  Size: LF
(1)Brake Transmission Shift Interlock (BTSI) Solenoid
(2)Transaxle Shift Indicator Lamp
Figure 13:

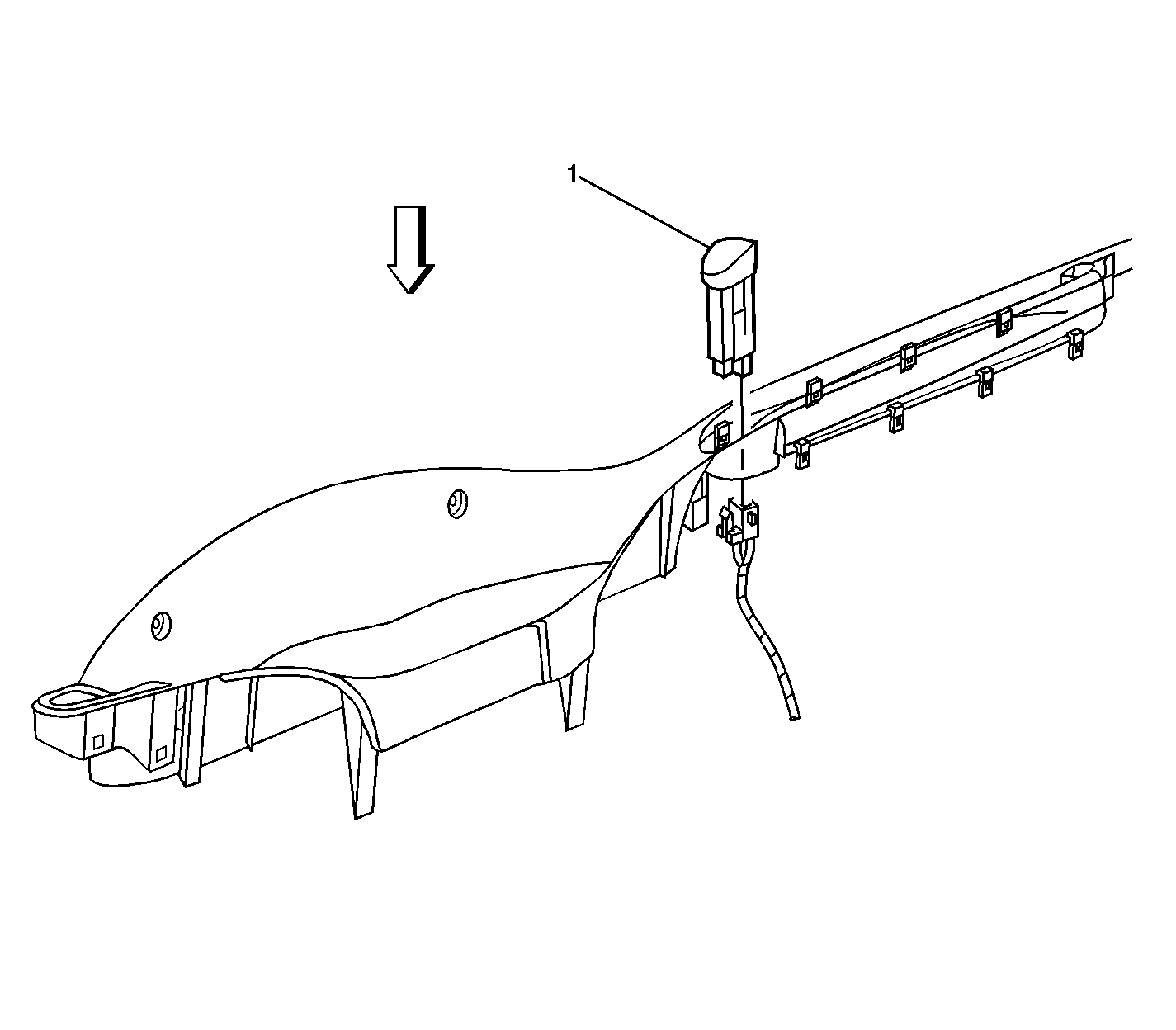
Headliner


Object Number: 264448  Size: LF
(1)Headliner Harness
(2)Rear View Mirror Reading Lamps Connector
(3)Dome Lamp Connector
Figure 14:

Rear Impact Bar


Object Number: 264456  Size: LF
(1)Tail/Stop and Turn Signal Lamp Connector - Right
(2)License Lamp
(3)Tail/Stop and Turn Signal Lamp Connector - Left
Figure 15:

Center High Mounted Stop Lamp Assembly


Object Number: 793203  Size: LF
(1)Center High Mounted Stop Lamp (CHMSL) Assembly
Figure 16:

Center High Mounted Stop Lamp - Spoiler Mounted


Object Number: 793207  Size: LF
(1)Center High Mounted Stop Lamp (CHMSL) - Spoiler Mounted