GM Service Manual Online
For 1990-2009 cars only
Makes
🢒
Chevrolet
🢒
2005
🢒
Classic
🢒 Headlights
Headlights
Headlights
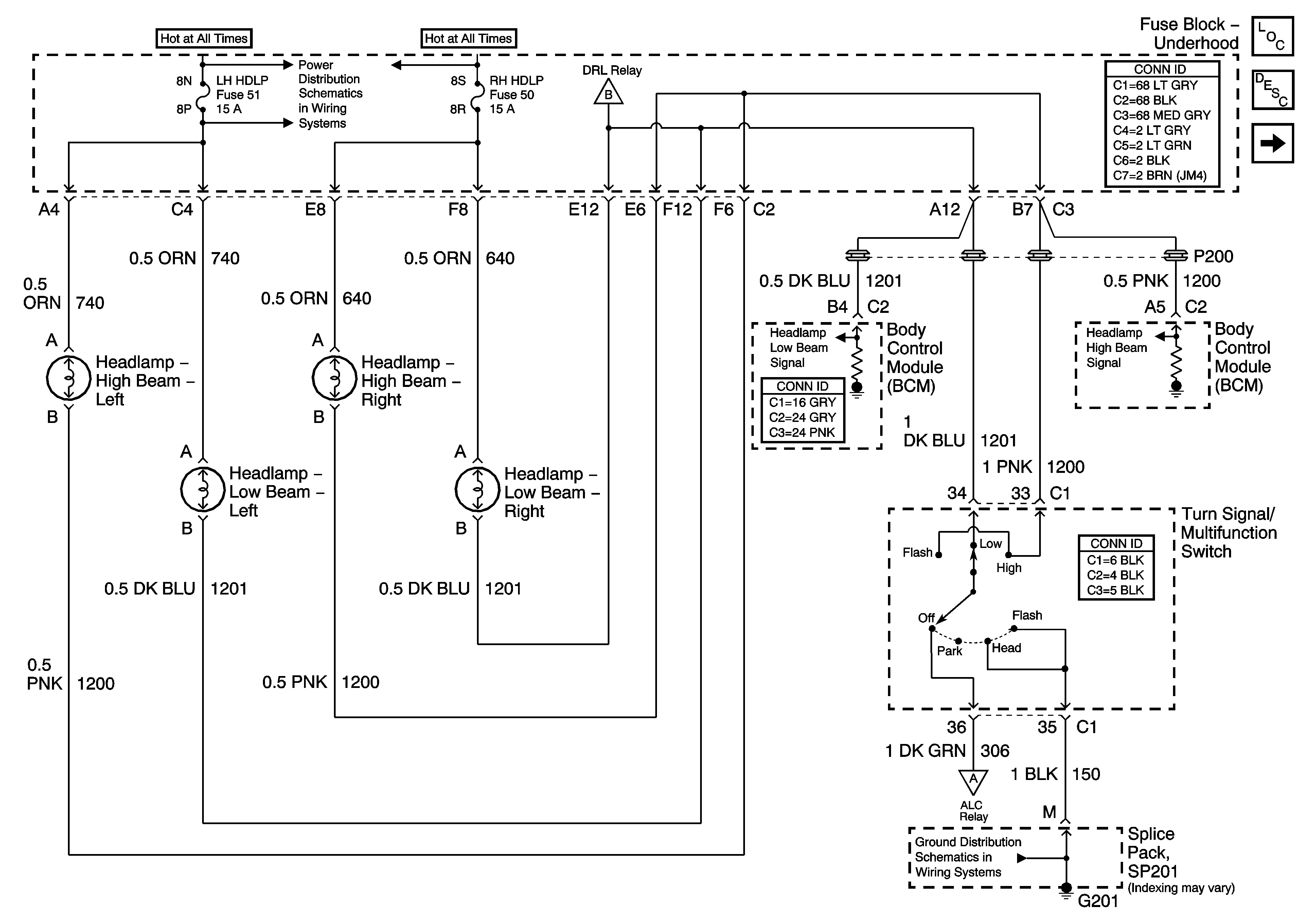
Master Electrical Component List
Exterior Lighting Systems Description and Operation
DRL and ALC Relay
RH HDLP, LH HDLP, and GEN BATT Fuses
DRL and ALC Relay
DRL and ALC Relay
SP201