GM Service Manual Online
For 1990-2009 cars only
Makes
🢒
Chevrolet
🢒
2005
🢒
Classic
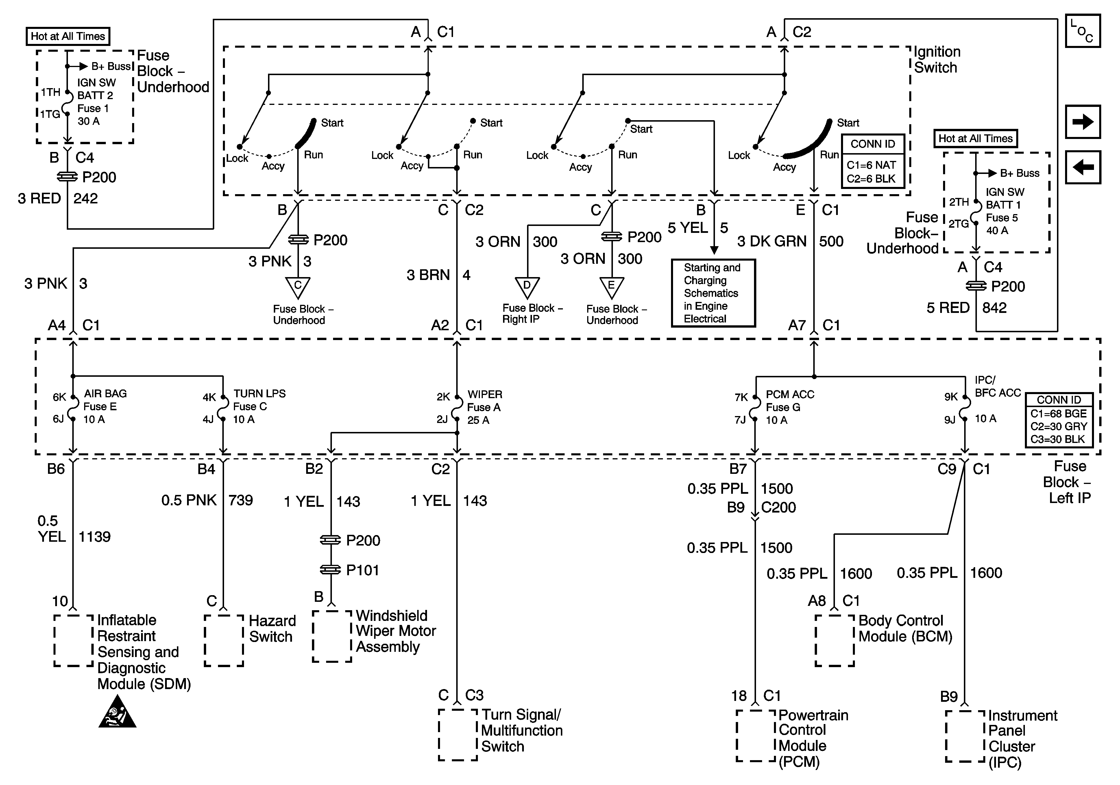
🢒 IGN BATT 1, IGN SW BATT 2, Ignition Switch
IGN BATT 1, IGN SW BATT 2, Ignition Switch
IGN BATT 1, IGN SW BATT 2, Ignition Switch
Master Electrical Component List
HTR A/C IGN and ERLS Fuses
B+ Bus Bar
B+ Bus Bar
IGN MOD, B/U LMP, PCM IGN, INJR, A/C FBC, AUTO TRANS, ABS IGN Fuses
CRUISE SW, CRUISE, SUNROOF, and HVAC BLOWER Fuses
HTR A/C IGN and ERLS Fuses
Starting System
B+ Bus Bar
Power and Grounding Schematic Icons