GM Service Manual Online
For 1990-2009 cars only
Makes
🢒
Chevrolet
🢒
2005
🢒
Classic
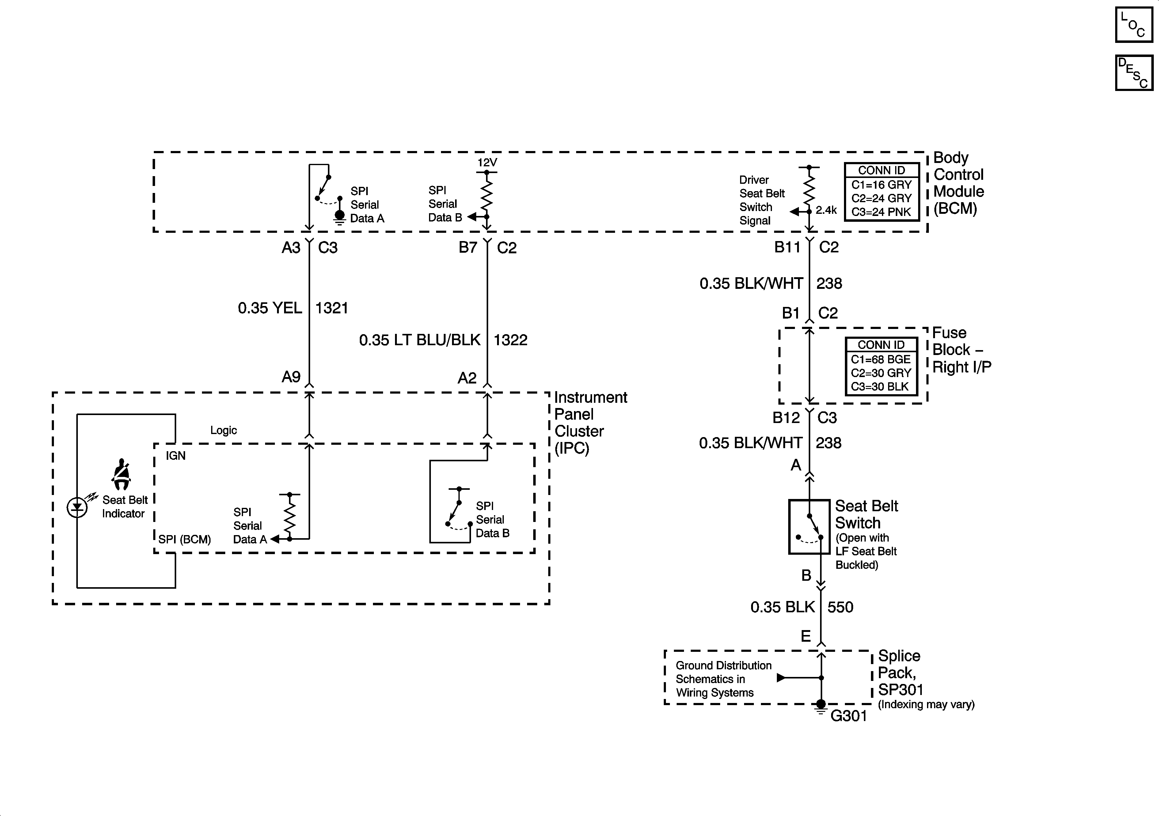
🢒 Seat Belts Schematics
Seat Belts Schematics
Master Electrical Component List
Seat Belt System Description and Operation
SP301