GM Service Manual Online
For 1990-2009 cars only

Removal Procedure

  1. Open the door.
  2. Mark the position of the striker with a grease pencil.

  3. Object Number: 276399  Size: SH
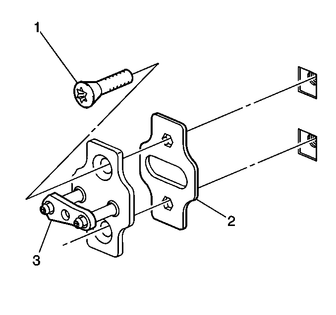
  4. Remove the door lock striker bolts (1).
  5. Remove the door lock striker (3). and the door lock striker spacers  (2) from the body.

Installation Procedure


    Object Number: 276399  Size: SH

    Notice: Striker alignment is a crucial part of door latch operation. Do not use the door striker to adjust the door to the vehicle. Failure to properly adjust the striker can result in damage to the door latch and the striker.

  1. Position the door lock striker spacers (2) and the door lock striker (3) to the alignment marks made on the body
  2. Notice: Use the correct fastener in the correct location. Replacement fasteners must be the correct part number for that application. Fasteners requiring replacement or fasteners requiring the use of thread locking compound or sealant are identified in the service procedure. Do not use paints, lubricants, or corrosion inhibitors on fasteners or fastener joint surfaces unless specified. These coatings affect fastener torque and joint clamping force and may damage the fastener. Use the correct tightening sequence and specifications when installing fasteners in order to avoid damage to parts and systems.

  3. Install the door lock striker bolts (1).
  4. Tighten
    Tighten the bolts to 25 N·m (18 lb ft).

  5. Close the door.