GM Service Manual Online
For 1990-2009 cars only
Makes
🢒
Chevrolet
🢒
2005
🢒
Cobalt
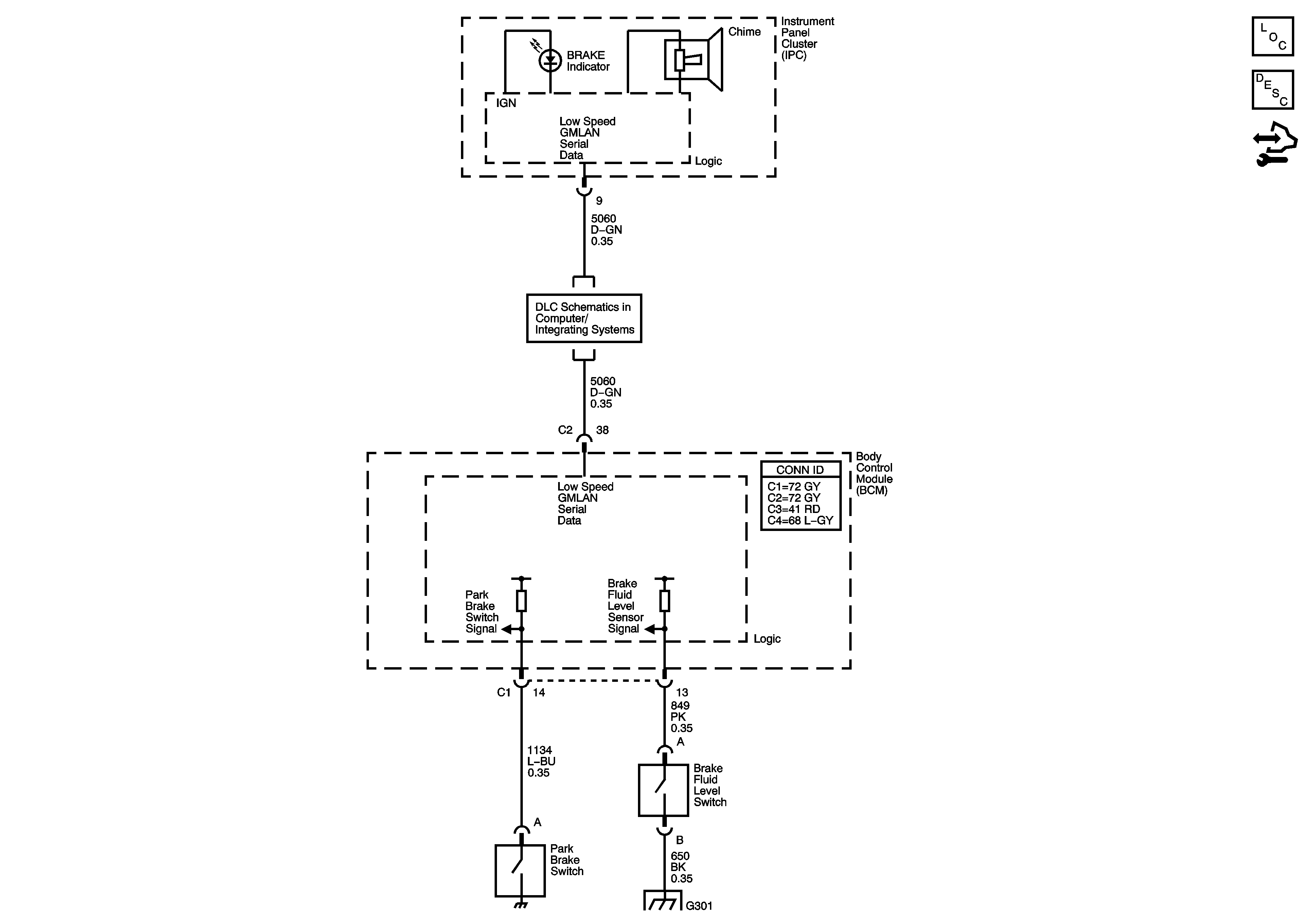
🢒 Brake Warning Schematic
Brake Warning Schematic
Master Electrical Component List
Brake Warning System Description and Operation
Control Module References
DLC Power, Ground, and Low Speed GMLAN
G301 - 2 of 2