GM Service Manual Online
For 1990-2009 cars only

Important: 

   • Always use replacement cables that are of the same type, diameter and length of the cables that are being replaced.
   • Always route the replacement cable the same way as the original cable.

Removal Procedure

  1. Disconnect the battery negative cable. Refer to Battery Negative Cable Disconnection and Connection .

  2. Object Number: 1313635  Size: SH
  3. Remove the bolt (3) securing the battery negative cable (1) to the battery tray (2).

  4. Object Number: 1313637  Size: SH
  5. Open the battery cable harness retainer (4) at the battery tray (1).
  6. Remove the battery negative cable from the upper portion of the battery cables harness conduit.
  7. Raise and support the vehicle only high enough to access the remainder of the cable through the wheelhouse. Refer to Lifting and Jacking the Vehicle in General Information.
  8. Remove the left wheelhouse liner. Refer to Front Wheelhouse Liner Replacement in Body Front End.

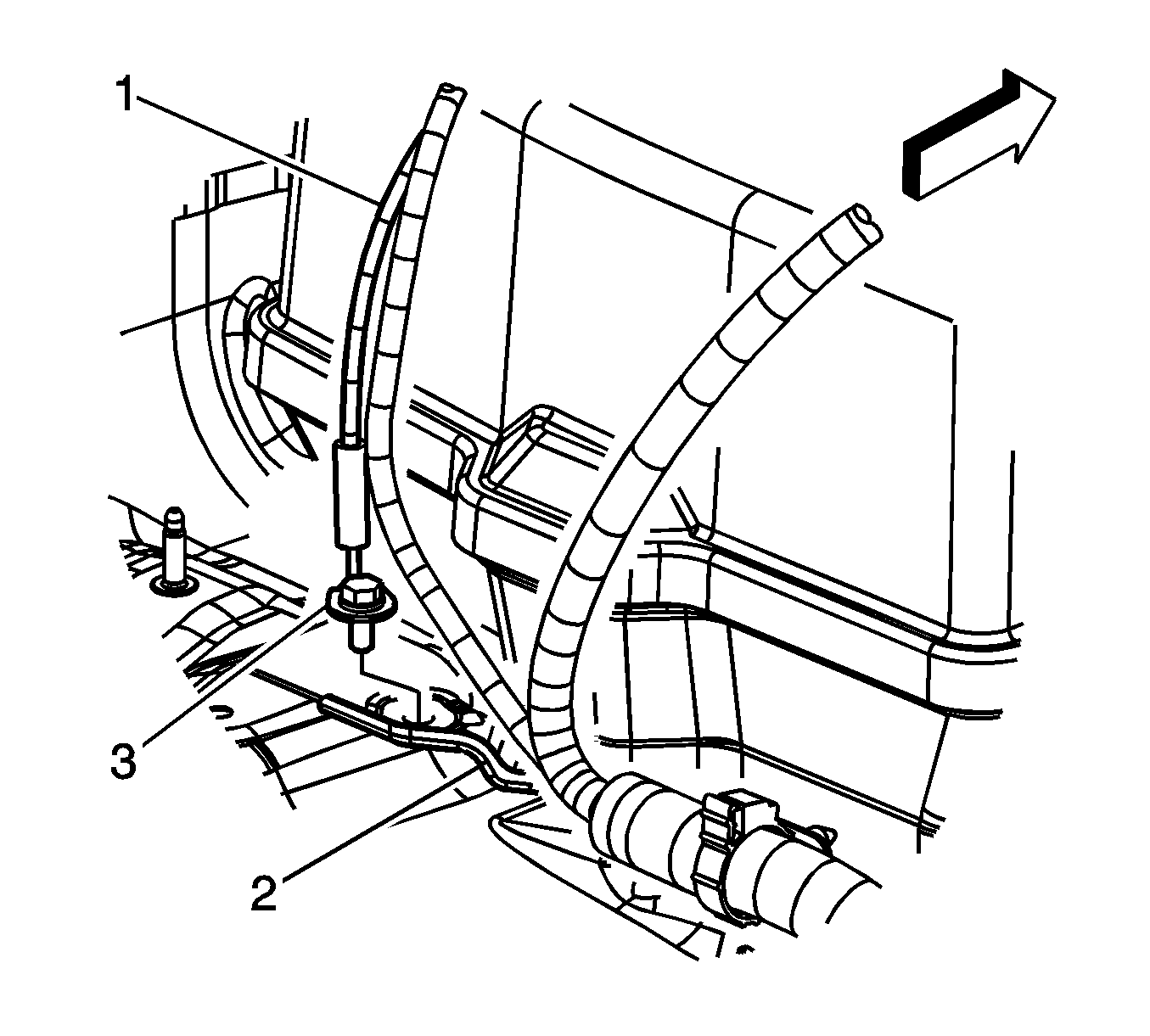
  9. Object Number: 1313636  Size: SH
  10. Remove the bolt (4) securing the battery negative cable (3) to the engine block (1).
  11. Open the battery cable harness retainer at the engine wiring harness bracket.
  12. Remove the battery negative cable (3) from the battery cables harness conduit (2).

Installation Procedure


    Object Number: 1313636  Size: SH
  1. Insert the battery negative cable (3) into the battery cables harness conduit (2).
  2. Close the battery cable harness retainer at the engine wiring harness bracket.
  3. Notice: Refer to Fastener Notice in the Preface section.

  4. Install the bolt (4) securing the battery negative cable (3) to the engine block (1).
  5. Tighten
    Tighten the battery negative cable to engine block bolt to 35 N·m (26 lb ft).

  6. Install the left wheelhouse liner. Refer to Front Wheelhouse Liner Replacement in Body Front End.
  7. Lower the vehicle.

  8. Object Number: 1313637  Size: SH
  9. Insert the battery negative cable into the upper portion of the battery cables harness conduit.
  10. Close the battery cable harness retainer (4) at the battery tray (1).

  11. Object Number: 1313635  Size: SH
  12. Install the bolt (3) securing the battery negative cable (1) to the battery tray (2).
  13. Tighten
    Tighten the battery negative cable to battery tray bolt to 9 N·m (80 lb in).

  14. Connect the battery negative cable. Refer to Battery Negative Cable Disconnection and Connection .