GM Service Manual Online
For 1990-2009 cars only

    Object Number: 858363  Size: SH
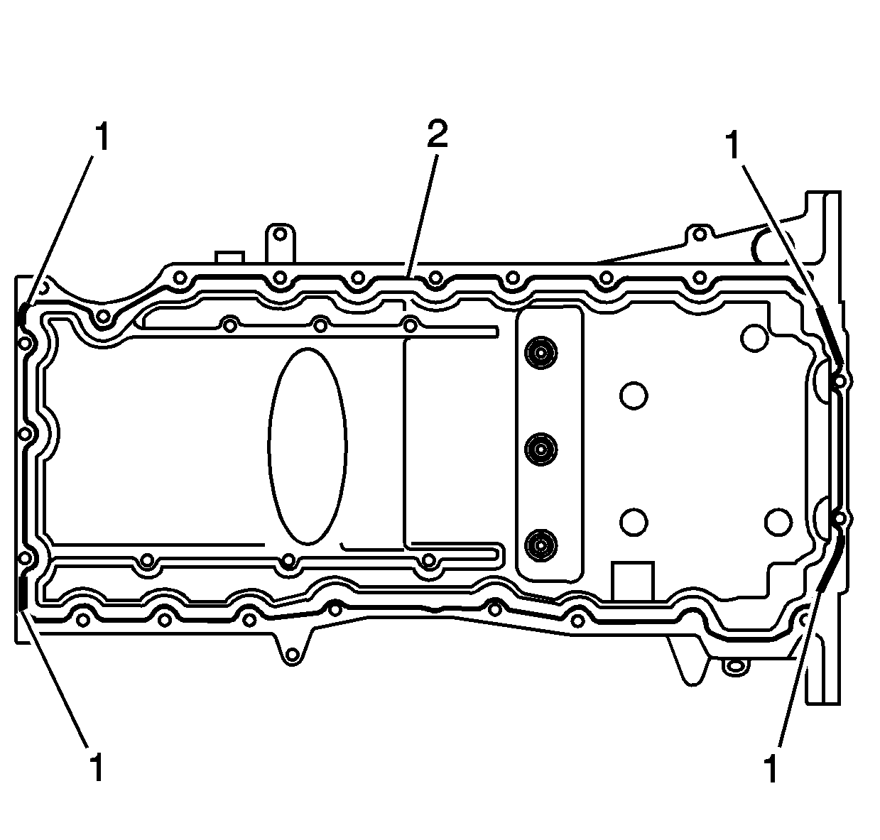
  1. Apply a 5.5 mm (0.22 in) bead of sealer GM P/N 12378521 (Canadian P/N 88901148) or equivalent, to the oil pan in areas marked (1).
  2. Apply a 3 mm (0.12 in) bead of sealer GM P/N 12378521 (Canadian P/N 88901148) to the oil pan area marked (2).

  3. Object Number: 953957  Size: SH

    Important: The oil pan must be installed within 10 minutes from when the sealer was applied.

  4. Install the oil pan.
  5. Install the oil pan bolts.

  6. Object Number: 858365  Size: SH

    Important: When installing the oil pan, it could be shifted front or back a little which could cause a transmission alignment problem. The back of the oil pan needs to be flush with the block.

  7. Check the oil pan alignment. Use a straight edge on the back of the block and oil pan (transmission mounting surface).
  8. Notice: Use the correct fastener in the correct location. Replacement fasteners must be the correct part number for that application. Fasteners requiring replacement or fasteners requiring the use of thread locking compound or sealant are identified in the service procedure. Do not use paints, lubricants, or corrosion inhibitors on fasteners or fastener joint surfaces unless specified. These coatings affect fastener torque and joint clamping force and may damage the fastener. Use the correct tightening sequence and specifications when installing fasteners in order to avoid damage to parts and systems.

  9. Tighten the oil pan bolts.
  10. Tighten

        • Tighten the (side) oil pan bolts to 25 N·m (18 lb ft).
        • Tighten the (end) oil pan bolts to 10 N·m (89 lb in).