GM Service Manual Online
For 1990-2009 cars only

Special Tools

    • J 25025-B Pump and Valve Body Alignment Pin Set
    • J 36850 Transjel Lubricant

Removal Procedure

  1. Remove the transmission oil pan and filter. Refer to Automatic Transmission Fluid and Filter Replacement.
  2. Important: The 1-2 accumulator can be removed without removing the control valve assembly.

  3. Remove the control valve body. Refer to Valve Body and Pressure Switch Replacement.

  4. Object Number: 1403685  Size: SH
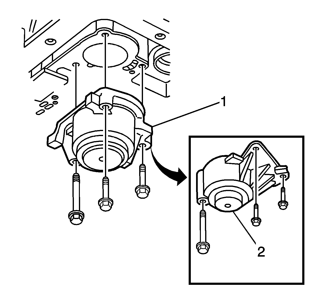
  5. Remove the accumulator cover retaining bolts.
  6. Remove the 1-2 accumulator cover assembly.
  7. • RWD (1)
    • 4WD (2)

    Object Number: 298151  Size: SH
  8. Disassemble the 1-2 accumulator.
  9. 5.1. Blow compressed air into the 1-2 accumulator cover, as shown, to remove the 1-2 accumulator piston.
    5.2. Remove the 1-2 accumulator inner and outer springs.
  10. Inspect the 1-2 accumulator inner and outer springs for cracks.

  11. Object Number: 298143  Size: SH
  12. Remove the 1-2 accumulator piston seal (1) from the 1-2 accumulator piston.
  13. Inspect the 1-2 accumulator piston for the following defects:
  14. • Porosity
    • Cracks
    • Scoring
    • Nicks and scratches

    Object Number: 7734  Size: SH
  15. Inspect the 1-2 accumulator cover for the following defects:
  16. • Porosity
    • Cracks
    • Scoring
    • Nicks and scratches

    Object Number: 1403684  Size: SH
  17. Remove the spacer plate support retaining bolts.
  18. • RWD (4)
    • 4WD (3, 4)

    Important: Use care not to drop the following items that will be removed along with the spacer plate:

       • The number 1 checkball
       • The 3-4 accumulator spring

  19. Remove the spacer plate support.
  20. • RWD (1)
    • 4WD (2)

    Object Number: 14469  Size: SH
  21. Remove the following:
  22. • The spacer plate to valve body gasket
    • The spacer plate
    • The spacer plate to transmission case gasket

    Object Number: 647519  Size: SH
  23. Remove the 3-4 accumulator piston (2).
  24. Inspect the 3-4 accumulator spring for cracks.

  25. Object Number: 298143  Size: SH
  26. Remove the 3-4 accumulator piston seal (1) from the 3-4 accumulator piston.
  27. Inspect the 3-4 accumulator piston for the following defects:
  28. • Porosity
    • Cracks
    • Scoring
    • Nicks and scratches

Installation Procedure


    Object Number: 298143  Size: SH
  1. Install a new 3-4 accumulator piston seal (1) to the 3-4 accumulator piston.

  2. Object Number: 647519  Size: SH
  3. Install the 3-4 accumulator piston (2) onto the pin (1) in the transmission case.
  4. Ensure that the 3-4 accumulator piston legs face away from the transmission case.


    Object Number: 686979  Size: SH
  5. Install the J 25025-B  (2, 3) to the transmission case.

  6. Object Number: 686994  Size: SH
  7. Install the spacer plate to transmission case gasket and the spacer plate to valve body gasket to the spacer plate; use J 36850 in order to retain the gaskets to the spacer plate.
  8. • The case gasket is identified by a CA.
    • Be sure to place the case gasket on the transmission case side of the spacer plate.
    •  The valve body gasket is identified by a VB.
    • Be sure to place the valve body gasket on the valve body side of the spacer plate.
  9. Ensure that the solenoid screens (1, 2) are in place on the spacer plate.
  10. Use a small amount of J 36850 in order to retain the checkball (3) on the spacer plate in the location shown.
  11. Place the 3-4 accumulator spring (4) on the spacer plate.
  12. Install the spacer plate and related components to the transmission.
  13. Look through the hole in the spacer plate to ensure that the checkball has remained in the proper location (4WD only).
  14. Notice: Refer to Fastener Notice in the Preface section.


    Object Number: 1403684  Size: SH
  15. Install the spacer plate support and the spacer plate support retaining bolts.
  16. Tighten
    Tighten the spacer plate support retaining bolts to 11 N·m (97 lb in).

    • RWD (1)
    • 4WD (2)

    Object Number: 687023  Size: SH
  17. After installing the spacer plate support (2), look through the hole in the spacer plate to ensure that the checkball (1) has remained in the proper location (RWD only).

  18. Object Number: 298143  Size: SH
  19. Install a new 1-2 accumulator piston seal (1) to the 1-2 accumulator piston.

  20. Object Number: 71462  Size: SH
  21. Install the 1-2 accumulator inner and outer springs to the 1-2 accumulator cover.
  22. Install the 1-2 accumulator piston onto the pin in the 1-2 accumulator cover.
  23. Ensure that the piston legs face the accumulator cover.


    Object Number: 1403685  Size: SH
  24. Install the 1-2 accumulator cover and the accumulator cover retaining bolts.
  25. Tighten
    Tighten the accumulator cover retaining bolts to 11 N·m (97 lb in).

    • RWD (1)
    • 4WD (2)
  26. Remove the J 25025-B from the transmission case.
  27. Install the control valve body. Refer to Valve Body and Pressure Switch Replacement.
  28. Install the transmission filter and oil pan. Refer to Automatic Transmission Fluid and Filter Replacement.
  29. Important: It is recommended that transmission adaptive pressure (TAP) information be reset.

    Resetting the TAP values using a scan tool will erase all learned values in all cells. As a result, The ECM, PCM or TCM will need to relearn TAP values. Transmission performance may be affected as new TAP values are learned.

  30. Reset the TAP values. Refer to Transmission Adaptive Functions.