GM Service Manual Online
For 1990-2009 cars only

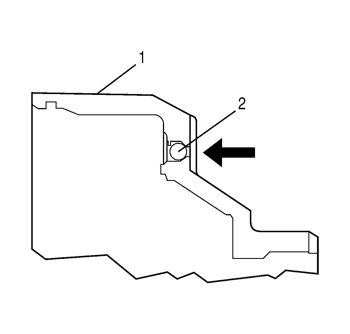
    Object Number: 1217150  Size: SH

    Important: Replace the 1-2-3-4 clutch piston housing if the housing is damaged or does not meet specifications.

  1. Inspect 1-2-3-4 clutch housing piston (1) for damage.
  2. Make sure the 1-2-3-4 clutch piston housing check ball (2) moves freely and has a minimum of 1.0 mm (0.04 in) travel parallel to the centerline of the 1-2-3-4 clutch piston housing.