GM Service Manual Online
For 1990-2009 cars only
Makes
🢒
Chevrolet
🢒
2004
🢒
Colorado Pickup - 2WD
🢒 Content Theft Deterrent
Content Theft Deterrent
Content Theft Deterrent
Master Electrical Component List
Theft Systems Description and Operation
Vehicle Theft Deterrent
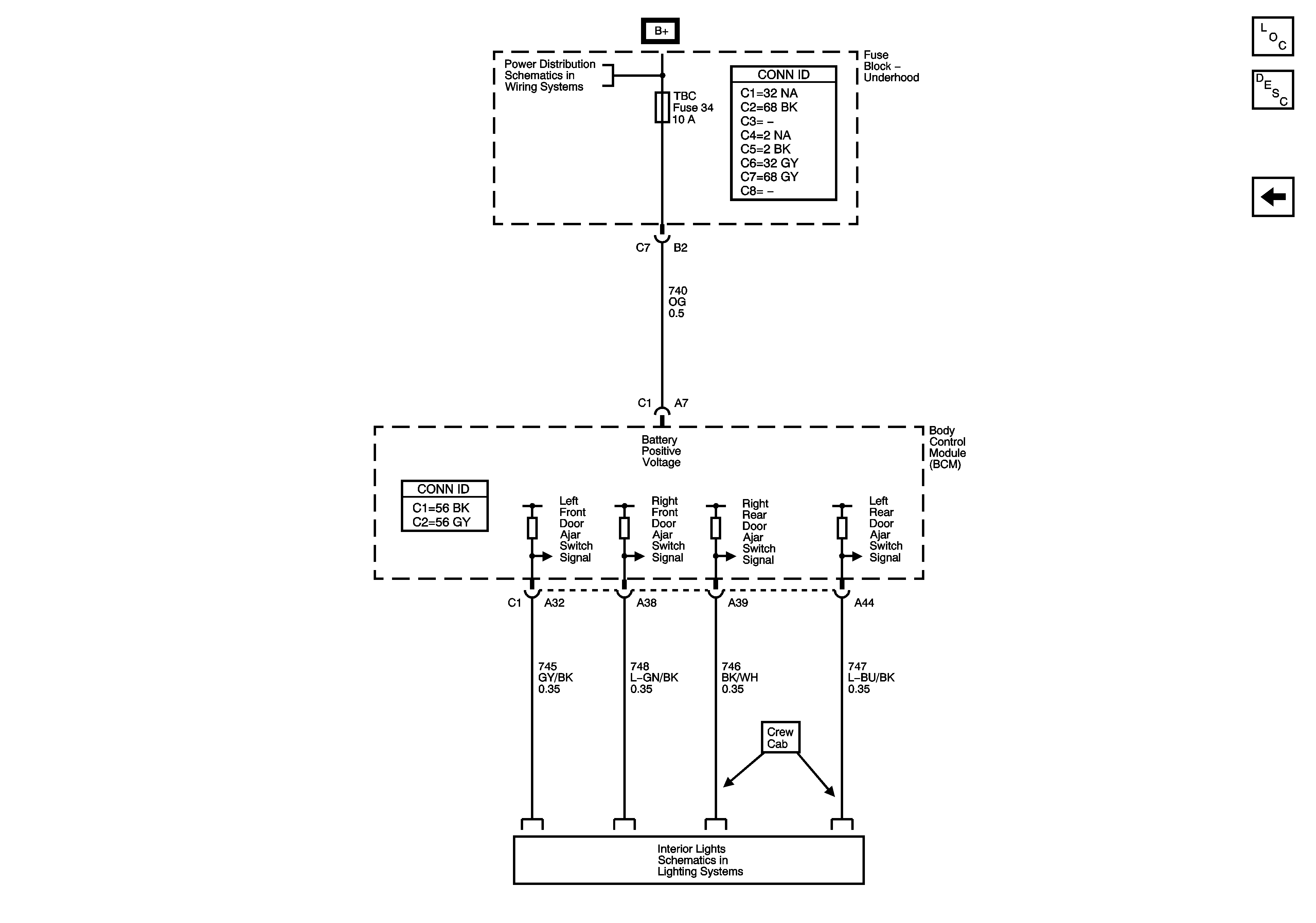
B+ Bus - Underhood Fuse Block
Door Jamb Switches