GM Service Manual Online
For 1990-2009 cars only
Table 1: Accelerator Pedal Position (APP) Sensor
Table 2: Camshaft Position (CMP) Actuator Solenoid - Bank 1 Exhaust
Table 3: Camshaft Position (CMP) Sensor
Table 4: Crankshaft Position (CKP) Sensor
Table 5: Engine Coolant Temperature (ECT) Sensor
Table 6: Evaporative Emission (EVAP) Canister Purge Solenoid
Table 7: Evaporative Emission (EVAP) Canister Vent Solenoid
Table 8: Fuel Injector 1
Table 9: Fuel Injector 2
Table 10: Fuel Injector 3
Table 11: Fuel Injector 4
Table 12: Fuel Pump and Sender Assembly
Table 13: Fuel Tank Pressure (FTP) Sensor
Table 14: Heated Oxygen Sensor (HO2S) 1
Table 15: Heated Oxygen Sensor (HO2S) 2
Table 16: Ignition Coil 1
Table 17: Ignition Coil 2
Table 18: Ignition Coil 3
Table 19: Ignition Coil 4
Table 20: Intake Air Temperature (IAT)/Mass Air Flow (MAF) Sensor
Table 21: Knock Sensor (KS)
Table 22: Manifold Absolute Pressure (MAP) Sensor
Table 23: Throttle Body

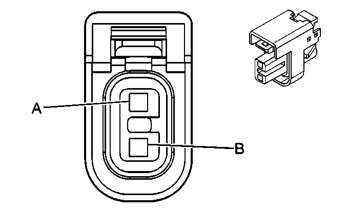
Accelerator Pedal Position (APP) Sensor


Object Number: 1334452  Size: CH

Connector Part Information

    • 15383136
    • 6-Way F Sealed (BK)

Pin

Wire Color

Circuit No.

Function

1

PU

1272

Low Reference

2

WH/BK

1164

5-Volt Reference

3

D-BU

1161

APP Sensor 1 Signal

4

BN

1271

Low Reference

5

TN

1274

5-Volt Reference

6

L-BU

1162

APP Sensor 2 Signal

Camshaft Position (CMP) Actuator Solenoid - Bank 1 Exhaust


Object Number: 523630  Size: CH

Connector Part Information

    • 15326801
    • 2-Way F GT 150 Series (BK)

Pin

Wire Color

Circuit No.

Function

A

GY

2702

5-Volt Reference

B

WH/BK

2257

Low Reference

Camshaft Position (CMP) Sensor


Object Number: 726825  Size: CH

Connector Part Information

    • 15355370
    • 3-Way F GT 150 Series Sealed 3.2X4.0 (BK)

Pin

Wire Color

Circuit No.

Function

A

RD

631

12-Volt Reference

B

BK

630

Camshaft Position Signal

C

PK/BK

632

Low Reference

Crankshaft Position (CKP) Sensor


Object Number: 1335529  Size: CH

Connector Part Information

    • 15374223
    • 2-Way F GT 150 Series Sealed (BK)

Pin

Wire Color

Circuit No.

Function

A

PU

574

Low Reference

B

YE

573

CKP Sensor 1 Signal

Engine Coolant Temperature (ECT) Sensor


Object Number: 523630  Size: CH

Connector Part Information

    • 15326801
    • 2-Way F GT 150 Series (BK)

Pin

Wire Color

Circuit No.

Function

A

BK

2761

Low Reference

B

YE

410

ECT Sensor Signal

Evaporative Emission (EVAP) Canister Purge Solenoid


Object Number: 684795  Size: CH

Connector Part Information

    • 12052643
    • 2-Way F Metri-Pack 150 Series Sealed (RD)

Pin

Wire Color

Circuit No.

Function

A

PK

439

Ignition 1 Voltage

B

D-GN/WH

428

EVAP Canister Purge Solenoid Control

Evaporative Emission (EVAP) Canister Vent Solenoid


Object Number: 684795  Size: CH

Connector Part Information

    • 12052643
    • 2-Way F Metri-Pack 150 Series Sealed (RD)

Pin

Wire Color

Circuit No.

Function

A

OG

1640

Battery Positive Voltage

B

WH

1310

EVAP Canister Vent Solenoid Control

Fuel Injector 1


Object Number: 366123  Size: CH

Connector Part Information

    • 15326181
    • 2-Way F

Pin

Wire Color

Circuit No.

Function

A

PK

839

Ignition 1 Voltage

B

BK

1744

Fuel Injector 1 Control

Fuel Injector 2


Object Number: 366123  Size: CH

Connector Part Information

    • 15326181
    • 2-Way F

Pin

Wire Color

Circuit No.

Function

A

PK

839

Ignition 1 Voltage

B

L-GN/BK

1745

Fuel Injector 2 Control

Fuel Injector 3


Object Number: 366123  Size: CH

Connector Part Information

    • 15326181
    • 2-Way F

Pin

Wire Color

Circuit No.

Function

A

PK

839

Ignition 1 Voltage

B

PK/BK

1746

Fuel Injector 3 Control

Fuel Injector 4


Object Number: 366123  Size: CH

Connector Part Information

    • 15326181
    • 2-Way F

Pin

Wire Color

Circuit No.

Function

A

PK

839

Ignition 1 Voltage

B

L-BU/BK

844

Fuel Injector 4 Control

Fuel Pump and Sender Assembly


Object Number: 684908  Size: CH

Connector Part Information

    • 15326631
    • 4-Way F GT 280 Series Sealed 5.8 (BK)

Pin

Wire Color

Circuit No.

Function

A

BK

850

Ground

B

PU

1589

Fuel Level Sensor Signal

C

BK

2759

Low Reference

D

GY

120

Fuel Pump Supply Voltage

Fuel Tank Pressure (FTP) Sensor


Object Number: 516611  Size: CH

Connector Part Information

    • 12059595
    • 3-Way F Metri-Pack 150 Series Sealed (BK)

Pin

Wire Color

Circuit No.

Function

A

BK

2759

Low Reference

B

D-GN

890

Fuel Tank Pressure Sensor Signal

C

GY

2709

5-Volt Reference

Heated Oxygen Sensor (HO2S) 1


Object Number: 655691  Size: CH

Connector Part Information

    • 12146046
    • 4-Way F Metri-Pack 150 Series (GY)

Pin

Wire Color

Circuit No.

Function

A

TN/WH

1653

HO2S Low Signal

B

D-GN

1655

HO2S High Signal

C

--

--

Not Available

D

PK

414

HO2S - Heater Elements - Supply Voltage

E

D-GN

676

HO2S Heater High Control

Heated Oxygen Sensor (HO2S) 2


Object Number: 280761  Size: CH

Connector Part Information

    • 12160825
    • 4-Way M Metri-Pack 150 Series (BK)

Pin

Wire Color

Circuit No.

Function

A

TN/WH

1669

HO2S Low Signal

B

PU/WH

1668

HO2S High Signal

C

BK/WH

1423

HO2S Heater Low Control

D

PK

414

HO2S - Heater Elements - Supply Voltage

Ignition Coil 1


Object Number: 726825  Size: CH

Connector Part Information

    • 15355370
    • 3-Way F GT 150 Series Sealed 3.2x4.0 (BK)

Pin

Wire Color

Circuit No.

Function

A

PK

239

Ignition 1 Voltage

B

PU

2121

IC 1 Control

C

BK

550

Ground

Ignition Coil 2


Object Number: 726825  Size: CH

Connector Part Information

    • 15355370
    • 3-Way F GT 150 Series Sealed 3.2x4.0 (BK)

Pin

Wire Color

Circuit No.

Function

A

PK

239

Ignition 1 Voltage

B

RD/WH

2122

IC 2 Control

C

BK

550

Ground

Ignition Coil 3


Object Number: 726825  Size: CH

Connector Part Information

    • 15355370
    • 3-Way F GT 150 Series Sealed 3.2x4.0 (BK)

Pin

Wire Color

Circuit No.

Function

A

PK

239

Ignition 1 Voltage

B

L-BU

2123

IC 3 Control

C

BK

550

Ground

Ignition Coil 4


Object Number: 726825  Size: CH

Connector Part Information

    • 15355370
    • 3-Way F GT 150 Series Sealed 3.2x4.0 (BK)

Pin

Wire Color

Circuit No.

Function

A

PK

239

Ignition 1 Voltage

B

D-GN/WH

2124

IC 4 Control

C

BK

550

Ground

Intake Air Temperature (IAT)/Mass Air Flow (MAF) Sensor


Object Number: 647974  Size: CH

Connector Part Information

    • 15326822
    • 5-Way F GT 150 Series Sealed 4.0 (BK)

Pin

Wire Color

Circuit No.

Function

A

YE

492

MAF Sensor Signal

B

BK/WH

451

Ground

C

PK

439

Ignition 1 Voltage

D

TN

472

IAT Sensor Signal

E

BK

2760

Low Reference

Knock Sensor (KS)


Object Number: 1232999  Size: CH

Connector Part Information

    • 15374222
    • 2-Way F GT 150 Series Sealed (NA)

Pin

Wire Color

Circuit No.

Function

A

D-BU

496

Knock Sensor Signal

B

GY

1716

Low Reference

Manifold Absolute Pressure (MAP) Sensor


Object Number: 684840  Size: CH

Connector Part Information

    • 12129946
    • 3-Way F Metri-Pack 150 Series Sealed (GY)

Pin

Wire Color

Circuit No.

Function

A

OG/BK

469

Low Reference

B

L-GN

432

MAP Sensor Signal

C

GY

2704

5-Volt Reference

Throttle Body


Object Number: 831368  Size: CH

Connector Part Information

    • 15326836
    • 8-Way F GT 150 Series Sealed (BK)

Pin

Wire Color

Circuit No.

Function

A

D-GN

485

TP Sensor 1 Signal

B

L-BU/BK

1688

5-Volt Reference

C

BK

2752

Low Reference

D

PU

486

TP Sensor 2 Signal

E

YE

581

TAC Motor Control - 1

F

BN

582

TAC Motor Control - 2

G

GY

2701

5-Volt Reference

H

BK/WH

1704

Low Reference