GM Service Manual Online
For 1990-2009 cars only
Makes
🢒
Chevrolet
🢒
2005
🢒
Colorado Pickup - 2WD
🢒
Vehicle Control Systems
🢒
Vehicle DTC Information
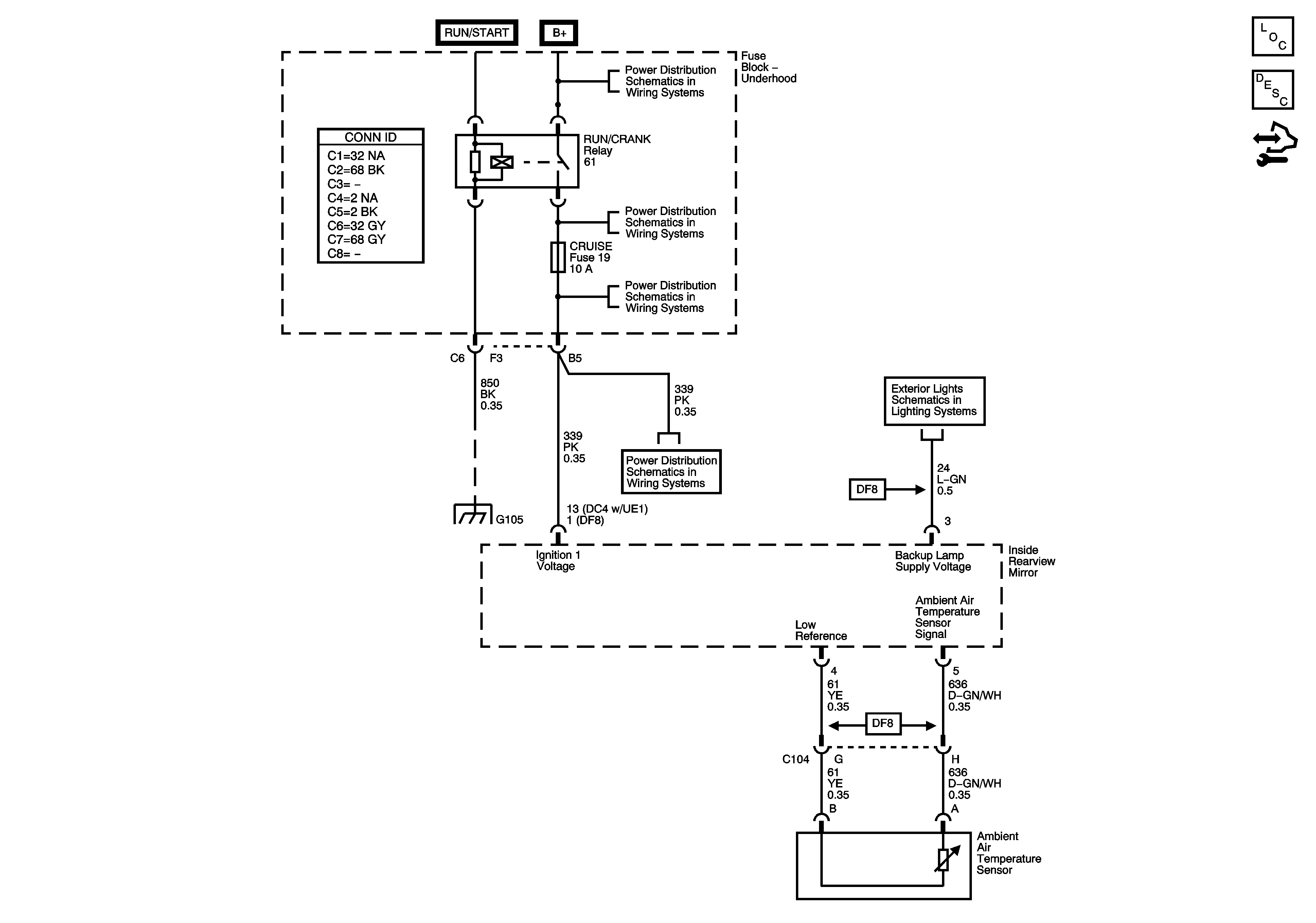
🢒 Inside Rearview Mirror Schematics
Master Electrical Component List
Automatic Day-Night Mirror Description and Operation
Body Control Module (BCM) Programming/RPO Configuration
B+ Bus - Underhood Fuse Block
RUN/CRANK Relay Bus - 1 of 3, CRUISE, SIR, and TRANS Fuses
RUN/CRANK Relay Bus - 1 of 3, CRUISE, SIR, and TRANS Fuses
Splice Pack SP105 and G105 - 1 of 2
RUN/CRANK Relay Bus - 1 of 3, CRUISE, SIR, and TRANS Fuses
Backup Lamps