GM Service Manual Online
For 1990-2009 cars only

Front Side Door Emblem/Nameplate Replacement Canyon

Tools Required

J 25070 Heat Gun

Removal Procedure

    Important: Use the tape for protection and alignment marks for alignment of the new emblem.

  1. Apply tape to the area around the door emblem.
  2. Heat the emblem/nameplate, using a J 25070 ,152 mm (6 in) from the surface.
  3. Apply the heat using a circular motion for about 30 seconds.
  4. Notice: Use a plastic, flat-bladed tool to prevent paint damage when removing an emblem/name plate.

  5. Remove the emblem/nameplate from the door surface using a plastic, flat-bladed tool.

  6. Object Number: 321645  Size: SH
  7. Remove all adhesive from the door panel surface and the back of the emblem/nameplate using 3M™ scotch brite molding adhesive remover disk 3M™ P/N 07501 or equivalent.
  8. Clean the door surface using varnish makers and painters (VMP) naphtha.

Installation Procedure


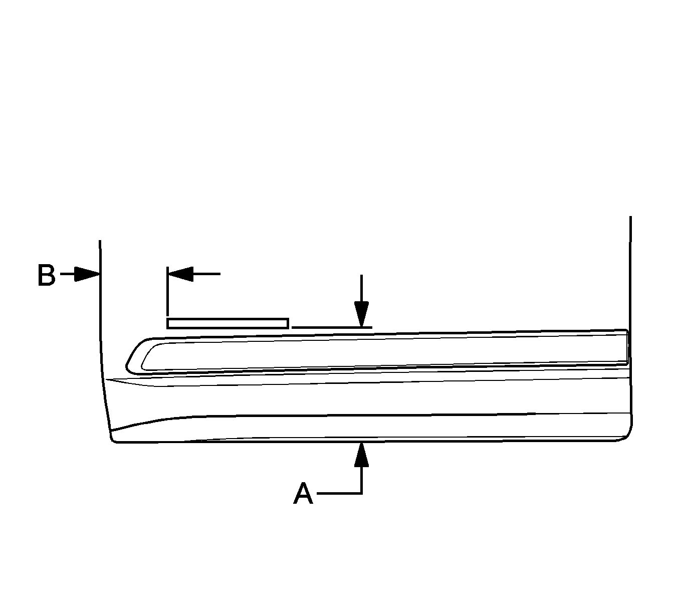
    Object Number: 1360548  Size: SH
  1. If the location of the emblem/nameplate has not been marked, apply tape and use the following dimensions:
  2. • Dimension (a) is 251 mm (9.88 in) from the bottom of the door to the emblem/nameplate.
    • Dimension (b) is 157 mm (6.18 in) from the front of the door to the front of the emblem/nameplate.
  3. Warm the door surface with a J 25070 ,152 mm (6 in) from the surface to a minimum of 21°C (70°F).
  4. Important: Do not touch the adhesive backing of the emblem/nameplate.

  5. Remove the backing from the front end of the emblem/nameplate.
  6. Press the emblem/nameplate to the door panel surface while continuing to remove the backing.
  7. Hand roll the emblem/nameplate to the door panel to ensure proper adhesion.
  8. Inspect the emblem/nameplate for bonding.
  9. Remove the tape from the area around the door emblem.

Front Side Door Emblem/Nameplate Replacement Colorado

Tools Required

J 25070 Heat Gun

Removal Procedure

    Important: Use the tape for protection and alignment marks for alignment of the new emblem.

  1. Apply tape to the area around the door emblem.
  2. Heat the emblem/nameplate, using a J 25070 , 152 mm (6 in) from the surface.
  3. Apply the heat using a circular motion for about 30 seconds.
  4. Notice: Use a plastic, flat-bladed tool to prevent paint damage when removing an emblem/name plate.

  5. Remove the emblem/nameplate from the door surface using a plastic, flat-bladed tool.

  6. Object Number: 321645  Size: SH
  7. Remove all adhesive from the door panel surface and the back of the emblem/nameplate using 3M™ scotch brite molding adhesive remover disk 3M™ P/N 07501 or equivalent.
  8. Clean the door surface using varnish makers and painters (VMP) naphtha.

Installation Procedure


    Object Number: 1360547  Size: SH
  1. If the location of the emblem/nameplate has not been marked, apply tape and use the following dimensions:
  2. • Dimension (a) is 166 mm (6.54 in) from the bottom of the door to the emblem/nameplate.
    • Dimension (b) is 117.4 mm (4.62 in) from the front of the door to the front of the emblem/nameplate.
  3. Warm the door surface with a J 25070 , 152 mm (6 in) from the surface to a minimum of 21°C (70°F).
  4. Important: Do not touch the adhesive backing of the emblem/nameplate.

  5. Remove the backing from the front end of the emblem/nameplate.
  6. Press the emblem/nameplate to the door panel surface while continuing to remove the backing.
  7. Hand roll the emblem/nameplate to the door panel to ensure proper adhesion.
  8. Inspect the emblem/nameplate for bonding.
  9. Remove the tape from the area around the door emblem.

Front Side Door Emblem/Nameplate Replacement XTREME

Tools Required

J 25070 Heat Gun

Removal Procedure

    Important: Use the tape for protection and alignment marks for alignment of the new emblem.

  1. Apply tape to the area around the door emblem.
  2. Heat the emblem/nameplate, using a J 25070 , 152 mm (6 in) from the surface.
  3. Apply the heat using a circular motion for about 30 seconds.
  4. Notice: Use a plastic, flat-bladed tool to prevent paint damage when removing an emblem/name plate.

  5. Remove the emblem/nameplate from the door surface using a plastic, flat-bladed tool.

  6. Object Number: 1530873  Size: SH
  7. Remove all adhesive from the door panel surface and the back of the emblem/nameplate using 3M™ scotch brite molding adhesive remover disk 3M™ P/N 07501 or equivalent.
  8. Clean the door surface using varnish makers and painters (VMP) naphtha.

Installation Procedure


    Object Number: 1530873  Size: SH
  1. If the location of the emblem/nameplate has not been marked, apply tape and use the following dimensions:
  2. • Dimension (a) is 145.0 mm (5.70 in) from the front of the door to the emblem/nameplate.
    • Dimension (b) is 165.0 mm (6.50 in) from the bottom of the door to the front of the emblem/nameplate.
    • Dimension (c) is 28.0 mm (1.11 in) from the feature line of the door to the front of the emblem/nameplate.
  3. Warm the door surface with a J 25070 , 152 mm (6 in) from the surface to a minimum of 21°C (70°F).
  4. Important: Do not touch the adhesive backing of the emblem/nameplate.

  5. Remove the backing from the front end of the emblem/nameplate.
  6. Press the emblem/nameplate to the door panel surface while continuing to remove the backing.
  7. Hand roll the emblem/nameplate to the door panel to ensure proper adhesion.
  8. Inspect the emblem/nameplate for bonding.
  9. Remove the tape from the area around the door emblem.