GM Service Manual Online
For 1990-2009 cars only
Table 1: Ambient Light Sensor
Table 2: Backup Lamp - Left
Table 3: Backup Lamp - Right
Table 4: Backup Lamp Switch (MA5)
Table 5: Cargo Lamp - Left
Table 6: Cargo Lamp - Right
Table 7: Center High Mounted Stop Lamp (CHMSL) - Left
Table 8: Center High Mounted Stop Lamp (CHMSL) - Right
Table 9: Courtesy Lamp - Footwell Left
Table 10: Courtesy Lamp - Footwell Right
Table 11: Dome Lamp
Table 12: Door Jamb Switch - Driver
Table 13: Door Jamb Switch - Front Passenger
Table 14: Door Jamb Switch - LR (Crew Cab)
Table 15: Door Jamb Switch - RR (Crew Cab)
Table 16: Fog Lamp - LF
Table 17: Fog Lamp - RF
Table 18: Hazard Switch
Table 19: Headlamp - High Beam - Left (TT5)
Table 20: Headlamp - High Beam - Right (TT5)
Table 21: Headlamp - LH (w/o TT5)
Table 22: Headlamp - Low Beam - Left (TT5)
Table 23: Headlamp - Low Beam - Right (TT5)
Table 24: Headlamp - RH (w/o TT5)
Table 25: Headlamp and Panel Dimmer Switch
Table 26: License Lamp - Left
Table 27: License Lamp - Right
Table 28: Park Lamp - LF
Table 29: Park Lamp - RF
Table 30: Park/Turn Signal Lamp - LF
Table 31: Park/Turn Signal Lamp - RF
Table 32: Stop Lamp - LR
Table 33: Stop Lamp - RR
Table 34: Stop Lamp Switch
Table 35: Trailer Connector (Trailer Accessory)
Table 36: Turn Signal Lamp - LR
Table 37: Turn Signal Lamp - RR

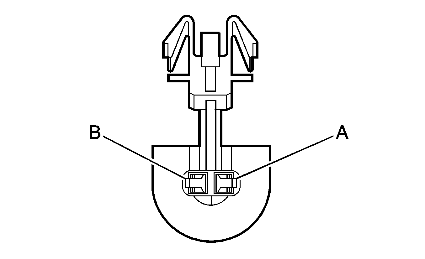
Ambient Light Sensor


Object Number: 82383  Size: CH

Connector Part Information

    • 12047662
    • 2-Way F Metri-Pack 150 Series (BK)

Pin

Wire Color

Circuit No.

Function

A

WH

278

Ambient Light Sensor Signal

B

BK

279

Ambient Light Sensor Low Reference

Backup Lamp - Left


Object Number: 877925  Size: CH

Connector Part Information

    • 16530668
    • 3-Way F (L-GY)

Pin

Wire Color

Circuit No.

Function

A

L-GN

--

Backup Lamp Supply Voltage

B

--

--

Not Used

G

BK

--

Ground

BK

--

Ground

Backup Lamp - Right


Object Number: 877925  Size: CH

Connector Part Information

    • 16530668
    • 3-Way F (L-GY)

Pin

Wire Color

Circuit No.

Function

A

L-GN

--

Backup Lamp Supply Voltage

B

--

--

Not Used

G

BK

--

Ground

BK

--

Ground

Backup Lamp Switch (MA5)


Object Number: 516604  Size: CH

Connector Part Information

    • 12103584
    • 2-Way M Weather-Pack (BK)

Pin

Wire Color

Circuit No.

Function

A

PK

539

Run/Crank Voltage

B

L-GN

24

Backup Lamp Supply Voltage

Cargo Lamp - Left


Object Number: 744036  Size: CH

Connector Part Information

    • 12110053
    • 2-Way F LP SOC Wedge Base Assembly (L-GY)

Pin

Wire Color

Circuit No.

Function

A

WH

690

Courtesy Lamps Supply Voltage

WH

690

Courtesy Lamps Supply Voltage

B

BK/WH

850

Ground

BK/WH

850

Ground

Cargo Lamp - Right


Object Number: 744036  Size: CH

Connector Part Information

    • 12110053
    • 2-Way F LP SOC Wedge Base Assembly (L-GY)

Pin

Wire Color

Circuit No.

Function

A

WH

690

Courtesy Lamps Supply Voltage

B

BK/WH

850

Ground

Center High Mounted Stop Lamp (CHMSL) - Left


Object Number: 744036  Size: CH

Connector Part Information

    • 12110053
    • 2-Way F LP SOC Wedge Base Assembly (L-GY)

Pin

Wire Color

Circuit No.

Function

A

BN

20

Stop Lamps Supply Voltage

BN

20

Stop Lamps Supply Voltage

B

BK/WH

850

Ground

BK/WH

850

Ground

Center High Mounted Stop Lamp (CHMSL) - Right


Object Number: 744036  Size: CH

Connector Part Information

    • 12110053
    • 2-Way F LP SOC Wedge Base Assembly (L-GY)

Pin

Wire Color

Circuit No.

Function

A

BN

20

Stop Lamps Supply Voltage

B

BK/WH

850

Ground

BK/WH

850

Ground

Courtesy Lamp - Footwell Left


Object Number: 1335537  Size: CH

Connector Part Information

    • 15437400
    • 2-Way F LP SOC Wedge (BK)

Pin

Wire Color

Circuit No.

Function

A

OG

1732

Courtesy Lamps Supply Voltage

B

WH

156

Courtesy Lamp Low Control

Courtesy Lamp - Footwell Right


Object Number: 1335537  Size: CH

Connector Part Information

    • 15437400
    • 2-Way F LP SOC Wedge (BK)

Pin

Wire Color

Circuit No.

Function

A

OG

1732

Courtesy Lamps Supply Voltage

B

WH

156

Courtesy Lamp Low Control

Dome Lamp


Object Number: 82383  Size: CH

Connector Part Information

    • 12047662
    • 2-Way F Metri-Pack 150 Series (BK)

Pin

Wire Color

Circuit No.

Function

A

OG

1732

Courtesy Lamps Supply Voltage

B

WH

156

Courtesy Lamp Low Control

Door Jamb Switch - Driver


Object Number: 821858  Size: CH

Connector Part Information

    • 15316639
    • 2-Way F Multi-Lock (BK)

Pin

Wire Color

Circuit No.

Function

1

GY/BK

745

Left Front Door Ajar Switch Signal

2

BK/WH

1151

Ground

Door Jamb Switch - Front Passenger


Object Number: 821858  Size: CH

Connector Part Information

    • 15316639
    • 2-Way F Multi-Lock (BK)

Pin

Wire Color

Circuit No.

Function

1

L-GN/BK

748

Right Front Door Ajar Switch Signal (Regular/Crew Cab)

GY/BK

745

Right Front Door Ajar Switch Signal (Extended Cab)

2

BK/WH

1251

Ground

Door Jamb Switch - LR (Crew Cab)


Object Number: 821858  Size: CH

Connector Part Information

    • 15316639
    • 2-Way F Multi-Lock (BK)

Pin

Wire Color

Circuit No.

Function

1

BK/WH

746

Left Rear Door Ajar Switch Signal

2

BK/WH

1251

Ground

Door Jamb Switch - RR (Crew Cab)


Object Number: 821858  Size: CH

Connector Part Information

    • 15316639
    • 2-Way F Multi-Lock (BK)

Pin

Wire Color

Circuit No.

Function

1

L-BU/BK

747

Right Rear Door Ajar Switch Signal

2

BK/WH

1151

Ground

Fog Lamp - LF


Object Number: 684797  Size: CH

Connector Part Information

    • 12059183
    • 2-Way F Metri-Pack 280 Series Sealed (BK)

Pin

Wire Color

Circuit No.

Function

A

PU

34

Fog Lamps Supply Voltage

B

BK

850

Ground

Fog Lamp - RF


Object Number: 684797  Size: CH

Connector Part Information

    • 12059183
    • 2-Way F Metri-Pack 280 Series Sealed (BK)

Pin

Wire Color

Circuit No.

Function

A

PU

34

Fog Lamps Supply Voltage

B

BK

850

Ground

Hazard Switch


Object Number: 333035  Size: CH

Connector Part Information

    • 12047781
    • 3-Way F Metri-Pack 150 Series (BK)

Pin

Wire Color

Circuit No.

Function

A

GY

8

Instrument Panel Lamps Dimmer Switch Signal

B

BK

2050

Ground

C

WH

111

Hazard Switch Signal

Headlamp - High Beam - Left (TT5)


Object Number: 684797  Size: CH

Connector Part Information

    • 12059183
    • 2-Way F Metri-Pack 280 Series Sealed (BK)

Pin

Wire Color

Circuit No.

Function

A

OG

640

Headlamp Supply Voltage

B

PK

1200

High Beam Switched Ground

Headlamp - High Beam - Right (TT5)


Object Number: 684797  Size: CH

Connector Part Information

    • 12059183
    • 2-Way F Metri-Pack 280 Series Sealed (BK)

Pin

Wire Color

Circuit No.

Function

A

OG

640

Headlamp Supply Voltage

B

PK

1200

High Beam Switched Ground

Headlamp - LH (w/o TT5)


Object Number: 306269  Size: CH

Connector Part Information

    • 12034372
    • 3-Way F Metri-Pack 800 Series (BK)

Pin

Wire Color

Circuit No.

Function

A

OG

640

Headlamp Supply Voltage

B

PK

1200

High Beam Switched Ground

C

D-BU

1201

Low Beam Switched Ground

Headlamp - Low Beam - Left (TT5)


Object Number: 684797  Size: CH

Connector Part Information

    • 12059181
    • 2-Way F Metri-Pack 280 Series Sealed (BK)

Pin

Wire Color

Circuit No.

Function

A

OG

640

Headlamp Supply Voltage

B

D-BU

1201

Low Beam Switched Ground

Headlamp - Low Beam - Right (TT5)


Object Number: 684797  Size: CH

Connector Part Information

    • 12059181
    • 2-Way F Metri-Pack 280 Series Sealed (BK)

Pin

Wire Color

Circuit No.

Function

A

OG

640

Headlamp Supply Voltage

B

D-BU

1201

Low Beam Switched Ground

Headlamp - RH (w/o TT5)


Object Number: 306269  Size: CH

Connector Part Information

    • 12034372
    • 3-Way F Metri-Pack 800 Series (BK)

Pin

Wire Color

Circuit No.

Function

A

OG

640

Headlamp Supply Voltage

B

PK

1200

High Beam Switched Ground

C

D-BU

1201

Low Beam Switched Ground

Headlamp and Panel Dimmer Switch


Object Number: 1335532  Size: CH

Connector Part Information

    • 15405512
    • 14-Way F 035 ILAG5 (GN)

Pin

Wire Color

Circuit No.

Function

1

D-BU/WH

1495

Dome Overide Switch Signal

2

BN/WH

301

Park Lamp Relay Control

3

PU

719

Low Reference

4

WH

103

Headlamp Switch Headlamps On Signal

5

PU/WH

549

Headlamp Switch Headlamps Off Signal

6

GY

8

Instrument Panel Lamps Dimmer Switch Signal

7

OG

192

Fog Lamps Enable (T96)

8

YE

183

Front Fog Lamp Indicator Control

9

--

--

Not Used

10

WH/BK

158

Cargo Lamp Switch Signal (TR9)

11

PU

328

Interior Lamp Switch Signal

12-13

--

--

Not Used

14

BN/WH

230

Instrument Panel Lamps Dimming Control

License Lamp - Left


Object Number: 68721  Size: CH

Connector Part Information

    • 15300027
    • 2-Way F Metri-Pack 280 Series Sealed (BK)

Pin

Wire Color

Circuit No.

Function

A

BN

9

Park Lamp Supply Voltage

B

BK

850

Ground

License Lamp - Right


Object Number: 68721  Size: CH

Connector Part Information

    • 15300027
    • 2-Way F Metri-Pack 280 Series Sealed (BK)

Pin

Wire Color

Circuit No.

Function

A

BN

9

Park Lamp Supply Voltage

B

BK

850

Ground

Park Lamp - LF


Object Number: 877925  Size: CH

Connector Part Information

    • 16530668
    • 3-Way F (L-GY)

Pin

Wire Color

Circuit No.

Function

A

--

--

Not Used

B

BN

--

Park Lamp Supply Voltage

G

BK

--

Ground

Park Lamp - RF


Object Number: 877925  Size: CH

Connector Part Information

    • 16530668
    • 3-Way F (L-GY)

Pin

Wire Color

Circuit No.

Function

A

--

--

Not Used

B

BN

--

Park Lamp Supply Voltage

G

BK

--

Ground

Park/Turn Signal Lamp - LF


Object Number: 877925  Size: CH

Connector Part Information

    • 16530672
    • 3-Way F (BK)

Pin

Wire Color

Circuit No.

Function

A

L-BU

--

Left Turn Signal Lamps Supply Voltage

B

BN

--

Park Lamp Supply Voltage

BN

--

Park Lamp Supply Voltage

G

BK

--

Ground

BK

--

Ground

Park/Turn Signal Lamp - RF


Object Number: 877925  Size: CH

Connector Part Information

    • 16530672
    • 3-Way F (BK)

Pin

Wire Color

Circuit No.

Function

A

L-BU

--

Right Turn Signal Lamps Supply Voltage

B

BN

--

Park Lamp Supply Voltage

BN

--

Park Lamp Supply Voltage

G

BK

--

Ground

BK

--

Ground

Stop Lamp - LR


Object Number: 877925  Size: CH

Connector Part Information

    • 16530669
    • 3-Way F (NA)

Pin

Wire Color

Circuit No.

Function

A

L-BU

--

Stop Lamp Supply Voltage

B

BN

--

Park Lamp Supply Voltage

G

BK

--

Ground

Stop Lamp - RR


Object Number: 877925  Size: CH

Connector Part Information

    • 16530669
    • 3-Way F (NA)

Pin

Wire Color

Circuit No.

Function

A

L-BU

--

Stop Lamp Supply Voltage

B

BN

--

Park Lamp Supply Voltage

G

BK

--

Ground

Stop Lamp Switch


Object Number: 1333952  Size: CH

Connector Part Information

    • 12105252
    • 4-Way F 250 Series 58M (BK)

Pin

Wire Color

Circuit No.

Function

1

OG

140

Battery Positive Voltage

2

L-BU

20

Stop Lamp Supply Voltage

3-4

--

--

Not Used

Trailer Connector (Trailer Accessory)


Object Number: 1479630  Size: CH

Connector Part Information

    • 15A416
    • 4-Way F (BK)

Pin

Wire Color

Circuit No.

Function

1

WH

--

Ground

2

BN

--

Stop Lamp Supply Voltage

3

YE

--

Left Rear Turn Signal Lamp Supply Voltage

4

GN

--

Right Rear Turn Signal Lamp Supply Voltage

Turn Signal Lamp - LR


Object Number: 877925  Size: CH

Connector Part Information

    • 16530671
    • 3-Way F (D-GY)

Pin

Wire Color

Circuit No.

Function

A

YE

--

Left Rear Turn Signal Lamps Supply Voltage

B

BN

--

Park Lamp Supply Voltage

BN

--

Park Lamp Supply Voltage

G

BK

--

Ground

BK

--

Ground

Turn Signal Lamp - RR


Object Number: 877925  Size: CH

Connector Part Information

    • 16530671
    • 3-Way F (D-GY)

Pin

Wire Color

Circuit No.

Function

A

D-GN

--

Right Rear Turn Signal Lamps Supply Voltage

B

BN

--

Park Lamp Supply Voltage

BN

--

Park Lamp Supply Voltage

G

BK

--

Ground

BK

--

Ground