GM Service Manual Online
For 1990-2009 cars only

Tools Required

    • J 39232 Wiper Linkage Separator
    • J 39529 Wiper Linkage Installer

Removal Procedure

  1. Place the wiper arms in the 1/2 wipe position.
  2. Turn the ignition key to the OFF position.

  3. Object Number: 306506  Size: SH
  4. Remove the wiper arms. Refer to Windshield Wiper Arm Replacement .
  5. Remove the air inlet grille panel. Refer to Air Inlet Grille Panel Replacement in Body Front End.

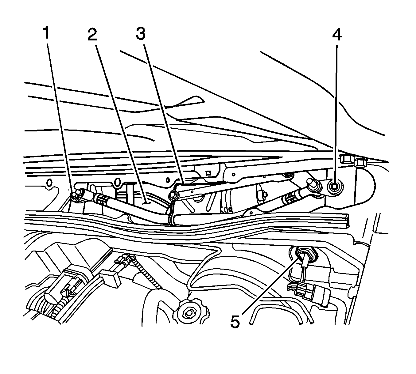
  6. Object Number: 1272633  Size: SH
  7. Remove the wiper transmission (3). Refer to Windshield Wiper Transmission Replacement .
  8. Using the J 39232 , separate the transmission link from the wiper motor crank arm ball stud.
  9. Remove the fasteners from the wiper motor to the frame assembly.
  10. Remove the wiper motor.

Installation Procedure

  1. Install the wiper motor onto the wiper transmission frame.
  2. Notice: Refer to Fastener Notice in the Preface section.

  3. Install the bolts in order to secure the motor to the frame.
  4. Tighten
    Tighten the wiper motor mounting bolts to 9 N·m (81 lb in).


    Object Number: 429902  Size: SH

    Important: Lubricate the socket with Multi-Purpose Lubricant, Superlube, GM P/N 12346241 (Canadian P/N 10953474) or equivalent.

  5. Install the transmission drive link socket onto the crank arm ball of the wiper motor using the J 39529 .

  6. Object Number: 1272633  Size: SH
  7. Install the wiper transmission (3) to the plenum. Refer to Windshield Wiper Transmission Replacement .