GM Service Manual Online
For 1990-2009 cars only
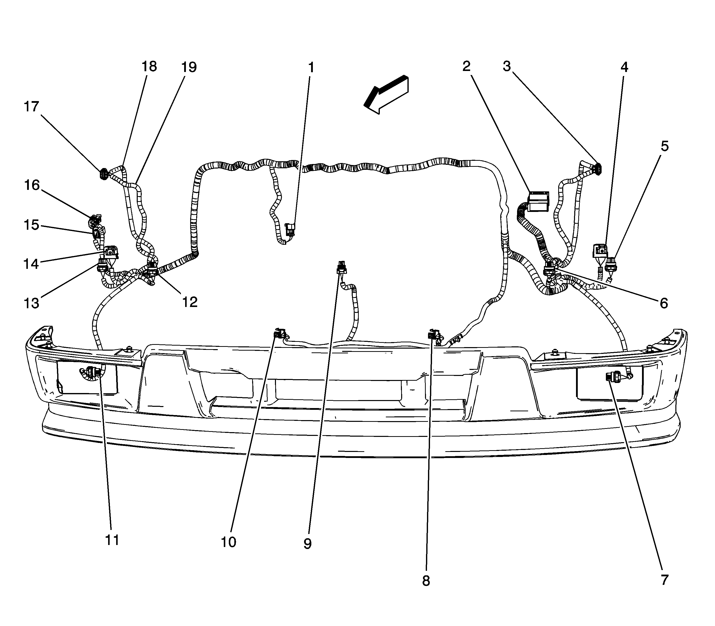
Figure 1:

Forward Lamp Harness Routing


Object Number: 1331500  Size: LF
(1)Horn Assembly
(2)Fuse Block - Underhood C1
(3)C108 (Forward Lamp Harness to Front Turn Signal Harness)
(4)Headlamp - LH (w/o TT5)
(5)Headlamp - Low Beam - Left (TT5)
(6)Headlamp - High Beam - Left (TT5)
(7)Fog Lamp - LF (T96)
(8)Inflatable Restraint Front End Sensor - Left
(9)Ambient Air Temperature Sensor (DF8)
(10)Inflatable Restraint Front End Sensor - Right
(11)Fog Lamp - RF (T96)
(12)Headlamp - High Beam - Right (TT5)
(13)Headlamp - Low Beam - Right (TT5)
(14)Headlamp - RH (w/o TT5)
(15)C104 (Forward Lamp Harness to Body Harness)
(16)C103 (Forward Lamp Harness to Body Harness)
(17)C107 (Forward Lamp Harness to Front Turn Signal Harness)
(18)Forward Lamp Harness (TT5)
(19)Forward Lamp Harness (w/oTT5)
Figure 2:

Engine Harness Routing 1 of 2 (2.8L)


Object Number: 1333135  Size: LF
(1)Powertrain Control Module (PCM) C2
(2)Powertrain Control Module (PCM) C3
(3)Throttle Body
(4)Manifold Absolute Pressure (MAP) Sensor
(5)Evaporative Emission (EVAP) Canister Purge Solenoid
(6) Knock Sensor (KS)
(7)Generator
(8)Crankshaft Position (CKP) Sensor
(9)C105 (4WD) or C106 (2WD) (Engine Harness to Body Harness)
(10)Fuse Block - Underhood C2
(11)A/C Compressor Clutch
(12)G101
(13)G103
(14)G102
(15)Engine Oil Pressure (EOP) Sensor
(16)Camshaft Position (CMP) Sensor
(17)C100 (4WD) (Engine Harness to Front Axle Jumper Harness)
(18)Camshaft Position (CMP) Actuator Solenoid - Bank 1 Exhaust
(19)Intake Air Temperature (IAT)/Mass Air Flow (MAF) Sensor
Figure 3:

Engine Harness Routing 2 of 2 (2.8L)


Object Number: 1333200  Size: LF
(1)Ignition Coil 3
(2)Ignition Coil 2
(3)Ignition Coil 1
(4)Ignition Coil 4
(5)Engine Coolant Temperature (ECT) Sensor
(6)C175 (M30) (Engine Harness to Transmission)
(7)Backup Lamp Switch (MA5)
(8)Vehicle Speed Sensor (VSS)
(9)Transfer Case Encoder Motor C1 (4WD)
(10)Heated Oxygen Sensor (HO2S) 2 (MA5)
(11)Transfer Case Encoder Motor C3 (4WD)
(12)Transfer Case Encoder Motor C4 (4WD)
(13)Transfer Case Encoder Motor C2 (4WD)
(14)Heated Oxygen Sensor (HO2S) 2 (M30)
(15)Park/Neutral Position Switch (M30)
(16)C101 (Engine Harness to Fuel Rail Harness)
Figure 4:

Engine Harness Routing 1 of 2 (3.5L)


Object Number: 1334046  Size: LF
(1)Powertrain Control Module (PCM) C2
(2)Powertrain Control Module (PCM) C3
(3)Throttle Body
(4)Manifold Absolute Pressure (MAP) Sensor
(5)Evaporative Emission (EVAP) Canister Purge Solenoid
(6) Knock Sensor (KS) 2
(7)Generator
(8)C105 (4WD) or C106 (2WD) (Engine Harness to Body Harness)
(9)Fuse Block - Underhood C2
(10)Camshaft Position (CMP) Sensor 2
(11)Crankshaft Position (CKP) Sensor
(12)A/C Compressor Clutch
(13)Knock Sensor (KS) 1
(14)G101
(15)G103
(16)G102
(17)Engine Oil Pressure (EOP) Sensor
(18)Camshaft Position Sensor 1
(19)C100 (4WD) (Engine Harness to Front Axle Jumper Harness)
(20)Camshaft Position (CMP) Actuator Solenoid - Bank 1 Exhaust
(21)Intake Air Temperature (IAT)/Mass Air Flow (MAF) Sensor
Figure 5:

Engine Harness Routing 2 of 2 (3.5L)


Object Number: 1334262  Size: LF
(1)Ignition Coil 5
(2)Ignition Coil 4
(3)Ignition Coil 3
(4)Ignition Coil 2
(5)Ignition Coil 1
(6)Engine Coolant Temperature (ECT) Sensor
(7)C175 (M30) (Engine Harness to Transmission)
(8)Backup Lamp Switch (MA5)
(9)Heated Oxygen Sensor (HO2S) 2 (M30)
(10)Vehicle Speed Sensor (VSS) (M30)
(11)Transfer Case Encoder Motor C1 (4WD)
(12)Heated Oxygen Sensor (HO2S) 2 (MA5)
(13)Transfer Case Encoder Motor C3 (4WD)
(14)Transfer Case Encoder Motor C4 (4WD)
(15)Transfer Case Encoder Motor C2 (4WD)
(16)Vehicle Speed Sensor (VSS) (MA5)
(17)Park/Neutral Position Switch (M30)
(18)C101 (Engine Harness to Fuel Rail Harness)
Figure 6:

Battery Cable Harness Routing


Object Number: 1390640  Size: LF
(1)G104
(2)Starter
(3)Generator Positive Voltage Connector
(4)Battery
(5)G100
(6)Battery Negative Terminal
(7)Fuse Block - Underhood
(8)Ring Terminal Battery
(9)Ring Terminal Generator
(10)Battery Positive Terminal
(11)Generator
Figure 7:

I/P Harness Routing


Object Number: 1331461  Size: LF
(1)Accessory Switch C2
(2)Hazard Switch
(3)Accessory Switch C1
(4)Digital Radio Receiver (U2K)
(5)Inflatable Restraint I/P Module
(6)Ambient Light Sensor
(7)Vehicle Communication Interface Module (VCIM) (UE1)
(8)Courtesy Lamp - Footwell Right
(9)Body Control Module (BCM) C2
(10)C201 (I/P Harness to Body Harness)
(11)HVAC Control Module C1
(12)Auxiliary Power Outlet 2
(13)Auxiliary Power Outlet 1
(14)HVAC Control Module C2
(15)Courtesy Lamp - Footwell Left
(16)Data Link Connector (DLC)
(17)C204 (Steering Column Harness to I/P Harness)
(18)C208 (I/P Harness to Body Harness)
(19)C200 (I/P Harness to Body Harness)
(20)Headlamp and Panel Dimmer Switch
(21)Instrument Panel Cluster (IPC)
(22)Radio C1
(23)Radio C2
Figure 8:

HVAC Harness Routing


Object Number: 1390708  Size: LF
(1)Evaporator Temperature Sensor (C60)
(2)C203 (I/P Harness to the HVAC Harness)
(3)Recirculation Actuator (C60)
(4)Blower Motor
(5)S202
(6)Blower Motor Resistor Assembly
Figure 9:

Dome Lamp Harness Routing


Object Number: 1391996  Size: LF
(1)Dome Lamp
(2)C310
Figure 10:

Body Harness Routing 1 of 3 (Regular Cab)


Object Number: 1332665  Size: LF
(1)Wheel Speed Sensor (WSS) - LF
(2)Brake Fluid Level Switch
(3)Windshield Wiper Motor
(4)Pass-through Grommet
(5)Electronic Brake Control Module (EBCM)
(6)Splice Pack SP105/G105
(7)C102 (Body Harness to Chassis Harness)
(8)C105 (4WD) or C106 (2WD) (Engine Harness to Body Harness)
(9)Fuse Block - Underhood C4
(10)Fuse Block - Underhood C5
(11)Fuse Block - Underhood C7
(12)Fuse Block - Underhood C6
(13)C104 (Forward Lamp Harness to Body Harness), and C103 (Forward Lamp Harness to Body Harness)
(14)Splice Pack SP106/G106
(15)Wheel Speed Sensor (WSS) - RF
(16)Powertrain Control Module (PCM) C1
(17)Windshield Washer Fluid Pump
(18)Pass-through Grommet
(19)A/C Refrigerant Pressure Sensor
Figure 11:

Body Harness Routing 2 of 3 (Regular Cab)


Object Number: 1332342  Size: LF
(1)Body Control Module (BCM) C1
(2)C201 (I/P Harness to Body Harness)
(3)G301
(4)G302
(5)Cargo Lamp/Center High Mounted Stop Lamp (CHMSL)
(6)Door Jamb Switch - Front Passenger
(7)C313 (Body Harness to Passenger Seat Harness)
(8)Seat Belt Pretensioner - RF
(9)Inflatable Restraint Sensing and Diagnostic Module (SDM)
(10)Transfer Case Shift Control Module
(11)C314 (Body Harness to Driver Seat Harness)
(12)G Sensor
(13)Seat Belt Pretensioner - LF
(14)Door Jamb Switch - Driver
(15)G300
(16)Stop Lamp Switch
(17)TCC Brake/Cruise Release Switch
(18)Park Brake Switch
(19)S303
(20)Clutch Switch
(21)Clutch Start Switch
(22)C208 (I/P Harness to Body Harness)
(23)C202 (Driver Door Harness to Body Harness)
(24)C209 (Body Harness to Driver Door Harness)
(25)C200 (I/P Harness to Body Harness)
(26)C275 (Body Harness to Steering Wheel Harness)
(27)Inflatable Restraint Roof Rail Module - Left
(28)Accelerator Pedal Position (APP) Sensor
(29)C310 (Dome Lamp Harness to Body Harness)
(30)C210 and C211 (A31) (Body Harness to Passenger Door Harness)
(31)Inflatable Restraint Roof Rail Module - Right
(32)Inside Rearview Mirror
Figure 12:

Body Harness Routing 3 of 3 (Regular Cab)


Object Number: 1332540  Size: LF
(1)S102
(2)S100
(3)S304
(4)S311
(5)S303
Figure 13:

Body Harness Routing 1 of 3 (Extended Cab)


Object Number: 1332665  Size: LF
(1)Wheel Speed Sensor (WSS) - LF
(2)Brake Fluid Level Switch
(3)Windshield Wiper Motor
(4)Pass-through Grommet
(5)Electronic Brake Control Module (EBCM)
(6)Splice Pack SP105/G105
(7)C102 (Body Harness to Chassis Harness)
(8)C105 (4WD) or C106 (2WD) (Engine Harness to Body Harness)
(9)Fuse Block - Underhood C4
(10)Fuse Block - Underhood C5
(11)Fuse Block - Underhood C7
(12)Fuse Block - Underhood C6
(13)C104 and C103 (Forward Lamp Harness to Body Harness)
(14)Splice Pack SP106/G106
(15)Wheel Speed Sensor (WSS) - RF
(16)Powertrain Control Module (PCM) C1
(17)Windshield Washer Fluid Pump
(18)Pass-through Grommet
(19)A/C Refrigerant Pressure Sensor
Figure 14:

Body Harness Routing 2 of 3 (Extended Cab)


Object Number: 1390332  Size: LF
(1)C310 (Dome Lamp Harness to Body Harness)
(2)C201 (I/P Harness to Body Harness)
(3)G301
(4)G302
(5)Inflatable Restraint Sensing and Diagnostic Module (SDM)
(6)C313 (Body Harness to Passenger Seat Harness)
(7)C317 (Body Harness to RR Passenger Door Harness)
(8)C312 (Body Harness to RR Passenger Door Harness)
(9)Cargo Lamp/Center High Mounted Stop Lamp (CHMSL)
(10)C316 (Body Harness to LR Passenger Door Harness)
(11)C311 (Body Harness to LR Passenger Door Harness)
(12)C314 (Body Harness to Driver Seat Harness)
(13)Transfer Case Shift Control Module C1
(14)Transfer Case Shift Control Module C2
(15)G Sensor
(16)G300
(17)Accelerator Pedal position (APP) Sensor
(18)S102
(19)S100
(20)Stop Lamp Switch
(21)TCC Brake/Cruise Release Switch
(22)Park Brake Switch
(23)Clutch Switch
(24)Inflatable Restraint Roof Rail Module - Right
(25)C211 (A31) (Body Harness to Passenger Door Harness)
(26)C210 (A31) (Body Harness to Passenger Door Harness)
(27)C200 (I/P Harness to Body Harness)
(28)C275 (Body Harness to Steering Wheel Harness)
(29)Clutch Start Switch
(30)Body Control Module (BCM) C1
(31)C209 (Body Harness to Driver Door Harness)
(32)C202 (Body Harness to Driver Door Harness)
(33)Inside Rearview Mirror
Figure 15:

Body Harness Routing 3 of 3 (Extended Cab)


Object Number: 1390611  Size: LF
(1)S304
(2)S311
(3)S303
Figure 16:

Body Harness Routing 1 of 3 (Crew Cab)


Object Number: 1332665  Size: LF
(1)Wheel Speed Sensor (WSS) - LF
(2)Brake Fluid Level Switch
(3)Windshield Wiper Motor
(4)Pass-through Grommet
(5)Electronic Brake Control Module (EBCM)
(6)Splice Pack SP105/G105
(7)C102 (Body Harness to Chassis Harness)
(8)C105 (4WD) or C106 (2WD) (Engine Harness to Body Harness)
(9)Fuse Block - Underhood C4
(10)Fuse Block - Underhood C5
(11)Fuse Block - Underhood C7
(12)Fuse Block - Underhood C6
(13)C104 (Forward Lamp Harness to Body Harness) and C103 (Forward Lamp Harness to Body Harness)
(14)Splice Pack SP106/G106
(15)Wheel Speed Sensor (WSS) - RF
(16)Powertrain Control Module (PCM) C1
(17)Windshield Washer Fluid Pump
(18)Pass-through Grommet
(19)A/C Refrigerant Pressure Sensor
Figure 17:

Body Harness Routing 2 of 3 (Crew Cab)


Object Number: 1332757  Size: LF
(1)Body Control Module (BCM) C1
(2)C201 (I/P Harness to Body Harness)
(3)G301
(4)G302
(5)Inflatable Restraint Sensing and Diagnostic Module (SDM)
(6)C317 (A31) or C317 (w/oA31) (Body Harness to RR Passenger Door Harness)
(7)Cargo Lamp/Center High Mounted Stop Lamp (CHMSL)
(8)Door Jamb Switch - Front Passenger
(9)Seat Belt Pretensioner - RF
(10)Door Jamb Switch - RR
(11)C313 (Body Harness to Passenger Seat Harness)
(12)C316 (A31) or C316 (w/oA31) (Body Harness to LR Passenger Door Harness)
(13)C314 (Body Harness to Driver Seat Harness)
(14)Seat Belt Pretensioner - LF
(15)Door Jamb Switch - LR
(16)Door Jamb Switch - Driver
(17)Transfer Case Shift Control Module C1, C2
(18)G Sensor
(19)G300
(20)Stop Lamp Switch
(21)TCC Brake/Cruise Release Switch
(22)Park Brake Switch
(23)S303
(24)Clutch Switch
(25)Clutch Start Switch
(26)C208 (I/P Harness to Body Harness)
(27)C202 (Driver Door Harness to Body Harness)
(28)C209 (Body Harness to Driver Door Harness)
(29)C200 (I/P Harness to Body Harness)
(30)C275 (Body Harness to Steering Wheel Harness)
(31)Inflatable Restraint Roof Rail Module - Left
(32)Accelerator Pedal Position (APP) Sensor
(33)C310 (Dome Lamp Harness to Body Harness)
(34)C210 and C211 (A31) (Body Harness to Passenger Door Harness)
(35)Inflatable Restraint Roof Rail Module - Right
(36)Inside Rearview Mirror
Figure 18:

Body Harness Routing 3 of 3 (Crew Cab)


Object Number: 1332760  Size: LF
(1)S100
(2)S102
(3)S302 (A31)
(4)S307
(5)S308 (A31)
(6)S309 (A31)
(7)S311
(8)S300
(9)S301 (AG1/AG2)
Figure 19:

Driver Door Harness Routing


Object Number: 1390748  Size: LF
(1)Door Lock and Window Switch - Driver
(2)Speaker - LF Door Tweeter (UQ2)
(3)Outside Rearview Mirror - Driver
(4)Outside Rearview Mirror Switch
(5)C202 (Driver Door Harness to Body Harness)
(6)C209 (Body Harness to Driver Door Harness)
(7)Speaker - LF Door
(8)Window Motor - Driver
(9)Inflatable Restraint Side Impact Sensor (SIS) - Left Connector (ASF)
(10)S500
(11)Door Lock Actuator - Driver
Figure 20:

Front Passenger Door Harness Routing


Object Number: 1360617  Size: LF
(1)Outside Rearview Mirror - Front Passenger
(2)Speaker - RF Door Tweeter (UQ2)
(3)Door Lock and Window Switch - Front Passenger
(4)Door Lock Actuator - Front Passenger
(5)Inflatable Restraint Side Impact Sensor (SIS) - Right Connector (ASF)
(6)Window Motor - Front Passenger
(7)Speaker - RF Door
(8)C211 (Front Passenger Door Harness to Body Harness)
(9)C210 (Body Harness to Front Passenger Door Harness)
Figure 21:

Left Rear Door Harness Routing (Crew Cab)


Object Number: 1361614  Size: LF
(1)Speaker - LR Door
(2)Door lock and Window Switch - LR
(3)C316 (Body Harness to Left Rear Door Harness)
(4)Window Motor - LR
(5)Door Lock Actuator - LR
Figure 22:

Right Rear Door Harness Routing (Crew Cab)


Object Number: 1390861  Size: LF
(1)Door Lock and Window Switch - RR
(2)Speaker - RR Door
(3)Door Lock Actuator - RR
(4)Window Motor - RR
(5)C317 (Body Harness to Right Rear Door Harness)
Figure 23:

Left Rear Door Harness Routing (Extended Cab)


Object Number: 1391098  Size: LF
(1)Speaker - LR Door
(2)C312 (Body Harness to Left Rear Door Harness)
(3)C316 (Body Harness to Left Rear Door Harness)
(4)Seat Belt Pretensioner - LF
(5)Door Jamb Switch - Driver
Figure 24:

Right Rear Door Harness Routing (Extended Cab)


Object Number: 1391101  Size: LF
(1)Speaker - RR Door
(2)Door Jamb Switch - Front Passenger
(3)Seat Belt Pretensioner - RF
(4)C317 (Body Harness to Right Rear Door Harness)
(5)C311 (Body Harness to Right Rear Door Harness)
Figure 25:

Chassis Harness Routing


Object Number: 1333088  Size: LF
(1)Chassis Frame
(2)Fuel Tank Pressure (FTP) Sensor
(3)Fuel Pump and Sender Assembly
(4)Evaporative Emission (EVAP) Canister Vent Solenoid
(5)C402 (Chassis Harness to RR Lamp Assembly)
(6)S404
(7)C401 (Chassis Harness to LR Lamp Assembly)
(8)C400 (Chassis Harness to License Lamp Harness)
(9)S403
(10)S402
(11)S400
(12)S401
(13)S310
(14)C102 (Body Harness to Chassis Harness)
Figure 26:

License Plate Lamp Harness Routing


Object Number: 1391599  Size: MF
(1)License Lamp - RH
(2)S900
(3)S901
(4)License Lamp - LH
(5)C400