| Table 1: | Powertrain Control Module (PCM) C1 |
| Table 2: | Powertrain Control Module (PCM) C2 |
| Table 3: | Powertrain Control Module (PCM) C3 |
| |||||||||
|---|---|---|---|---|---|---|---|---|---|
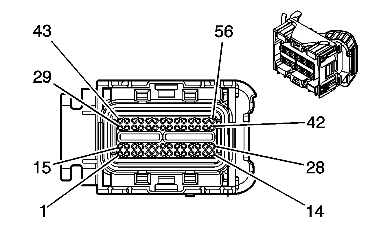
Connector Part Information |
| ||||||||
Pin | Wire Color | Circuit No. | Function | ||||||
1-2 | -- | -- | Not Used | ||||||
3 | D-GN/WH | 1559 | 4 LO Switch - Signal (4WD) | ||||||
4-5 | -- | -- | Not Used | ||||||
6 | D-GN/WH | 459 | A/C Compressor Relay Control | ||||||
7 | BN | 1271 | Low Reference | ||||||
8 | PU | 1272 | Low Reference | ||||||
9-11 | -- | -- | Not Used | ||||||
12 | PU | 1589 | Fuel Level Sensor Signal | ||||||
13 | PK | 739 | Ignition 1 Voltage | ||||||
14 | -- | -- | Not Used | ||||||
15 | PU | 1807 | Class 2 Serial Data | ||||||
16 | PU | 1807 | Class 2 Serial Data | ||||||
17 | GY | 2700 | 5-Volt Reference | ||||||
18 | BN | 4 | Accessory Voltage | ||||||
19 | PK | 639 | Ignition 1 Voltage | ||||||
20 | OG | 440 | Battery Positive Voltage | ||||||
21 | -- | -- | Not Used | ||||||
22 | WH | 1310 | EVAP Canister Vent Solenoid Control | ||||||
23 | -- | -- | Not Used | ||||||
24 | D-GN | 890 | Fuel Tank Pressure Sensor Signal | ||||||
25 | YE/BK | 1827 | Vehicle Speed Signal | ||||||
26 | RD/BK | 380 | A/C Refrigerant Pressure Sensor Signal | ||||||
27 | D-BU | 1161 | APP Sensor 1 Signal | ||||||
28 | -- | -- | Not Used | ||||||
29 | BK | 2759 | Low Reference | ||||||
30 | WH/BK | 1164 | 5-Volt Reference | ||||||
31 | -- | -- | Not Used | ||||||
32 | L-BU | 20 | Stop Lamp Supply Voltage | ||||||
33-36 | -- | -- | Not Used | ||||||
37 | D-GN/WH | 465 | Fuel Pump Relay Control | ||||||
38 | WH/BK | 448 | Powertrain Diagnostic Enable | ||||||
39 | -- | -- | Not Used | ||||||
40 | BN/WH | 419 | MIL Control | ||||||
41 | L-BU | 1162 | APP Sensor 2 Signal | ||||||
42 | -- | -- | Not Used | ||||||
43 | TN | 1274 | 5-Volt Reference | ||||||
44 | GY | 1884 | Cruise Control Set/Coast and Resume/Accelerate Switch Signal | ||||||
45 | -- | -- | Not Used | ||||||
46 | PU | 420 | TCC Brake Switch/Cruise Control Release Signal | ||||||
47 | GY | 2709 | 5-Volt Reference | ||||||
48 | YE/BK | 625 | Starter Relay Control | ||||||
49-52 | -- | -- | Not Used | ||||||
53 | BN/WH | 379 | CPP Switch Signal (MA5) | ||||||
54 | D-GN | 1433 | PNP/Clutch Start Switch Signal | ||||||
55 | -- | -- | Not Used | ||||||
56 | BK | 2751 | Low Reference | ||||||
| |||||||
|---|---|---|---|---|---|---|---|
Connector Part Information |
| ||||||
Pin | Wire Color | Circuit No. | Function | ||||
1 | RD | 225 | Generator Turn On Signal | ||||
2 | D-GN | 485 | TP Sensor 1 Signal | ||||
3-5 | -- | -- | Not Used | ||||
6 | GY | 2701 | 5-Volt Reference | ||||
7 | PU | 486 | TP Sensor 2 Signal | ||||
8 | GY | 2704 | 5-Volt Reference | ||||
9 | L-BU/BK | 1688 | 5-Volt Reference | ||||
10-12 | -- | -- | Not Used | ||||
13 | PU | 2329 | Camshaft Position Signal | ||||
14 | PK/BK | 632 | Low Reference | ||||
15 | L-BU | 2344 | Low Reference | ||||
16 | -- | -- | Not Used | ||||
17 | YE | 573 | CKP Sensor 1 Signal | ||||
18 | PU | 574 | Low Reference | ||||
19 | WH/BK | 2257 | Low Reference | ||||
20 | OG/BK | 469 | Low Reference | ||||
21 | -- | -- | Not Used | ||||
22 | RD | 631 | 12-Volt Reference | ||||
23 | RD | 1673 | 12-Volt Reference | ||||
24-25 | -- | -- | Not Used | ||||
26 | BK | 630 | Camshaft Position Signal | ||||
27-31 | -- | -- | Not Used | ||||
32 | TN/WH | 1653 | HO2S Low Signal | ||||
33 | BK | 1744 | Fuel Injector 1 Control | ||||
34 | -- | -- | Not Used | ||||
35 | YE | 410 | ECT Sensor Signal | ||||
36 | BK/WH | 1704 | Low Reference | ||||
37 | L-GN | 432 | MAP Sensor Signal | ||||
38 | -- | -- | Not Used | ||||
39 | BK | 2752 | Low Reference | ||||
40 | PU | 2121 | IC 1 Control | ||||
41 | YE | 492 | MAF Sensor Signal | ||||
42 | D-GN | 2125 | IC 5 Control | ||||
43 | -- | -- | Not Used | ||||
44 | RD/WH | 2122 | IC 2 Control | ||||
45 | GY | 23 | Generator Field Duty Cycle Signal | ||||
46 | -- | -- | Not Used | ||||
47 | GY | 2702 | CMP Actuator Solenoid High Control | ||||
48 | D-GN | 1655 | HO2S High Signal | ||||
49-50 | -- | -- | Not Used | ||||
51 | TN | 472 | IAT Sensor Signal | ||||
52 | BK | 2761 | Low Reference | ||||
53 | PK/BK | 1746 | Fuel Injector 3 Control | ||||
54 | L-BU/BK | 844 | Fuel Injector 4 Control | ||||
55 | BK/WH | 845 | Fuel Injector 5 Control | ||||
56 | L-GN/BK | 1745 | Fuel Injector 2 Control | ||||
57 | -- | -- | Not Used | ||||
58 | D-GN | 676 | HO2S Heater High Control | ||||
59 | L-BU | 2123 | IC 3 Control | ||||
60 | D-GN/WH | 2124 | IC 4 Control | ||||
61-63 | -- | -- | Not Used | ||||
64 | BK | 2760 | Low Reference | ||||
65 | BN | 582 | TAC Motor Control - 2 | ||||
66 | YE | 581 | TAC Motor Control - 1 | ||||
67 | -- | -- | Not Used | ||||
68 | D-BU | 496 | Knock Sensor Signal | ||||
69 | GY | 1716 | Low Reference | ||||
70-72 | -- | -- | Not Used | ||||
73 | BK/WH | 451 | Ground | ||||
| |||||||
|---|---|---|---|---|---|---|---|
Connector Part Information |
| ||||||
Pin | Wire Color | Circuit No. | Function | ||||
1 | PK | 1224 | Transmission Fluid Pressure Switch Signal A (M30) | ||||
2 | GY | 773 | Transmission Range Switch Signal C (M30) | ||||
3 | -- | -- | Not Used | ||||
4 | TN/WH | 1669 | HO2S Low Signal | ||||
5 | -- | -- | Not Used | ||||
6 | RD/BK | 1228 | PC Solenoid Valve High Control (M30) | ||||
7 | YE/BK | 1227 | TFT Sensor Signal (M30) | ||||
8-14 | -- | -- | Not Used | ||||
15 | TN/BK | 231 | Oil Pressure Switch Signal | ||||
16 | -- | -- | Not Used | ||||
17 | BK | 2762 | Low Reference (M30) | ||||
18 | -- | -- | Not Used | ||||
19 | PU/WH | 1668 | HO2S High Signal | ||||
20 | BK/WH | 771 | Transmission Range Switch Signal A (M30) | ||||
21 | WH | 687 | 3-2 Shift Solenoid Valve Control (M30) | ||||
22-24 | -- | -- | Not Used | ||||
25 | TN/BK | 422 | TCC Solenoid Valve Control (M30) | ||||
26-29 | -- | -- | Not Used | ||||
30 | RD | 1226 | Transmission Fluid Pressure Switch Signal C (M30) | ||||
31-32 | -- | -- | Not Used | ||||
33 | L-GN | 1222 | 1-2 Shift Solenoid Valve Control (M30) | ||||
34 | TN/BK | 464 | Delivered Torque Signal (2WD) | ||||
35 | YE/BK | 1223 | 2-3 Shift Solenoid Valve Control (M30) | ||||
36 | PU | 114 | Low Oil Pressure Switch Signal | ||||
37 | D-GN/WH | 428 | EVAP Canister Purge Solenoid Control | ||||
38 | -- | -- | Not Used | ||||
39 | BN | 418 | TCC PWM Solenoid Valve Control (M30) | ||||
40-42 | -- | -- | Not Used | ||||
43 | D-BU | 1225 | Transmission Fluid Pressure Switch Signal B (M30) | ||||
44 | PU | 401 | Signal Low - Front | ||||
45 | YE | 400 | Signal High - Front | ||||
46 | BK/WH | 1423 | HO2S Heater Low Control | ||||
47 | OG/BK | 463 | Requested Torque Signal (2WD) | ||||
48 | L-BU/WH | 1229 | PC Solenoid Valve Low Control (M30) | ||||
49 | -- | -- | Not Used | ||||
50 | YE | 772 | Transmission Range Switch Signal B (M30) | ||||
51 | -- | -- | Not Used | ||||
52 | WH | 776 | Transmission Range Switch Signal P (M30) | ||||
53-56 | -- | -- | Not Used | ||||