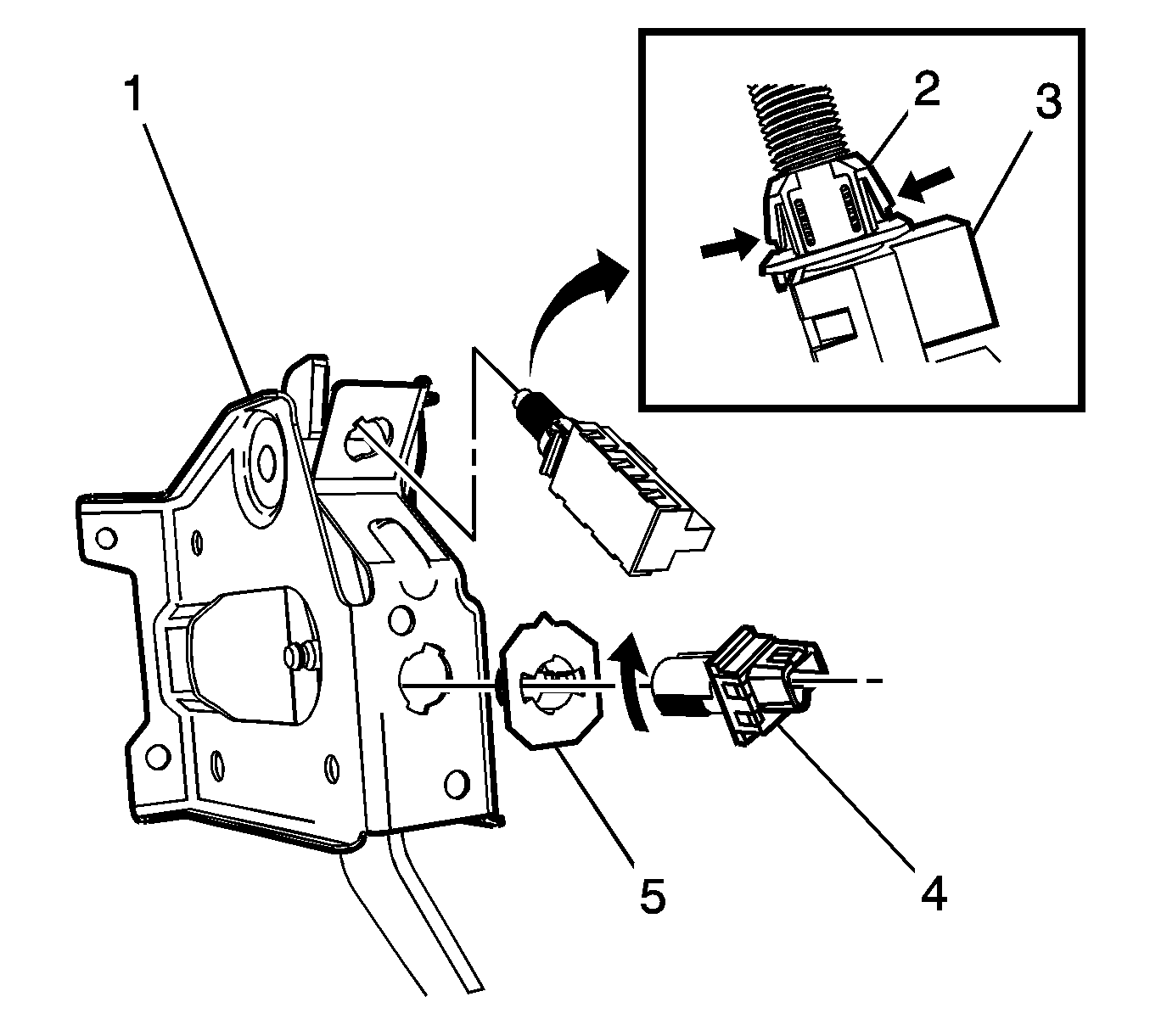
Removal Procedure
- Disconnect the clutch release switch electrical connector (2).
- Complete the following in order to remove the clutch release switch (4) from the clutch pedal bracket (1):
| 2.1. | Rotate the switch (4) counterclockwise. |
| 2.2. | Pull the switch (4) from the retainer (5). |
| 2.3. | Push the locking tabs inward to release the retainer (5). |
Installation Procedure
- Slide only the clutch release switch retainer (5) into the clutch pedal bracket (1), until the
locking tabs are fully engaged.
- Adjust the clutch release switch. Refer to
Clutch Pedal Cruise Control Release Switch Adjustment.