GM Service Manual Online
For 1990-2009 cars only

Windshield Washer Solvent Container Replacement 2nd Design

Removal Procedure

  1. Remove the air cleaner assembly. Refer to Air Cleaner Assembly Replacement for the 2.8L (LK5) engine or Air Cleaner Assembly Replacement for the 3.5L (L52) engine.

  2. Object Number: 1970069  Size: SH
  3. Remove the washer container to fender flange fasteners (1,2).
  4. Remove the coolant reservoir to wheelhouse fastener (3).
  5. Slightly raise the container to access the electrical connection.
  6. Disconnect the electrical connector from the washer pump.

  7. Object Number: 1970070  Size: SH
  8. Remove the washer hose from the washer pump spout.
  9. Disengage the coolant recovery hose clips from the fender flange.

  10. Object Number: 1970073  Size: SH
  11. Remove the washer solvent container / coolant recovery reservoir (1) from the engine compartment.
  12. Drain the washer solvent and engine coolant into separate suitable containers.

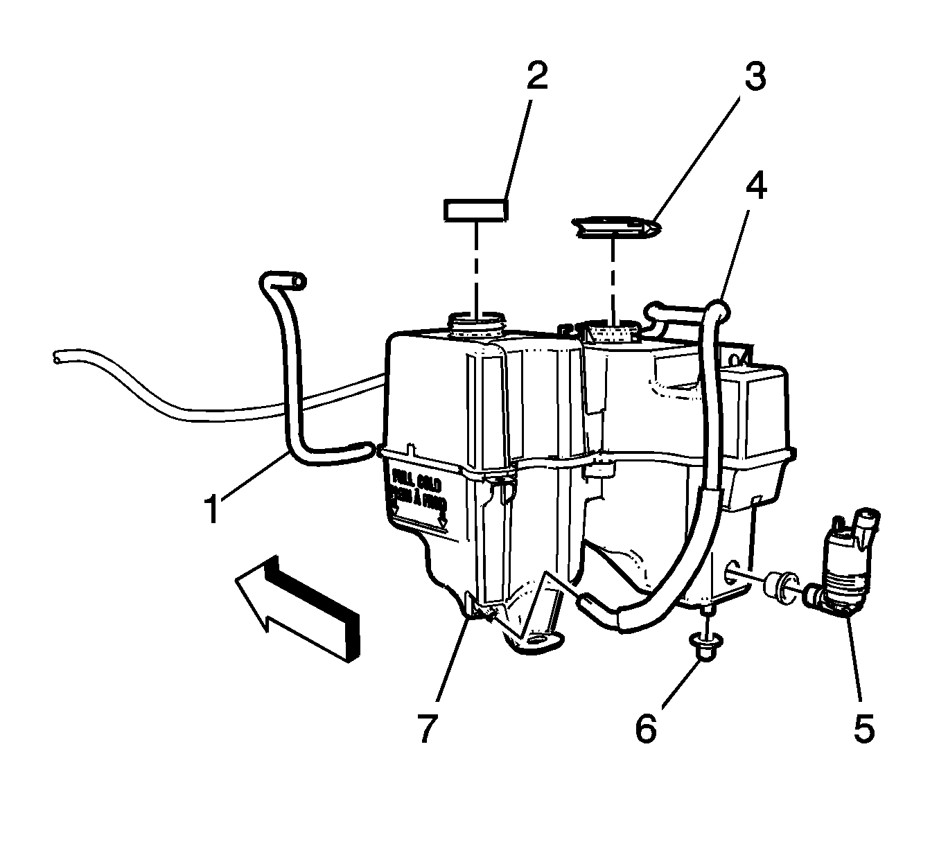
  13. Object Number: 1970074  Size: SH
  14. Place the washer solvent container / coolant recovery reservoir onto a clean bench top.
  15. Remove the following component parts:
  16. • Coolant container overflow hose (1)
    • Coolant recovery reservoir cap (2)
    • Windshield washer container cap (3)
    • Coolant recovery to radiator hose (4)
    • Windshield washer pump and grommet (5)
    • Windshield washer container lower grommet (6)
  17. Discard the washer solvent container / coolant recovery reservoir (7).

Installation Procedure


    Object Number: 1970074  Size: SH
  1. Position a new washer solvent container / coolant recovery reservoir (7) on the bench top.
  2. Install the following component parts:
  3. • Coolant container overflow hose (1)
    • Coolant recovery reservoir cap (2)
    • Windshield washer container cap (3)
    • Coolant recovery to radiator hose (4)
    • Windshield washer pump and a new grommet (5)
    • Use clean washer solvent on the washer pump grommet to aid in the pump installation.
    • Windshield washer container lower grommet (6)

    Object Number: 1970073  Size: SH
  4. Position the washer solvent container / coolant recovery reservoir (1) to the engine compartment and fender flange.
  5. Secure the washer hose to the washer pump spout.
  6. Connect the electrical connection to the washer pump.
  7. Route and engage the coolant recovery hose clips to the fender flange.
  8. Notice: Refer to Fastener Notice in the Preface section.


    Object Number: 1970069  Size: SH
  9. Install the washer container to fender flange fasteners (1,2).
  10. Tighten
    9 N·m (80 lb in)

  11. Install the coolant recovery reservoir to wheelhouse fastener (3).
  12. Tighten
    9 N·m (80 lb in)

  13. Install the air cleaner assembly. Refer to Air Cleaner Assembly Replacement for the 2.8L (LK5) engine or Air Cleaner Assembly Replacement for the 3.5L (L52) engine.
  14. Fill the washer solvent container with clean washer solvent.
  15. Fill the coolant recovery reservoir with new engine coolant per manufacturer's specification.
  16. Test the washer system and inspect for leaks.
  17. Close the hood.