GM Service Manual Online
For 1990-2009 cars only
Connector 1: 1-2 Shift Solenoid (SS) Valve (M30)
Connector 2: 2-3 Shift Solenoid (SS) Valve (M30)
Connector 3: 3-2 Shift Solenoid (SS) Valve Assembly (M30)
Connector 4: A/C Compressor Clutch (C60)
Connector 5: A/C Refrigerant Pressure Sensor (C60)
Connector 6: A/T Shift Lock Control Solenoid (M30)
Connector 7: Automatic Transmission Fluid Pressure (TFP) Manual Valve Position Switch (M30)
Connector 8: Accelerator Pedal Position (APP) Sensor
Connector 9: Accessory Switch
Connector 10: Ambient Light Sensor
Connector 11: Auxiliary Power Outlet 1
Connector 12: Auxiliary Power Outlet 2 (KC5)
Connector 13: Backup Lamp - Left
Connector 14: Backup Lamp - Right
Connector 15: Backup Lamp Switch (MA5)
Connector 16: Blower Motor
Connector 17: Blower Motor Resistor Assembly
Connector 18: Body Control Module (BCM) X1
Connector 19: Body Control Module (BCM) X2
Connector 20: Brake Fluid Level Switch
Connector 21: Camshaft Position (CMP) Actuator Solenoid Valve
Connector 22: Camshaft Position (CMP) Sensor
Connector 23: Cargo Lamp - Left
Connector 24: Cargo Lamp - Right
Connector 25: Center High Mounted Stop Lamp (CHMSL) - Left
Connector 26: Center High Mounted Stop Lamp (CHMSL) - Right
Connector 27: Clutch Pedal Position (CPP) Sensor (MA5)
Connector 28: Courtesy Lamp - Footwell Left
Connector 29: Courtesy Lamp - Footwell Right
Connector 30: Crankshaft Position (CKP) Sensor
Connector 31: Data Link Connector (DLC)
Connector 32: Digital Radio Receiver (U2K)
Connector 33: Dome Lamp
Connector 34: Door Jamb Switch - Driver
Connector 35: Door Jamb Switch - Front Passenger
Connector 36: Door Jamb Switch - Left Rear (Crew Cab)
Connector 37: Door Jamb Switch - Right Rear (Crew Cab)
Connector 38: Door Lock Actuator - Driver (AU3)
Connector 39: Door Lock Actuator - Front Passenger (AU3)
Connector 40: Door Lock Actuator - Left Rear (Crew Cab with AU3)
Connector 41: Door Lock Actuator - Right Rear (Crew Cab with AU3)
Connector 42: Door Lock and Window Switch - Driver X1 (A31/AU3)
Connector 43: Door Lock and Window Switch - Driver X2 (A31/AU3)
Connector 44: Door Lock and Window Switch - Front Passenger (A31/AU3)
Connector 45: Electronic Brake Control Module (EBCM)
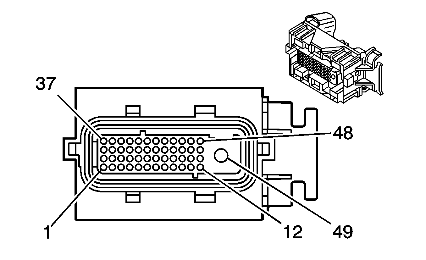
Connector 46: Engine Control Module (ECM) X1
Connector 47: Engine Control Module (ECM) X2
Connector 48: Engine Control Module (ECM) X3
Connector 49: Engine Coolant Temperature (ECT) Sensor
Connector 50: Engine Oil Pressure (EOP) Switch
Connector 51: Evaporative Emission (EVAP) Canister Purge Solenoid Valve
Connector 52: Evaporative Emission (EVAP) Canister Vent Solenoid
Connector 53: Evaporator Temperature Sensor (C60)
Connector 54: Fog Lamp - Left Front
Connector 55: Fog Lamp - Right Front
Connector 56: Front Drive Axle Actuator (4WD)
Connector 57: Fuel Injector 1 (LLV)
Connector 58: Fuel Injector 1 (LLR)
Connector 59: Fuel Injector 2 (LLV)
Connector 60: Fuel Injector 2 (LLR)
Connector 61: Fuel Injector 3 (LLV)
Connector 62: Fuel Injector 3 (LLR)
Connector 63: Fuel Injector 4 (LLV)
Connector 64: Fuel Injector 4 (LLR)
Connector 65: Fuel Injector 5 (LLR)
Connector 66: Fuel Pump and Sender Assembly
Connector 67: Fuel Tank Pressure (FTP) Sensor
Connector 68: Generator X1
Connector 69: Generator Battery Control Module
Connector 70: Hazard Switch
Connector 71: Headlamp - High Beam - Left (TT5)
Connector 72: Headlamp - High Beam - Right (TT5)
Connector 73: Headlamp - Left (-TT5)
Connector 74: Headlamp - Low Beam - Left (TT5)
Connector 75: Headlamp - Low Beam - Right (TT5)
Connector 76: Headlamp - Right (-TT5)
Connector 77: Headlamp and Panel Dimmer Switch
Connector 78: Heated Oxygen Sensor (HO2S) 1
Connector 79: Heated Oxygen Sensor (HO2S) 2
Connector 80: Heater Element Seat Back - Driver (KA1)
Connector 81: Heater Element Seat Back - Passenger (KA1)
Connector 82: Horn Assembly
Connector 83: Horn Switch
Connector 84: HVAC Control Module X1
Connector 85: HVAC Control Module X2
Connector 86: Ignition Coil 1
Connector 87: Ignition Coil 2
Connector 88: Ignition Coil 3
Connector 89: Ignition Coil 4
Connector 90: Ignition Coil 5 (LLR)
Connector 91: Ignition Switch
Connector 92: Inflatable Restraint Front End Sensor - Left
Connector 93: Inflatable Restraint Front End Sensor - Right
Connector 94: Inflatable Restraint I/P Module
Connector 95: Inflatable Restraint Passenger Presence System (PPS) Module
Connector 96: Inflatable Restraint Passenger Presence System (PPS) Sensor
Connector 97: Inflatable Restraint Roof Rail Module - Left (ASF)
Connector 98: Inflatable Restraint Roof Rail Module - Right (ASF)
Connector 99: Inflatable Restraint Seat Position Sensor - Left
Connector 100: Inflatable Restraint Seat Position Sensor - Right
Connector 101: Inflatable Restraint Sensing and Diagnostic Module (SDM)
Connector 102: Inflatable Restraint Side Impact Sensor (SIS) - Left (ASF)
Connector 103: Inflatable Restraint Side Impact Sensor (SIS) - Right (ASF)
Connector 104: Inflatable Restraint Steering Wheel Module X1
Connector 105: Inflatable Restraint Steering Wheel Module X2
Connector 106: Inside Rearview Mirror (ISRVM)
Connector 107: Instrument Panel Cluster (IPC)
Connector 108: Input Speed Sensor (ISS) (M30)
Connector 109: Mass Air Flow (MAF)/Intake Air Temperature (IAT) Sensor
Connector 110: Knock Sensor (KS)
Connector 111: License Lamp - Left
Connector 112: License Lamp - Right
Connector 113: Longitudinal Accelerometer Sensor (4WD)
Connector 114: Lumbar Adjuster/Heater Switch - Driver (AG1)
Connector 115: Lumbar Adjuster/Heater Switch - Passenger (AG2)
Connector 116: Lumbar Pump Motor - Driver (AR9)
Connector 117: Lumbar Pump Motor - Passenger (AR9)
Connector 118: Manifold Absolute Pressure (MAP) Sensor
Connector 119: Outside Rearview Mirror - Driver (DE6)
Connector 120: Outside Rearview Mirror - Front Passenger (DE6)
Connector 121: Outside Rearview Mirror Switch (DE6)
Connector 122: Park Brake Switch
Connector 123: Park Lamp - Left Front
Connector 124: Park Lamp - Right Front
Connector 125: Park/Turn Signal Lamp - Left Front
Connector 126: Park/Turn Signal Lamp - Right Front
Connector 127: Park Neutral Position (PNP) Switch (M30)
Connector 128: Pressure Control (PC) Solenoid Valve (M30)
Connector 129: Radio X1
Connector 130: Radio X2
Connector 131: Recliner Motor - Driver Seat (AG1)
Connector 132: Recirculation Actuator (C60)
Connector 133: Seat Adjuster Switch - Driver X1 (AG1)
Connector 134: Seat Adjuster Switch - Driver X2 (AG1)
Connector 135: Seat Adjuster Switch - Passenger (AG2)
Connector 136: Seat Belt Buckle - Driver
Connector 137: Seat Belt Buckle - Passenger X1
Connector 138: Seat Belt Buckle - Passenger X2
Connector 139: Seat Belt Pretensioner - Left Front
Connector 140: Seat Belt Pretensioner - Right Front
Connector 141: Seat Motors - Driver (AG1)
Connector 142: Seat Motors - Passenger (AG2)
Connector 143: Secondary Air Injection (AIR) Pump (K18)
Connector 144: Secondary Air Injection (AIR) Pump Relay (K18)
Connector 145: Secondary Air Injection (AIR) Pump Solenoid (K18)
Connector 146: Speaker - Left Front Door
Connector 147: Speaker - Left Front Door Tweeter (UQ3)
Connector 148: Speaker - Left Rear Door (Extended/Crew Cab)
Connector 149: Speaker - Right Front Door
Connector 150: Speaker - Right Front Door Tweeter (UQ3)
Connector 151: Speaker - Right Rear Door (Extended/Crew Cab)
Connector 152: Starter X1
Connector 153: Stop Lamp - Left
Connector 154: Stop Lamp - Right
Connector 155: Stop Lamp Switch
Connector 156: Sunroof Motor (CF5)
Connector 157: Sunroof Switch (CF5)
Connector 158: TCC Brake/Cruise Release Switch
Connector 159: Throttle Body
Connector 160: Torque Converter Clutch Pulse Width Modulated (TCC PWM) Solenoid Valve (M30)
Connector 161: Torque Converter Clutch (TCC) Solenoid Valve (M30)
Connector 162: Trailer Connector (UY7)
Connector 163: Transfer Case 2/4 Wheel Indicator Switch (4WD)
Connector 164: Transfer Case Encoder Motor (4WD)
Connector 165: Transfer Case Neutral Switch (4WD)
Connector 166: Transfer Case Shift Control Module X1
Connector 167: Transfer Case Shift Control Module X2
Connector 168: Transmission Control Module (TCM) (M30)
Connector 169: Turn Signal Lamp - Left Rear
Connector 170: Turn Signal Lamp - Right Rear
Connector 171: Vehicle Communications Interface Module (VCIM) X1
Connector 172: Vehicle Communications Interface Module (VCIM) X2
Connector 173: Vehicle Speed Sensor (VSS)
Connector 174: Wheel Speed Sensor (WSS) - Left Front
Connector 175: Wheel Speed Sensor (WSS) - Right Front
Connector 176: Window Motor - Driver (A31)
Connector 177: Window Motor - Front Passenger (A31)
Connector 178: Window Motor - Left Rear (Crew Cab with A31)
Connector 179: Window Motor - Right Rear (Crew Cab with A31)
Connector 180: Window Switch - Left Rear (Crew Cab with A31)
Connector 181: Window Switch - Right Rear (Crew Cab with A31)
Connector 182: Windshield Washer Fluid Pump
Connector 183: Windshield Wiper Motor

1-2 Shift Solenoid (SS) Valve (M30)


Object Number: 168428  Size: CH

Connector Part Information

  • OEM: 12162201
  • Service: Non-Serviceable
  • Description: 2-Way F Metri-Pack 150.2 P2 Series (NA)

Terminal Part Information

  • Terminal/Tray: Non-Serviceable
  • Core/Insulation Crimp: Non-Serviceable
  • Release Tool/Test Probe: Non-Serviceable

1-2 Shift Solenoid (SS) Valve (M30)

Pin

Wire

Circuit

Function

A

0.5 RD

839

Ignition Voltage

B

0.5 L-GN

1222

1-2 Shift Solenoid Valve Control

2-3 Shift Solenoid (SS) Valve (M30)


Object Number: 168428  Size: CH

Connector Part Information

  • OEM: 12162201
  • Service: Non-Serviceable
  • Description: 2-Way F Metri-Pack 150.2 P2 Series (NA)

Terminal Part Information

  • Terminal/Tray: Non-Serviceable
  • Core/Insulation Crimp: Non-Serviceable
  • Release Tool/Test Probe: Non-Serviceable

2-3 Shift Solenoid (SS) Valve (M30)

Pin

Wire

Circuit

Function

A

0.5 RD

839

Ignition Voltage

B

0.5 YE

1223

2-3 Shift Solenoid Valve Control

3-2 Shift Solenoid (SS) Valve Assembly (M30)


Object Number: 82345  Size: CH

Connector Part Information

  • OEM: 12146094
  • Service: Non-Serviceable
  • Description: 2-Way F Metri-Pack 150.2 P2 Series (GY)

Terminal Part Information

  • Terminal/Tray: Non-Serviceable
  • Core/Insulation Crimp: Non-Serviceable
  • Release Tool/Test Probe: Non-Serviceable

3-2 Shift Solenoid (SS) Valve Assembly (M30)

Pin

Wire

Circuit

Function

A

0.5 WH

687

3-2 Shift Solenoid Valve Control

B

0.5 RD

839

Ignition Voltage

A/C Compressor Clutch (C60)


Object Number: 1334534  Size: CH

Connector Part Information

  • OEM: 12162017
  • Service: 12101937
  • Description: 2-Way F Metri-Pack 150 Series Sealed (GY)

Terminal Part Information

  • Terminal/Tray: 12048074/2
  • Core/Insulation Crimp: E/1
  • Release Tool/Test Probe: 12094429/J-35616-2A (GY)

A/C Compressor Clutch (C60)

Pin

Wire

Circuit

Function

A

0.35 BK

350

Ground

B

0.35 D-GN

59

A/C Compressor Clutch Control

A/C Refrigerant Pressure Sensor (C60)


Object Number: 1519475  Size: CH

Connector Part Information

  • OEM: 13532244
  • Service: See Catalog
  • Description: 3-Way F GT 150 Series Sealed (BK)

Terminal Part Information

  • Terminal/Tray: See 15326267/19
  • Core/Insulation Crimp: E/4
  • Release Tool/Test Probe: 15315247/J-35616-2A (GY)

A/C Refrigerant Pressure Sensor (C60)

Pin

Wire

Circuit

Function

1

0.35 BK

2751

Low Reference

2

0.35 GY

2700

5-Volt Reference

3

0.35 RD/BK

380

A/C Refrigerant Pressure Sensor Signal

A/T Shift Lock Control Solenoid (M30)


Object Number: 280768  Size: CH

Connector Part Information

  • OEM: 12052832
  • Service: 12101825
  • Description: 2-Way F Metri-Pack 150 Series (BK)

Terminal Part Information

  • Terminal/Tray: See Terminal Repair Kit
  • Core/Insulation Crimp: See Terminal Repair Kit
  • Release Tool/Test Probe: See Terminal Repair Kit

A/T Shift Lock Control Solenoid (M30)

Pin

Wire

Circuit

Function

A

0.35 WH

323

Shift Solenoid Control

B

0.35 D-BU

2050

Ground

Automatic Transmission Fluid Pressure (TFP) Manual Valve Position Switch (M30)


Object Number: 168424  Size: CH

Connector Part Information

  • OEM: 12162213
  • Service: Non-Serviceable
  • Description: 5-Way F Metri-Pack 150.2 P2 Series (NA)

Terminal Part Information

  • Terminal/Tray: Non-Serviceable
  • Core/Insulation Crimp: Non-Serviceable
  • Release Tool/Test Probe: Non-Serviceable

Automatic Transmission Fluid Pressure (TFP) Manual Valve Position Switch (M30)

Pin

Wire

Circuit

Function

A

0.5 BN

1227

TFT Sensor Signal

B

0.5 GY

452

Low Reference

C

0.5 PK

1224

Transmission Fluid Pressure Switch Signal A

D

0.5 OG

1226

Transmission Fluid Pressure Switch Signal C

E

0.5 D-BU

1225

Transmission Fluid Pressure Switch Signal B

Accelerator Pedal Position (APP) Sensor


Object Number: 1334452  Size: CH

Connector Part Information

  • OEM: 15383136
  • Service: 89046653
  • Description: 6-Way F Sealed (BK)

Terminal Part Information

  • Terminal/Tray: 4-969005-1/16
  • Core/Insulation Crimp: E/1
  • Release Tool/Test Probe: J-38125-560/J-35616-33 (YE)

Accelerator Pedal Position (APP) Sensor

Pin

Wire

Circuit

Function

1

0.35 PU

1272

Low Reference

2

0.35 WH/BK

1164

5-Volt Reference

3

0.35 D-BU

1161

APP Sensor 1 Signal

4

0.35 BN

1271

Low Reference

5

0.35 TN

1274

5-Volt Reference

6

0.35 L-BU

1162

APP Sensor 2 Signal

Accessory Switch


Object Number: 802513  Size: CH

Connector Part Information

  • OEM: 15332169
  • Service: 88986447
  • Description: 14-Way F GT 150 Series (BK)

Terminal Part Information

  • Terminal/Tray: 12191812/19
  • Core/Insulation Crimp: E/C
  • Release Tool/Test Probe: 15315247/J-35616-2A (GY)

Accessory Switch

Pin

Wire

Circuit

Function

A

0.35 PK

339

Ignition Voltage

B

0.35 L-GN/BK

1563

2-HI Indicator - Control (4WD)

0.35 PU/WH

1572

TCS Requested Indicator Control (NW7)

C

0.35 BN

9

Park Lamp Control

D

0.35 TN/BK

2308

Passenger Air Bag Off Indicator Control

E

0.35 PK

2307

Passenger Air Bag On Indicator Control

F

0.35 BN

1560

Neutral Indicator Control (4WD)

G

0.35 GY

8

Instrument Panel Lamp Dimmer Switch Signal

H

0.35 BK

2050

Ground

J

0.35 TN/BK

1566

4-HI Indicator - Control (4WD)

0.35 BN/WH

1571

Traction Control Switch Signal (NW7)

K

--

--

Not Used

L

0.35 YE

234

Seat Belt Indicator Control

M

0.35 GY/BK

1694

5-Volt Reference (4WD)

N

0.35 L-BU/BK

1693

Switch Signal Low (4WD)

P

0.35 PU/WH

1565

4-LO Indicator - Control (4WD)

Ambient Light Sensor


Object Number: 82383  Size: CH

Connector Part Information

  • OEM: 12047662
  • Service: 12085535
  • Description: 2-Way F Metri-Pack 150 Series (BK)

Terminal Part Information

  • Terminal/Tray: 12064971/5
  • Core/Insulation Crimp: E/C
  • Release Tool/Test Probe: 12094429/J-35616-2A (GY)

Ambient Light Sensor

Pin

Wire

Circuit

Function

A

0.35 WH

278

Ambient Light Sensor Signal

B

0.35 BK

279

Low Reference

Auxiliary Power Outlet 1


Object Number: 320518  Size: CH

Connector Part Information

  • OEM: 12176446
  • Service: 15305923
  • Description: 3-Way F Metri-Pack 280 Series Flex Lock (BK)

Terminal Part Information

  • Terminal/Tray: 12110844/4
  • Core/Insulation Crimp: C/A
  • Release Tool/Test Probe: 15315247/J-35616-4A (PU)

Auxiliary Power Outlet 1

Pin

Wire

Circuit

Function

A

0.8 OG

40

Battery Positive Voltage

B

--

--

Not Used

C

0.8 BK

2050

Ground

Auxiliary Power Outlet 2 (KC5)


Object Number: 320518  Size: CH

Connector Part Information

  • OEM: 12176446
  • Service: 15305923
  • Description: 3-Way F Metri-Pack 280 Series Flex Lock (BK)

Terminal Part Information

  • Pins: A
  • Terminal/Tray: See Terminal Repair Kit
  • Core/Insulation Crimp: See Terminal Repair Kit
  • Release Tool/Test Probe: See Terminal Repair Kit
  • Pins: C
  • Terminal/Tray: 12110844/4
  • Core/Insulation Crimp: C/A
  • Release Tool/Test Probe: 15315247/J-35616-4A (PU)

Auxiliary Power Outlet 2 (KC5)

Pin

Wire

Circuit

Function

A

0.8 OG

240

Battery Positive Voltage

B

--

--

Not Used

C

0.8 BK

2050

Ground

Backup Lamp - Left


Object Number: 877925  Size: CH

Connector Part Information

  • OEM: 16530668
  • Service: See Catalog
  • Description: 3-Way F (L-GY)

Terminal Part Information

  • Terminal/Tray: See Terminal Repair Kit
  • Core/Insulation Crimp: See Terminal Repair Kit
  • Release Tool/Test Probe: See Terminal Repair Kit

Backup Lamp - Left

Pin

Wire

Circuit

Function

A

L-GN

--

Backup Lamp Control

B

--

--

Not Used

G

BK

--

Ground

BK

--

Ground

Backup Lamp - Right


Object Number: 877925  Size: CH

Connector Part Information

  • OEM: 16530668
  • Service: See Catalog
  • Description: 3-Way F (L-GY)

Terminal Part Information

  • Terminal/Tray: See Terminal Repair Kit
  • Core/Insulation Crimp: See Terminal Repair Kit
  • Release Tool/Test Probe: See Terminal Repair Kit

Backup Lamp - Right

Pin

Wire

Circuit

Function

A

L-GN

--

Backup Lamp Control

B

--

--

Not Used

G

BK

--

Ground

BK

--

Ground

Backup Lamp Switch (MA5)


Object Number: 516604  Size: CH

Connector Part Information

  • OEM: 12103584
  • Service: 12085485
  • Description: 2-Way M Weather-Pack (BK)

Terminal Part Information

  • Terminal/Tray: See 12089040/3
  • Core/Insulation Crimp: E/5
  • Release Tool/Test Probe: 12014012-1/J-35616-9 (OG)

Backup Lamp Switch (MA5)

Pin

Wire

Circuit

Function

A

0.5 PK

539

Ignition Voltage

B

0.5 L-GN

24

Backup Lamp Control

Blower Motor


Object Number: 1335559  Size: CH

Connector Part Information

  • OEM: 15438389
  • Service: 88987963
  • Description: 2-Way F (WH)

Terminal Part Information

  • Terminal/Tray: 7116-2877/10
  • Core/Insulation Crimp: F/G
  • Release Tool/Test Probe: 12094430/J-35616-42 (RD)

Blower Motor

Pin

Wire

Circuit

Function

1

2 BN

41

Ignition Voltage

2

2 OG

52

Blower Motor High Control

Blower Motor Resistor Assembly


Object Number: 816184  Size: CH

Connector Part Information

  • OEM: 12129566
  • Service: 15306069
  • Description: 4-Way F Metri-Pack 280 Series Sealed (GY)

Terminal Part Information

  • Terminal/Tray: 12015858/4
  • Core/Insulation Crimp: F/G
  • Release Tool/Test Probe: 12094430/J-35616-4A (PU)

Blower Motor Resistor Assembly

Pin

Wire

Circuit

Function

A

2 TN

63

Blower Motor Medium 1 Control

B

2 L-BU

72

Medium 2 Blower Motor Control

C

2 OG

52

Blower Motor High Control

D

2 YE

60

Blower Motor Low Control

Body Control Module (BCM) X1


Object Number: 1567229  Size: CH

Connector Part Information

  • OEM: 15480437
  • Service: 88988604
  • Description: 56-Way F GT 280/Micro 64 Series (BK)

Terminal Part Information

  • Pins: A2, A3, A4, A5, A6, A7, A8, A11, A12, A18, A19, A20, A24, A25, A26, A29, A30, A31, A32, A38, A39, A40, A41, A42, A43, A44, A45, A46, A47, A48, B1, B2, B3, B4, B5, B6, B7, B8
  • Terminal/Tray: See Terminal Repair Kit
  • Core/Insulation Crimp: See Terminal Repair Kit
  • Release Tool/Test Probe: See Terminal Repair Kit

Body Control Module (BCM) X1

Pin

Wire

Circuit

Function

A1

--

--

Not Used

A2

0.35 YE

317

Fog Lamp Relay Control

A3

0.8 L-BU

14

Left Turn Signal Lamps Control

A4

0.35 GY/BK

690

Courtesy Lamp Control (TR9)

A5

0.35 PK/WH

1970

Headlamp Relay Control

A6

0.35 BK

755

RAP Relay Coil Control

A7

0.5 OG

740

Battery Positive Voltage

A8

0.35 D-GN

113

Windshield Wiper Switch Signal 2

A9-A10

--

--

Not Used

A11

0.35 L-BU

244

Passenger Door Lock Switch Lock Control (AUO)

A12

0.35 WH

194

Door Unlock Control (AUO)

A13-A17

--

--

Not Used

A18

0.35 BK/WH

1969

Beam Select Relay Control

A19

0.8 D-BU

15

Right Turn Signal Lamps Control

A20

0.35 YE

196

Windshield Wiper Motor Park Switch Signal

A21-A23

--

--

Not Used

A24

0.35 BN/WH

301

Park Lamp Relay Control

A25

0.35 BK/WH

238

Seat Belt Switch - Left

A26

0.35 OG

300

Ignition Voltage

A27-A28

--

--

Not Used

A29

0.35 OG

1732

Courtesy Lamps Control

A30

0.35 OG

1732

Courtesy Lamps Control

A31

0.8 L-BU

1134

Park Brake Switch Signal

A32

0.35 GY/BK

745

Left Front Door Ajar Switch Signal

A33-A37

--

--

Not Used

A38

0.35 L-GN/BK

748

Right Rear Door Ajar Switch Signal

A39

0.35 BK/WH

746

Right Rear Door Ajar Switch Signal (CREW CAB)

A40

0.35 BK

28

Horn Relay Control

A41

0.35 PU

1807

Class 2 Serial Data (UE1)

A42

0.35 PU

1807

Class 2 Serial Data

A43

0.35 D-GN/WH

762

A/C Request Signal

A44

0.35 L-BU/BK

747

Left Rear Door Ajar Switch Signal (CREW CAB)

A45

0.35 PK

849

Brake Fluid Level Sensor Signal

A46

0.35 WH

156

Courtesy Lamp Low Control

A47

0.35 PU

1807

Class 2 Serial Data

A48

0.35 BN

9

Park Lamp Control

B1

0.5 YE

18

Left Rear Turn Signal Lamps Control

B2

0.5 D-GN

19

Right Rear Turn Signal Lamps Control

B3

0.35 BK/WH

1251

Ground

B4

0.5 RD

228

Windshield Washer Pump Control

B5

0.5 OG

840

Battery Positive Voltage

B6

0.5 D-BU

338

Ignition Voltage

B7

0.5 BN

4

Ignition Voltage

B8

0.5 OG

1340

Battery Positive Voltage

Body Control Module (BCM) X2


Object Number: 1567229  Size: CH

Connector Part Information

  • OEM: 15480439
  • Service: 88988604
  • Description: 56-Way F GT 280/Micro 64 Series (GY)

Terminal Part Information

  • Pins: A1, A2, A3, A4, A5, A7, A8, A9, A10, A11, A12, A13, A14, A17, A18, A19, A25, A26, A28, A29, A31, A35, A36, A37, A38, A39, A40, A41, A42, A43, A44, A45, A46, A47, A48, B3, B4, B5, B7, B8
  • Terminal/Tray: See Terminal Repair Kit
  • Core/Insulation Crimp: See Terminal Repair Kit
  • Release Tool/Test Probe: See Terminal Repair Kit

Body Control Module (BCM) X2

Pin

Wire

Circuit

Function

A1

0.35 PU

524

Headlamp Dimmer Switch High Beam Signal

A2

0.35 WH

103

Headlamp Switch Headlamps On Signal

A3

0.35 GY

112

Windshield Wiper Switch Signal 1

A4

0.5 BN/WH

230

Instrument Panel Lamps Dimming Control

A5

0.35 YE

183

Front Fog Lamp Indicator Control

A6

--

--

Not Used

A7

0.35 BN/WH

301

Park Lamp Relay Control

A8

0.35 BN

1356

Flash To Pass Switch Signal

A9

0.35 PU/WH

549

Headlamp Switch Headlamps Off Signal

A10

0.35 PU

719

Low Reference

A11

0.35 D-BU/WH

1495

Dome Overide Switch Signal

A12

0.35 PU

328

Interior Lamp Switch Signal

A13

0.35 WH/BK

158

Cargo Lamp Switch Signal (TR9)

A14

0.5 WH

1390

Ignition Voltage

A15-A16

--

--

Not Used

A17

0.35 BN/WH

1571

Traction Control Switch Signal (2WD with NW7)

A18

0.35 OG

192

Fog Lamps Enable (T96)

A19

0.35 GY

728

Security Indicator Control

A20-A24

--

--

Not Used

A25

0.35 BK

28

Horn Relay Control

A26

0.35 PU/WH

1572

TCS Requested Indicator Control (2WD with NW7)

A27

--

--

Not Used

A28

0.35 GY

8

Instrument Panel Lamps Dimmer Switch Signal

A29

0.35 GY

8

Instrument Panel Lamps Dimmer Switch Signal

A30

--

--

Not Used

A31

0.35 BN

323

Shift Solenoid Control

A32-A34

--

--

Not Used

A35

0.35 GY

8

Instrument Panel Lamp Dimmer Switch Signal

A36

0.35 GY

8

Instrument Panel Lamp Dimmer Switch Signal

A37

0.35 WH

278

Ambient Light Sensor Signal

A38

0.35 PU

1807

Class 2 Serial Data

A39

0.35 PU

1807

Class 2 Serial Data

A40

0.35 OG

1732

Courtesy Lamps Control (TR9)

A41

0.35 WH

156

Courtesy Lamp Low Control (TR9)

A42

0.35 WH/BK

1073

Ignition Key Resistor Signal

A43

0.35 BK

279

Low Reference

A44

0.35 PU

1807

Class 2 Serial Data

A45

0.35 L-BU

1508

Turn Signal Switch Signal

A46

0.35 OG

1732

Courtesy Lamps Control (TR9)

A47

0.35 WH

156

Courtesy Lamp Low Control (TR9)

A48

0.35 WH

111

Hazard Switch Signal

B1-B2

--

--

Not Used

B3

0.5 D-GN

19

Right Rear Turn Signal Lamps Control

B4

0.5 YE

18

Left Rear Turn Signal Lamps Control

B5

0.5 RD

228

Windshield Washer Pump Control

B6

--

--

Not Used

B7

0.5 BN

4

Ignition Voltage

B8

0.5 D-BU

338

Ignition Voltage

Brake Fluid Level Switch


Object Number: 900247  Size: CH

Connector Part Information

  • OEM: 15359366
  • Service: 88987993
  • Description: 2-Way F GT 150 Series Sealed (BK)

Terminal Part Information

  • Terminal/Tray: See Terminal Repair Kit
  • Core/Insulation Crimp: See Terminal Repair Kit
  • Release Tool/Test Probe: See Terminal Repair Kit

Brake Fluid Level Switch

Pin

Wire

Circuit

Function

A

0.35 PK

849

Brake Fluid Level Sensor Signal

B

0.35 BK

850

Ground

Camshaft Position (CMP) Actuator Solenoid Valve


Object Number: 523630  Size: CH

Connector Part Information

  • OEM: 15326801
  • Service: 15306156
  • Description: 2-Way F GT 150 Series (BK)

Terminal Part Information

  • Terminal/Tray: See 15326427/5
  • Core/Insulation Crimp: E/A
  • Release Tool/Test Probe: See Terminal Repair Kit 15315247/J-35616-2A (GY)

Camshaft Position (CMP) Actuator Solenoid Valve

Pin

Wire

Circuit

Function

A

0.35 BN

2198

Camshaft Position Actuator Solenoid High Control

B

0.35 BK

2199

Low Reference

Camshaft Position (CMP) Sensor


Object Number: 726825  Size: CH

Connector Part Information

  • OEM: 15393906
  • Service: See Catalog
  • Description: 3-Way F GT 150 Series Sealed (BK)

Terminal Part Information

  • Terminal/Tray: 15326267/19
  • Core/Insulation Crimp: E/4
  • Release Tool/Test Probe: 15315247/J-35616-2A (GY)

Camshaft Position (CMP) Sensor

Pin

Wire

Circuit

Function

A

0.35 RD

631

12-Volt Reference

B

0.35 PK/BK

632

Low Reference

C

0.35 BK

630

Camshaft Position Signal

Cargo Lamp - Left


Object Number: 744036  Size: CH

Connector Part Information

  • OEM: 12110053
  • Service: See Catalog
  • Description: 2-Way F LP SOC Wedge Base Assembly (L-GY)

Terminal Part Information

  • Terminal/Tray: See Terminal Repair Kit
  • Core/Insulation Crimp: See Terminal Repair Kit
  • Release Tool/Test Probe: See Terminal Repair Kit

Cargo Lamp - Left

Pin

Wire

Circuit

Function

A

WH

690

Courtesy Lamps Control

0.35 WH

690

Courtesy Lamps Control

B

0.35 BK/WH

850

Ground

0.35 BK/WH

850

Ground

Cargo Lamp - Right


Object Number: 744036  Size: CH

Connector Part Information

  • OEM: 12110053
  • Service: See Catalog
  • Description: 2-Way F LP SOC Wedge Base Assembly (L-GY)

Terminal Part Information

  • Terminal/Tray: See Terminal Repair Kit
  • Core/Insulation Crimp: See Terminal Repair Kit
  • Release Tool/Test Probe: See Terminal Repair Kit

Cargo Lamp - Right

Pin

Wire

Circuit

Function

A

0.35 WH

690

Courtesy Lamps Control

B

0.35 BK/WH

850

Ground

Center High Mounted Stop Lamp (CHMSL) - Left


Object Number: 744036  Size: CH

Connector Part Information

  • OEM: 12110053
  • Service: See Catalog
  • Description: 2-Way F LP SOC Wedge Base Assembly (L-GY)

Terminal Part Information

  • Terminal/Tray: See Terminal Repair Kit
  • Core/Insulation Crimp: See Terminal Repair Kit
  • Release Tool/Test Probe: See Terminal Repair Kit

Center High Mounted Stop Lamp (CHMSL) - Left

Pin

Wire

Circuit

Function

A

0.8 BN

20

Stop Lamps Control

0.8 BN

20

Stop Lamps Control

B

0.5 BK/WH

850

Ground

0.5 BK/WH

850

Ground

Center High Mounted Stop Lamp (CHMSL) - Right


Object Number: 744036  Size: CH

Connector Part Information

  • OEM: 12110053
  • Service: See Catalog
  • Description: 2-Way F LP SOC Wedge Base Assembly (L-GY)

Terminal Part Information

  • Terminal/Tray: See Terminal Repair Kit
  • Core/Insulation Crimp: See Terminal Repair Kit
  • Release Tool/Test Probe: See Terminal Repair Kit

Center High Mounted Stop Lamp (CHMSL) - Right

Pin

Wire

Circuit

Function

A

0.8 BN

20

Stop Lamps Control

B

0.5 BK/WH

850

Ground

0.5 BK/WH

850

Ground

Clutch Pedal Position (CPP) Sensor (MA5)


Object Number: 1243663  Size: CH

Connector Part Information

  • OEM: 15332132
  • Service: 88953364
  • Description: 3-Way F GT 150 Series (BK)

Terminal Part Information

  • Terminal/Tray: 15393150/5
  • Core/Insulation Crimp: E/C
  • Release Tool/Test Probe: 15315247/J-35616-2A (GY)

Clutch Pedal Position (CPP) Sensor (MA5)

Pin

Wire

Circuit

Function

A

0.35 D-GN

6293

5-Volt Reference

B

0.35 D-BU

6306

Clutch Pedal Position Sensor Signal

C

0.35 D-GN/WH

6294

Low Reference

Courtesy Lamp - Footwell Left


Object Number: 1335537  Size: CH

Connector Part Information

  • OEM: 15437400
  • Service: See Catalog
  • Description: 2-Way F LP SOC Wedge (BK)

Terminal Part Information

  • Terminal/Tray: See Terminal Repair Kit
  • Core/Insulation Crimp: See Terminal Repair Kit
  • Release Tool/Test Probe: See Terminal Repair Kit

Courtesy Lamp - Footwell Left

Pin

Wire

Circuit

Function

A

0.35 OG

1732

Courtesy Lamps Control

B

0.35 WH

156

Courtesy Lamp Low Control

Courtesy Lamp - Footwell Right


Object Number: 1335537  Size: CH

Connector Part Information

  • OEM: 15437400
  • Service: See Catalog
  • Description: 2-Way F LP SOC Wedge (BK)

Terminal Part Information

  • Terminal/Tray: See Terminal Repair Kit
  • Core/Insulation Crimp: See Terminal Repair Kit
  • Release Tool/Test Probe: See Terminal Repair Kit

Courtesy Lamp - Footwell Right

Pin

Wire

Circuit

Function

A

0.35 OG

1732

Courtesy Lamps Control

B

0.35 WH

156

Courtesy Lamp Low Control

Crankshaft Position (CKP) Sensor


Object Number: 1331456  Size: CH

Connector Part Information

  • OEM: 15393906
  • Service: See Catalog
  • Description: 3-Way F GT 150 Series Sealed (BK)

Terminal Part Information

  • Terminal/Tray: 12191819/8
  • Core/Insulation Crimp: E/1
  • Release Tool/Test Probe: 15315247/J-35616-2A (GY)

Crankshaft Position (CKP) Sensor

Pin

Wire

Circuit

Function

A

0.35 L-GN

1867

12-Volt Reference

B

0.35 D-BU/WH

1869

CKP Sensor Signal

C

0.35 YE/BK

1868

Low Reference

Data Link Connector (DLC)


Object Number: 808656  Size: CH

Connector Part Information

  • OEM: 15317575
  • Service: 15317575
  • Description: 16-Way F Metri-Pack/150 Series (BK)

Terminal Part Information

  • Terminal/Tray: 12129484/19
  • Core/Insulation Crimp: Pins 2, 4, 5 - E/C
  • Core/Insulation Crimp: Pins 16 - E/A
  • Release Tool/Test Probe: 12094429/J-35616-2A (GY)

Data Link Connector (DLC)

Pin

Wire

Circuit

Function

1

--

--

Not Used

2

0.35 PU

1807

Class 2 Serial Data

3

--

--

Not Used

4

0.35 BK

2050

Ground

5

0.35 BK/WH

1151

Ground

6

0.5 TN/WH

2500

High Speed GMLAN Serial Data (-)

7-13

--

--

Not Used

14

0.5 TN

2501

High Speed GMLAN Serial Data (+)

15

--

--

Not Used

16

0.8 OG

40

Battery Positive Voltage

Digital Radio Receiver (U2K)


Object Number: 850856  Size: CH

Connector Part Information

  • OEM: 15394150
  • Service: See Catalog
  • Description: 16-Way F ASM (WH)

Terminal Part Information

  • Terminal/Tray: 15359541/4
  • Core/Insulation Crimp: M/M
  • Release Tool/Test Probe: 15381651-2/J-35616-64B (L-BU)

Digital Radio Receiver (U2K)

Pin

Wire

Circuit

Function

1

--

--

Not Used

2

0.35 BN/WH

367

Remote Playback Device Left Audio Signal

3

0.35 D-GN/WH

368

Remote Playback Device Right Audio Signal

4-6

--

--

Not Used

7

0.35 PU

1807

Class 2 Serial Data

8

--

--

Not Used

9

0.5 BK/WH

1151

Ground

10

0.35 BK/WH

372

Remote Playback Device Audio Common Signal

11-15

--

--

Not Used

16

1 OG

1140

Battery Positive Voltage

Dome Lamp


Object Number: 82383  Size: CH

Connector Part Information

  • OEM: 12047662
  • Service: 12085535
  • Description: 2-Way F Metri-Pack 150 Series (BK)

Terminal Part Information

  • Terminal/Tray: 12064971/5
  • Core/Insulation Crimp: E/C
  • Release Tool/Test Probe: 12094429/J-35616-2A (GY)

Dome Lamp

Pin

Wire

Circuit

Function

A

0.35 OG

1732

Courtesy Lamps Control

B

0.35 WH

156

Courtesy Lamp Low Control

Door Jamb Switch - Driver


Object Number: 821858  Size: CH

Connector Part Information

  • OEM: 15316639
  • Service: 15306434
  • Description: 2-Way F Multi-Lock (BK)

Terminal Part Information

  • Terminal/Tray: 173681-2/17
  • Core/Insulation Crimp: E/4
  • Release Tool/Test Probe: 15315247/J-35616-16 (L-GN)

Door Jamb Switch - Driver

Pin

Wire

Circuit

Function

1

0.35 GY/BK

745

Left Front Door Ajar Switch Signal

2

0.35 BK/WH

1151

Ground

Door Jamb Switch - Front Passenger


Object Number: 821858  Size: CH

Connector Part Information

  • OEM: 15316639
  • Service: 15306434
  • Description: 2-Way F Multi-Lock (BK)

Terminal Part Information

  • Terminal/Tray: 173681-2/17
  • Core/Insulation Crimp: E/4
  • Release Tool/Test Probe: 15315247/J-35616-16 (L-GN)

Door Jamb Switch - Front Passenger

Pin

Wire

Circuit

Function

1

0.35 L-GN/BK

748

Right Front Door Ajar Switch Signal (Regular/Crew Cab)

GY/BK

0.35 745

Right Front Door Ajar Switch Signal (Extended Cab)

2

0.35 BK/WH

1251

Ground

Door Jamb Switch - Left Rear (Crew Cab)


Object Number: 821858  Size: CH

Connector Part Information

  • OEM: 15316639
  • Service: 15306434
  • Description: 2-Way F Multi-Lock (BK)

Terminal Part Information

  • Terminal/Tray: 173681-2/17
  • Core/Insulation Crimp: E/4
  • Release Tool/Test Probe: 15315247/J-35616-16 (L-GN)

Door Jamb Switch - Left Rear (Crew Cab)

Pin

Wire

Circuit

Function

1

0.35 BK/WH

746

Left Rear Door Ajar Switch Signal

2

0.35 BK/WH

1251

Ground

Door Jamb Switch - Right Rear (Crew Cab)


Object Number: 821858  Size: CH

Connector Part Information

  • OEM: 15316639
  • Service: 15306434
  • Description: 2-Way F Multi-Lock (BK)

Terminal Part Information

  • Terminal/Tray: 173681-2/17
  • Core/Insulation Crimp: E/4
  • Release Tool/Test Probe: 15315247/J-35616-16 (L-GN)

Door Jamb Switch - Right Rear (Crew Cab)

Pin

Wire

Circuit

Function

1

0.35 L-BU/BK

747

Right Rear Door Ajar Switch Signal

2

0.35 BK/WH

1151

Ground

Door Lock Actuator - Driver (AU3)


Object Number: 1336230  Size: CH

Connector Part Information

  • OEM: 15383439
  • Service: 89046646
  • Description: 2-Way F 090 II Sealed (WH)

Terminal Part Information

  • Terminal/Tray: 8100-0461/6
  • Core/Insulation Crimp: E/1
  • Release Tool/Test Probe: 15315247/J-35616-2A (GY)

Door Lock Actuator - Driver (AU3)

Pin

Wire

Circuit

Function

1

0.8 TN

694

Door Lock Actuator Unlock Control

2

0.8 GY

295

Door Lock Actuator Lock Control

Door Lock Actuator - Front Passenger (AU3)


Object Number: 1336230  Size: CH

Connector Part Information

  • OEM: 15383439
  • Service: 89046646
  • Description: 2-Way F 090 II Sealed (WH)

Terminal Part Information

  • Terminal/Tray: 8100-0461/6
  • Core/Insulation Crimp: E/1
  • Release Tool/Test Probe: 15315247/J-35616-2A (GY)

Door Lock Actuator - Front Passenger (AU3)

Pin

Wire

Circuit

Function

1

0.8 TN

294

Door Lock Actuator Unlock Control

2

0.8 GY

295

Door Lock Actuator Lock Control

Door Lock Actuator - Left Rear (Crew Cab with AU3)


Object Number: 1336230  Size: CH

Connector Part Information

  • OEM: 15383439
  • Service: 89046646
  • Description: 2-Way F 090 II Sealed (WH)

Terminal Part Information

  • Terminal/Tray: 8100-0461/6
  • Core/Insulation Crimp: E/1
  • Release Tool/Test Probe: 15315247/J-35616-2A (GY)

Door Lock Actuator - Left Rear (Crew Cab with AU3)

Pin

Wire

Circuit

Function

1

0.8 TN

294

Door Lock Actuator Unlock Control

2

0.8 GY

295

Door Lock Actuator Lock Control

Door Lock Actuator - Right Rear (Crew Cab with AU3)


Object Number: 1336230  Size: CH

Connector Part Information

  • OEM: 15383439
  • Service: 89046646
  • Description: 2-Way F 090 II Sealed (WH)

Terminal Part Information

  • Terminal/Tray: 8100-0461/6
  • Core/Insulation Crimp: E/1
  • Release Tool/Test Probe: 15315247/J-35616-2A (GY)

Door Lock Actuator - Right Rear (Crew Cab with AU3)

Pin

Wire

Circuit

Function

1

0.8 TN

294

Door Lock Actuator Unlock Control

2

0.8 GY

295

Door Lock Actuator Lock Control

Door Lock and Window Switch - Driver X1 (A31/AU3)


Object Number: 1335541  Size: CH

Connector Part Information

  • OEM: 12105465
  • Service: 88987940
  • Description: 8-Way F 090 II (WH)

Terminal Part Information

  • Pins: 1, 2, 3, 4, 5, 6, 7, 8
  • Terminal/Tray: 12129960/19
  • Core/Insulation Crimp: Pins 1, 2, 3, 4, 5 - C/A
  • Core/Insulation Crimp: Pins 6, 7, 8 - See Terminal Repair Kit
  • Release Tool/Test Probe: 12094429/J-35616-18 (BK)

Door Lock and Window Switch - Driver X1 (A31/AU3)

Pin

Wire

Circuit

Function

1

0.8 OG

1240

Battery Positive Voltage

2

0.8 TN

694

Driver Door Lock Actuator Unlock Control

3

0.5 BK

850

Ground

4

0.8 GY

295

Door Lock Actuator Lock Control

5

0.8 TN

294

Door Lock Actuator Unlock Control

6

2 YE

443

Ignition Voltage

7

2 D-BU

164

Power Window Motor Left Front Up Control

8

2 BN

165

Power Window Motor Left Front Down Control

Door Lock and Window Switch - Driver X2 (A31/AU3)


Object Number: 1336194  Size: CH

Connector Part Information

  • OEM: 15380363
  • Service: 15380363
  • Description: 14-Way F 040 III (WH)

Terminal Part Information

  • Terminal/Tray: 15355438/20
  • Core/Insulation Crimp: E/C
  • Release Tool/Test Probe: 15315247/J-35616-12 (BU)

Door Lock and Window Switch - Driver X2 (A31/AU3)

Pin

Wire

Circuit

Function

1

0.35 D-BU

1307

Power Window Master Switch Lockout Signal

2

0.35 BN

9

Park Lamp Control

3

--

--

Not Used

4

0.35 PU

171

Power Window Master Switch Right Rear Down Signal

5

0.35 L-GN

170

Power Window Master Switch Right Rear Up Signal

6

0.35 D-BU

245

Passenger Door Lock Switch Unlock Control

7

0.35 L-BU

244

Passenger Door Lock Switch Lock Control

8

0.35 L-BU

166

Power Window Master Switch Right Front Up Signal

9

0.35 TN

167

Power Window Master Switch Right Front Down Signal

10

--

--

Not Used

11

0.35 YE

1187

Power Window Master Switch Left Rear Down Signal

12

0.35 D-GN

168

Power Window Master Switch Left Rear Up Signal

13

0.35 WH

194

Door Unlock Control

14

--

--

Not Used

Door Lock and Window Switch - Front Passenger (A31/AU3)


Object Number: 1336245  Size: CH

Connector Part Information

  • OEM: 15383359
  • Service: 15383359
  • Description: 12-Way F 090 II (WH)

Terminal Part Information

  • Terminal/Tray: 12129960/19
  • Core/Insulation Crimp: Pins 3, 4, 6, 7, 8, 9, 10, 11, 12 - See Terminal Repair Kit
  • Core/Insulation Crimp: Pins 5 - C/A
  • Release Tool/Test Probe: 12094429/J-35616-18 (BK)

Door Lock and Window Switch - Front Passenger (A31/AU3)

Pin

Wire

Circuit

Function

1-2

--

--

Not Used

3

0.35 D-BU

245

Passenger Door Lock Switch Unlock Control

4

0.35 L-BU

244

Passenger Door Lock Switch Lock Control

5

1 BK

2050

Ground

6

0.35 BN

9

Park Lamp Control

7

0.35 D-BU

1307

Power Window Master Switch Lockout Signal

8

0.35 TN

167

Power Window Master Switch Right Front Down Signal

9

0.35 L-BU

166

Power Window Master Switch Right Front Up Signal

10

2 BN

667

Power Window Motor Right Front Down Control

11

2 YE

443

Ignition Voltage

12

2 D-BU

666

Power Window Motor Right Front Up Control

Electronic Brake Control Module (EBCM)


Object Number: 1334459  Size: CH

Connector Part Information

  • OEM: 15409795
  • Service: 88953414
  • Description: 28-Way F Series Sealed (GY)

Terminal Part Information

  • Pins: 1, 2, 3, 4
  • Terminal/Tray: 8100-0468/6
  • Core/Insulation Crimp: F/5
  • Release Tool/Test Probe: 12094430/J-35616-40 (BU)
  • Pins: 5
  • Terminal/Tray: 8100-1467/6
  • Core/Insulation Crimp: 8/8
  • Release Tool/Test Probe: 15315247/J-35616-64B (L-BU)
  • Pins: 7, 10, 11, 12, 16, 17, 18, 21, 22, 23, 26, 28
  • Terminal/Tray: 8100-1466/6
  • Core/Insulation Crimp: 7/7
  • Release Tool/Test Probe: 15315247/J-35616-64B (L-BU)

Electronic Brake Control Module (EBCM)

Pin

Wire

Circuit

Function

1

2 OG

540

Battery Positive Voltage

2

2 BK

2050

Ground

3

3 BK

850

Ground

4

3 RD

542

Battery Positive Voltage

5

0.8 L-BU

20

Stop Lamp Control

6

--

--

Not Used

7

0.35 PU

1807

Class 2 Serial Data

8-9

--

--

Not Used

10

0.35 BN

718

Low Reference (4WD)

11

0.35 TN

833

Right Front Wheel Speed Sensor Signal

12

0.35 D-GN

872

12-Volt Reference

13-15

--

--

Not Used

16

0.35 PU

1807

Class 2 Serial Data

17

0.35 D-BU

716

LNG Rate Signal (4WD)

18

0.35 L-BU

830

12-Volt Reference

19-20

--

--

Not Used

21

0.35 PK

1439

Ignition Voltage

22

0.35 TN/BK

464

Delivered Torque Signal (NW7)

23

0.35 OG/BK

463

Requested Torque Signal (NW7)

24-25

--

--

Not Used

26

0.35 YE

873

Left Front Wheel Speed Sensor Signal

27

--

--

Not Used

28

0.35 YE/BK

1827

Vehicle Speed Signal

Engine Control Module (ECM) X1


Object Number: 1590948  Size: CH

Connector Part Information

  • OEM: 13599443
  • Service: See Catalog
  • Description: 56-Way F MX123 Series, Sealed (BU)

Terminal Part Information

  • Terminal/Tray: See Terminal Repair Kit
  • Core/Insulation Crimp: Terminal Repair Kit
  • Release Tool/Test Probe: Terminal Repair Kit

Engine Control Module (ECM) X1

Pin

Wire

Circuit

Function

1

--

--

Not Used

2

0.35 PU

420

Cruise Control Release Signal (K34)

3

--

--

Not Used

4

0.35 D-GN/WH

1559

4WD Low Signal (4WD)

5-6

--

--

Not Used

7

0.8 L-BU

20

Stop Lamp Control

8

--

--

Not Used

9

0.35 BK

2759

Low Reference

10-11

--

--

Not Used

12

0.35 BN/WH

419

MIL Control

13

0.35 D-GN/WH

465

Fuel Pump Relay Control

14

--

--

Not Used

15

0.35 PU

1807

Class 2 Serial Data

16

0.35 PU

1807

Class 2 Serial Data

17

--

--

Not Used

18

0.5 BN

4

Ignition Voltage

19

0.35 PK

639

Ignition Voltage

20

0.35 OG

440

Battery Positive Voltage

21

0.35 YE/BK

1827

Vehicle Speed Signal

22-25

--

--

Not Used

26

0.35 YE/BK

625

Starter Enable Relay Control

27-28

--

--

Not Used

29

0.35 GY

1884

Cruise Control Switch Signal (K34)

30-32

--

--

Not Used

33

0.35 WH/BK

1164

5-Volt Reference

34

0.35 GY

2709

5-Volt Reference

35

0.35 TN

1274

5-Volt Reference

36

0.35 BN

1271

Low Reference

37

0.35 PU

1272

Low Reference

38-39

--

--

Not Used

40

0.35 YE

5991

Powertrain Relay Control

41-43

--

--

Not Used

44

0.35 PU

1589

Fuel Level Sensor Signal

45-46

--

--

Not Used

47

0.35 D-BU

1161

APP Sensor 1 Signal

48

0.35 D-GN

890

Fuel Tank Pressure Sensor Signal

49

0.35 L-BU

1162

APP Sensor 2 Signal

50

--

--

Not Used

51

0.35 PU

421

AIR Solenoid Relay Control (K18)

52

--

--

Not Used

53

0.35 D-GN/WH

459

A/C Compressor Clutch Relay Control

54

--

--

Not Used

55

0.5 WH

1310

EVAP Canister Vent Solenoid Control

56

--

--

Not Used

Engine Control Module (ECM) X2


Object Number: 1673472  Size: CH

Connector Part Information

  • OEM: 34566-7703
  • Service: See Catalog
  • Description: 73-Way F MX123 34566 Series (BK)

Terminal Part Information

  • Pins: 1-9, 11-13, 16-19, 23, 24, 27, 29, 32-35, 39, 40, 42-44, 48, 49, 52-55, 59, 60, 62-64, 66, 72
  • Terminal/Tray: 33467-0005/23
  • Core/Insulation Crimp: J/J
  • Release Tool/Test Probe: J-38125-213/J-35616-64B (L-BU)
  • Pins: 73
  • Terminal/Tray: 7116-4152-02/9
  • Core/Insulation Crimp: 2/5
  • Release Tool/Test Probe: 12094430/J-35616-35 (VT)

Engine Control Module (ECM) X2

Pin

Wire

Circuit

Function

1

0.5 PU

2121

IC 1 Control

2

0.5 TN/WH

1653

HO2S Low Signal Sensor 1

3

0.5 D-GN

1655

HO2S High Signal - Sensor 1

4

0.5 PU/WH

1668

HO2S High Signal - Sensor 2

5

0.5 TN/WH

1669

HO2S Low Signal - Sensor 2

6-7

--

--

Not Used

8

0.35 L-BU

1876

Knock Sensor Signal

9

0.35 GY

2303

Knock Sensor Signal

10

--

--

Not Used

11

0.5 YE

581

TAC Motor Control - 1

12

0.5 BN

582

TAC Motor Control - 2

13

0.5 PK

739

Ignition Voltage

14

0.5 BN

2198

CMP Actuator Solenoid Control

15-16

--

--

Not Used

17

0.5 L-BU

2123

IC 3 Control

18-22

--

--

Not Used

23

0.5 PK/BK

632

Low Reference

24

0.5 BK

2755

Low Reference

25-26

--

--

Not Used

27

0.5 D-BU/WH

1869

Low Reference

28

--

--

Not Used

29

0.5 TN

2752

Low Reference

30-31

--

--

Not Used

32

0.5 L-GN/BK

1745

Fuel Injector 2 Control (LLV)

0.5 L-BU/BK

844

Fuel Injector 4 Control (LLR)

33

0.5 D-GN/WH

2124

IC 4 Control (LLV)

0.5 D-GN

2125

IC 5 Control (LLR)

34-38

--

--

Not Used

39

0.35 OG

631

5-Volt Reference

40-41

--

--

Not Used

42

0.5 BK

2760

Low Reference

43

0.5 L-GN

1867

5-Volt Reference

44

0.5 GY

2701

5-Volt Reference

45

--

--

Not Used

46

0.35 TN

2199

Low Reference

47

--

--

Not Used

48

0.5 PK/BK

1746

Fuel Injector 3 Control

49-51

--

--

Not Used

52

0.5 L-GN/BK

1745

Fuel Injector 2 Control (LLR)

53

0.5 OG/WH

2122

IC 2 Control (LLV)

0.5 D-GN/WH

2124

IC 4 Control (LLR)

54

0.5 RD/WH

2122

IC 2 Control (LLR)

55-58

--

--

Not Used

59

0.5 TN

630

Low Reference

60-61

--

--

Not Used

62

0.5 L-BU

6289

IAT Sensor Signal

63

0.5 YE/BK

1868

CKP Sensor Signal

64

0.5 D-GN

485

TP Sensor 1 Signal

65

--

--

Not Used

66

0.5 PU

486

TP Sensor 2 Signal

67

0.5 YE

492

MAF Sensor Signal

68

0.5 D-GN

676

HO2S Heater High Control - Sensor 1

69

0.5 BK/WH

1423

HO2S Heater Low Control - Sensor 2

70

--

--

Not Used

71

0.5 L-BU/BK

844

Fuel Injector 4 Control (LLV)

0.5 BK/WH

845

Fuel Injector 5 Control (LLR)

72

0.5 BK

1744

Fuel Injector 1 Control

73

2 BK/WH

451

Ground

Engine Control Module (ECM) X3


Object Number: 1673472  Size: CH

Connector Part Information

  • OEM: 34566-1243
  • Service: See Catalog
  • Description: 73-Way F MX123 34566 Series (GY)

Terminal Part Information

  • Terminal/Tray: 33467-0005/23
  • Core/Insulation Crimp: J/J
  • Release Tool/Test Probe: J-38125-213/J-35616-64B (L-BU)

Engine Control Module (ECM) X3

Pin

Wire

Circuit

Function

1-6

--

--

Not Used

7

0.5 PU

5428

Generator Regulator Control

8

--

--

Not Used

9

0.5 BN

436

AIR Relay Control (K18)

10-11

--

--

Not Used

12

0.35 TN/BK

464

Delivered Torque Signal

13-16

--

--

Not Used

17

0.35 OG/BK

463

Requested Torque Signal

18-20

--

--

Not Used

21

0.5 BK/WH

2751

Low Reference

22

--

--

Not Used

23

0.5 OG/BK

469

Low Reference

24-25

--

--

Not Used

26

0.5 D-BU/WH

6785

Low Reference (K18)

27

0.5 D-GN/WH

6294

Low Reference (MA5)

28

--

--

Not Used

29

0.5 GY

23

Generator Field Duty Cycle Signal

30-32

--

--

Not Used

33

0.5 TN

2501

High Speed GMLAN Serial Data Bus -

34

--

--

Not Used

35

0.5 TN

2761

Low Reference

36

--

--

Not Used

37

0.5 GY

2700

5-Volt Reference

38

--

--

Not Used

39

0.5 GY

2704

5-Volt Reference

40-41

--

--

Not Used

42

0.5 BN/WH

6789

5-Volt Reference (K18)

43

0.5 D-GN

6293

5-Volt Reference (MA5)

44-45

--

--

Not Used

46

0.5 D-GN

1433

PNP/Clutch Start Switch Signal (M30)

47

--

--

Not Used

48

0.5 D-GN/WH

428

EVAP Canister Purge Solenoid Control

49-52

--

--

Not Used

53

0.5 TN/WH

2500

High Speed GMLAN Serial Data Bus +

54

--

--

Not Used

55

0.5 YE

410

ECT Sensor Signal

56

--

--

Not Used

57

0.5 OG/BK

380

A/C Refrigerant Pressure Sensor Signal

58

--

--

Not Used

59

0.5 L-GN

432

MAP Sensor Signal

60-61

--

--

Not Used

62

0.5 YE

6787

Air Injection Reaction Control Valve Control (K18)

63

0.5 D-BU

6306

Clutch Pedal Position Signal (MA5)

64

--

--

Not Used

65

0.35 TN/BK

231

Oil Pressure Switch Signal

66

0.5 PU/WH

821

VSS High Signal (MA5)

67

0.5 L-GN/BK

822

VSS Low Signal (MA5)

68-73

--

--

Not Used

Engine Coolant Temperature (ECT) Sensor


Object Number: 523630  Size: CH

Connector Part Information

  • OEM: 15326801
  • Service: 15306156
  • Description: 2-Way F GT 150 Series (BK)

Terminal Part Information

  • Terminal/Tray: 12191819/8
  • Core/Insulation Crimp: E/1
  • Release Tool/Test Probe: 15315247/J-35616-2A (GY)

Engine Coolant Temperature (ECT) Sensor

Pin

Wire

Circuit

Function

A

0.35 BK

2761

Low Reference

B

0.35 YE

410

ECT Sensor Signal

Engine Oil Pressure (EOP) Switch


Object Number: 516616  Size: CH

Connector Part Information

  • OEM: 12065400
  • Service: 12126436
  • Description: 4-Way F Metri-Pack 150 Series (GN)

Terminal Part Information

  • Terminal/Tray: 12048074/2
  • Core/Insulation Crimp: E/1
  • Release Tool/Test Probe: 12094429/J-35616-2A (GY)

Engine Oil Pressure (EOP) Switch

Pin

Wire

Circuit

Function

A

0.35 TN/BK

231

Oil Pressure Switch Signal

B

0.5 BK

2755

Low Reference

C-D

--

--

Not Used

Evaporative Emission (EVAP) Canister Purge Solenoid Valve


Object Number: 684795  Size: CH

Connector Part Information

  • OEM: 12052643
  • Service: 12101858
  • Description: 2-Way F Metri-Pack 150 Series Sealed (RD)

Terminal Part Information

  • Terminal/Tray: 12048074/2
  • Core/Insulation Crimp: E/1
  • Release Tool/Test Probe: 12094429/J-35616-2A (GY)

Evaporative Emission (EVAP) Canister Purge Solenoid Valve

Pin

Wire

Circuit

Function

A

0.5 PK

439

Ignition Voltage

B

0.35 D-GN/WH

428

EVAP Canister Purge Solenoid Control

Evaporative Emission (EVAP) Canister Vent Solenoid


Object Number: 684795  Size: CH

Connector Part Information

  • OEM: 12052643
  • Service: 12101858
  • Description: 2-Way F Metri-Pack 150 Series Sealed (RD)

Terminal Part Information

  • Terminal/Tray: 12048074/2
  • Core/Insulation Crimp: E/1
  • Release Tool/Test Probe: 12094429/J-35616-2A (GY)

Evaporative Emission (EVAP) Canister Vent Solenoid

Pin

Wire

Circuit

Function

A

0.35 OG

1640

Battery Positive Voltage

B

0.35 WH

1310

EVAP Canister Vent Solenoid Control

Evaporator Temperature Sensor (C60)


Object Number: 697021  Size: CH

Connector Part Information

  • OEM: 15368694
  • Service: 88953272
  • Description: 3-Way F Metri-Pack 150 Series (WH)

Terminal Part Information

  • Terminal/Tray: 173630-7/7
  • Core/Insulation Crimp: E/4
  • Release Tool/Test Probe: 15315247/J-35616-33 (YE)

Evaporator Temperature Sensor (C60)

Pin

Wire

Circuit

Function

1

0.35 L-GN

66

A/C Request Signal

2

0.35 D-GN/WH

762

A/C Request Signal

3

0.35 BK

2050

Ground

Fog Lamp - Left Front


Object Number: 684797  Size: CH

Connector Part Information

  • OEM: 12059183
  • Service: 12101898
  • Description: 2-Way F Metri-Pack 280 Series Sealed (BK)

Terminal Part Information

  • Terminal/Tray: 12077411/2
  • Core/Insulation Crimp: 2/5
  • Release Tool/Test Probe: 12094430/J-35616-4A (PU)

Fog Lamp - Left Front

Pin

Wire

Circuit

Function

A

0.5 PU

34

Fog Lamps Control

B

0.5 BK

850

Ground

Fog Lamp - Right Front


Object Number: 684797  Size: CH

Connector Part Information

  • OEM: 12059183
  • Service: 12101898
  • Description: 2-Way F Metri-Pack 280 Series Sealed (BK)

Terminal Part Information

  • Terminal/Tray: 12077411/2
  • Core/Insulation Crimp: 2/5
  • Release Tool/Test Probe: 12094430/J-35616-4A (PU)

Fog Lamp - Right Front

Pin

Wire

Circuit

Function

A

0.5 PU

34

Fog Lamps Control

B

0.5 BK

850

Ground

Front Drive Axle Actuator (4WD)


Object Number: 1333935  Size: CH

Connector Part Information

  • OEM: 12077591
  • Service: 12117277
  • Description: 5-Way F Metri-Pack 150 Series Sealed (BK)

Terminal Part Information

  • Terminal/Tray: 12048074/2
  • Core/Insulation Crimp: E/1
  • Release Tool/Test Probe: 12094429/J-35616-2A (GY)

Front Drive Axle Actuator (4WD)

Pin

Wire

Circuit

Function

A

0.5 BK/WH

1695

Axle Switch Signal

B

0.35 L-BU

1296

Axle Actuator - Control

C

0.5 PK

1539

Ignition Voltage

D

--

--

Not Used

E

0.5 BK

550

Ground

Fuel Injector 1 (LLV)


Object Number: 1527729  Size: CH

Connector Part Information

  • OEM: 15419715
  • Service: See Catalog
  • Description: 2-Way F GT 150 Series Sealed (GY)

Terminal Part Information

  • Terminal/Tray: 12191819/8
  • Core/Insulation Crimp: E/1
  • Release Tool/Test Probe: 15315247/J-35616-2A (GY)

Fuel Injector 1 (LLV)

Pin

Wire

Circuit

Function

A

0.5 PK

839

Ignition Voltage

B

0.5 BK

1744

Fuel Injector 1 Control

Fuel Injector 1 (LLR)


Object Number: 833727  Size: CH

Connector Part Information

  • OEM: 15411634
  • Service: See Catalog
  • Description: 2-Way F Micro-Pack 064 Sealed (GY)

Terminal Part Information

  • Terminal/Tray: 15305174/8
  • Core/Insulation Crimp: E/1
  • Release Tool/Test Probe: 12180559-1/J-35616-64B (L-BU)

Fuel Injector 1 (LLR)

Pin

Wire

Circuit

Function

A

0.5 PK

439

Ignition Voltage

B

0.5 BK

1744

Fuel Injector 1 Control

Fuel Injector 2 (LLV)


Object Number: 1527729  Size: CH

Connector Part Information

  • OEM: 15419715
  • Service: See Catalog
  • Description: 2-Way F GT 150 Series Sealed (GY)

Terminal Part Information

  • Terminal/Tray: 12191819/8
  • Core/Insulation Crimp: E/1
  • Release Tool/Test Probe: 15315247/J-35616-2A (GY)

Fuel Injector 2 (LLV)

Pin

Wire

Circuit

Function

A

0.5 PK

839

Ignition Voltage

B

0.5 L-GN/BK

1745

Fuel Injector 2 Control

Fuel Injector 2 (LLR)


Object Number: 833727  Size: CH

Connector Part Information

  • OEM: 15411634
  • Service: See Catalog
  • Description: 2-Way F Micro-Pack 064 Sealed (GY)

Terminal Part Information

  • Terminal/Tray: 15305174/8
  • Core/Insulation Crimp: E/1
  • Release Tool/Test Probe: 12180559-1/J-35616-64B (L-BU)

Fuel Injector 2 (LLR)

Pin

Wire

Circuit

Function

A

0.5 PK

439

Ignition Voltage

B

0.5 L-GN/BK

1745

Fuel Injector 2 Control

Fuel Injector 3 (LLV)


Object Number: 1527729  Size: CH

Connector Part Information

  • OEM: 15419715
  • Service: See Catalog
  • Description: 2-Way F GT 150 Series Sealed (GY)

Terminal Part Information

  • Terminal/Tray: 12191819/8
  • Core/Insulation Crimp: E/1
  • Release Tool/Test Probe: 15315247/J-35616-2A (GY)

Fuel Injector 3 (LLV)

Pin

Wire

Circuit

Function

A

0.5 PK

839

Ignition Voltage

B

0.5 PK/BK

1746

Fuel Injector 3 Control

Fuel Injector 3 (LLR)


Object Number: 833727  Size: CH

Connector Part Information

  • OEM: 15411634
  • Service: See Catalog
  • Description: 2-Way F Micro-Pack 064 Sealed (GY)

Terminal Part Information

  • Terminal/Tray: 15305174/8
  • Core/Insulation Crimp: E/1
  • Release Tool/Test Probe: 12180559-1/J-35616-64B (L-BU)

Fuel Injector 3 (LLR)

Pin

Wire

Circuit

Function

A

0.5 PK

439

Ignition Voltage

B

0.5 PK/BK

1746

Fuel Injector 3 Control

Fuel Injector 4 (LLV)


Object Number: 1527729  Size: CH

Connector Part Information

  • OEM: 15419715
  • Service: See Catalog
  • Description: 2-Way F GT 150 Series Sealed (GY)

Terminal Part Information

  • Terminal/Tray: 12191819/8
  • Core/Insulation Crimp: E/1
  • Release Tool/Test Probe: 15315247/J-35616-2A (GY)

Fuel Injector 4 (LLV)

Pin

Wire

Circuit

Function

A

0.5 PK

839

Ignition Voltage

B

0.5 L-BU/BK

844

Fuel Injector 4 Control

Fuel Injector 4 (LLR)


Object Number: 833727  Size: CH

Connector Part Information

  • OEM: 15411634
  • Service: See Catalog
  • Description: 2-Way F Micro-Pack 064 Sealed (GY)

Terminal Part Information

  • Terminal/Tray: 15305174/8
  • Core/Insulation Crimp: E/1
  • Release Tool/Test Probe: 12180559-1/J-35616-64B (L-BU)

Fuel Injector 4 (LLR)

Pin

Wire

Circuit

Function

A

0.5 PK

439

Ignition Voltage

B

0.5 L-BU/BK

844

Fuel Injector 4 Control

Fuel Injector 5 (LLR)


Object Number: 833727  Size: CH

Connector Part Information

  • OEM: 15411634
  • Service: See Catalog
  • Description: 2-Way F Micro-Pack 064 Sealed (GY)

Terminal Part Information

  • Terminal/Tray: 15305174/8
  • Core/Insulation Crimp: E/1
  • Release Tool/Test Probe: 12180559-1/J-35616-64B (L-BU)

Fuel Injector 5 (LLR)

Pin

Wire

Circuit

Function

A

0.5 PK

439

Ignition Voltage

B

0.5 BK/WH

845

Fuel Injector 5 Control

Fuel Pump and Sender Assembly


Object Number: 684908  Size: CH

Connector Part Information

  • OEM: 15326631
  • Service: 15306360
  • Description: 4-Way F GT 280 Series Sealed 5.8 (BK)

Terminal Part Information

  • Terminal/Tray: 15304719/19
  • Core/Insulation Crimp: Pins A, D - 2/5
  • Core/Insulation Crimp: Pins B, C - E/5
  • Release Tool/Test Probe: 15315247/J-35616-4A (PU)

Fuel Pump and Sender Assembly

Pin

Wire

Circuit

Function

A

1 BK

850

Ground

B

0.35 PU

1589

Fuel Level Sensor Signal

C

0.35 BK

2759

Low Reference

D

1 GY

120

Fuel Pump Control

Fuel Tank Pressure (FTP) Sensor


Object Number: 516611  Size: CH

Connector Part Information

  • OEM: 12059595
  • Service: 88986451
  • Description: 3-Way F Metri-Pack 150 Series Sealed (BK)

Terminal Part Information

  • Terminal/Tray: 12048074/2
  • Core/Insulation Crimp: E/1
  • Release Tool/Test Probe: 12094429/J-35616-2A (GY)

Fuel Tank Pressure (FTP) Sensor

Pin

Wire

Circuit

Function

A

0.35 BK

2759

Low Reference

B

0.35 D-GN

890

Fuel Tank Pressure Sensor Signal

C

0.35 GY

2709

5-Volt Reference

Generator X1


Object Number: 1522871  Size: CH

Connector Part Information

  • OEM: 12186308
  • Service: 89046837
  • Description: 2-Way F Timer Junior Power Timer Series Sealed (BK)

Terminal Part Information

  • Terminal/Tray: 4-964286-1/16
  • Core/Insulation Crimp: E/1
  • Release Tool/Test Probe: 647/J-35616-4A (PU)

Generator X1

Pin

Wire

Circuit

Function

1

0.5 RD

225

Generator Turn On Signal

2

0.5 GY

23

Generator Field Duty Cycle Signal

Generator Battery Control Module


Object Number: 632344  Size: CH

Connector Part Information

  • OEM: 15326842
  • Service: 15326842
  • Description: 10-Way F GT 150 Series Sealed (BK)

Terminal Part Information

  • Pins: A, B, D, F, J, K
  • Terminal/Tray: 12191819/8
  • Core/Insulation Crimp: E/1
  • Release Tool/Test Probe: 647/J-35616-4A (PU)
  • Pins: C, H
  • Terminal/Tray: 12191819/8
  • Core/Insulation Crimp: 2/1
  • Release Tool/Test Probe: 647/J-35616-4A (PU)

Generator Battery Control Module

Pin

Wire

Circuit

Function

A

0.5 OG

2040

Battery Positive Voltage

B

0.5 GY

23

Generator Field Duty Cycle Signal

C

1 OG

2040

Battery Positive Voltage

D

0.5 RD

225

Generator Turn On Signal

E

--

--

Not Used

F

0.5 BK/WH

451

Ground

G

--

--

Not Used

H

1 BK/WH

451

Ground

J

0.35 PU

5428

Generator Regulator Control

K

0.35 PU

1807

Class 2 Serial Data

Hazard Switch


Object Number: 333035  Size: CH

Connector Part Information

  • OEM: 12047781
  • Service: 12101864
  • Description: 3-Way F Metri-Pack 150 Series (BK)

Terminal Part Information

  • Terminal/Tray: 12064971/5
  • Core/Insulation Crimp: E/C
  • Release Tool/Test Probe: 12094429/J-35616-2A (GY)

Hazard Switch

Pin

Wire

Circuit

Function

A

0.35 GY

8

Instrument Panel Lamps Dimmer Switch Signal

B

0.35 BK

2050

Ground

C

0.35 WH

111

Hazard Switch Signal

Headlamp - High Beam - Left (TT5)


Object Number: 684797  Size: CH

Connector Part Information

  • OEM: 12059183
  • Service: 12101898
  • Description: 2-Way F Metri-Pack 280 Series Sealed (BK)

Terminal Part Information

  • Terminal/Tray: 12077411/2
  • Core/Insulation Crimp: 2/5
  • Release Tool/Test Probe: 12094430/J-35616-4A (PU)

Headlamp - High Beam - Left (TT5)

Pin

Wire

Circuit

Function

A

0.35 OG

640

Headlamp Control

B

0.35 PK

1200

High Beam Switched Ground

Headlamp - High Beam - Right (TT5)


Object Number: 684797  Size: CH

Connector Part Information

  • OEM: 12059183
  • Service: 12101898
  • Description: 2-Way F Metri-Pack 280 Series Sealed (BK)

Terminal Part Information

  • Terminal/Tray: 12077411/2
  • Core/Insulation Crimp: 2/5
  • Release Tool/Test Probe: 12094430/J-35616-4A (PU)

Headlamp - High Beam - Right (TT5)

Pin

Wire

Circuit

Function

A

0.35 OG

640

Headlamp Control

B

0.35 PK

1200

High Beam Switched Ground

Headlamp - Left (-TT5)


Object Number: 306269  Size: CH

Connector Part Information

  • OEM: 12034372
  • Service: 12117369
  • Description: 3-Way F Metri-Pack 800 Series (BK)

Terminal Part Information

  • Terminal/Tray: 12020634/18
  • Core/Insulation Crimp: Pins A, C - 4/B
  • Core/Insulation Crimp: Pins B - See Terminal Repair Kit
  • Release Tool/Test Probe: 12150860/J-35616-44 (YE)

Headlamp - Left (-TT5)

Pin

Wire

Circuit

Function

A

1 OG

640

Headlamp Control

B

1 PK

1200

High Beam Switched Ground

C

1 D-BU

1201

Low Beam Switched Ground

Headlamp - Low Beam - Left (TT5)


Object Number: 684797  Size: CH

Connector Part Information

  • OEM: 12059181
  • Service: 12101897
  • Description: 2-Way F Metri-Pack 280 Series Sealed (BK)

Terminal Part Information

  • Terminal/Tray: 12077411/2
  • Core/Insulation Crimp: 2/5
  • Release Tool/Test Probe: 12094430/J-35616-4A (PU)

Headlamp - Low Beam - Left (TT5)

Pin

Wire

Circuit

Function

A

0.35 OG

640

Headlamp Control

B

0.35 D-BU

1201

Low Beam Switched Ground

Headlamp - Low Beam - Right (TT5)


Object Number: 684797  Size: CH

Connector Part Information

  • OEM: 12059181
  • Service: 12101897
  • Description: 2-Way F Metri-Pack 280 Series Sealed (BK)

Terminal Part Information

  • Terminal/Tray: 12077411/2
  • Core/Insulation Crimp: 2/5
  • Release Tool/Test Probe: 12094430/J-35616-4A (PU)

Headlamp - Low Beam - Right (TT5)

Pin

Wire

Circuit

Function

A

1 OG

640

Headlamp Control

B

1 D-BU

1201

Low Beam Switched Ground

Headlamp - Right (-TT5)


Object Number: 306269  Size: CH

Connector Part Information

  • OEM: 12034372
  • Service: 12117369
  • Description: 3-Way F Metri-Pack 800 Series (BK)

Terminal Part Information

  • Terminal/Tray: 12020634/18
  • Core/Insulation Crimp: Pins A, C - 4/B
  • Core/Insulation Crimp: Pins B - See Terminal Repair Kit
  • Release Tool/Test Probe: 12150860/J-35616-44 (YE)

Headlamp - Right (-TT5)

Pin

Wire

Circuit

Function

A

1 OG

640

Headlamp Control

B

1 PK

1200

High Beam Switched Ground

C

1 D-BU

1201

Low Beam Switched Ground

Headlamp and Panel Dimmer Switch


Object Number: 1335532  Size: CH

Connector Part Information

  • OEM: 15405512
  • Service: 88986257
  • Description: 14-Way F 035 ILAG5 (GN)

Terminal Part Information

  • Terminal/Tray: IL-AG5-C1-5000 /20
  • Core/Insulation Crimp: K/K
  • Release Tool/Test Probe: J-38125-211/J-35616-64B (L-BU)

Headlamp and Panel Dimmer Switch

Pin

Wire

Circuit

Function

1

0.35 D-BU/WH

1495

Dome Override Switch Signal

2

0.35 BN/WH

301

Park Lamp Relay Control

3

0.35 PU

719

Low Reference

4

0.35 WH

103

Headlamp Switch Headlamps On Signal

5

0.35 PU/WH

549

Headlamp Switch Headlamps Off Signal

6

0.35 GY

8

Instrument Panel Lamps Dimmer Switch Signal

7

0.35 OG

192

Fog Lamps Enable (T96)

8

0.35 YE

183

Front Fog Lamp Indicator Control

9

--

--

Not Used

10

0.35 WH/BK

158

Cargo Lamp Switch Signal (TR9)

11

0.35 PU

328

Interior Lamp Switch Signal

12-13

--

--

Not Used

14

0.35 BN/WH

230

Instrument Panel Lamps Dimming Control

Heated Oxygen Sensor (HO2S) 1


Object Number: 655691  Size: CH

Connector Part Information

  • OEM: 12146046
  • Service: 15306365
  • Description: 4-Way F Metri-Pack 150 Series (GY)

Terminal Part Information

  • Terminal/Tray: 12048074/2
  • Core/Insulation Crimp: E/1
  • Release Tool/Test Probe: 12094429/J-35616-2A (GY)

Heated Oxygen Sensor (HO2S) 1

Pin

Wire

Circuit

Function

A

0.5 TN/WH

1653

HO2S Low Signal

B

0.5 D-GN

1655

HO2S High Signal

C

--

--

Not Available

D

0.5 PK

414

HO2S - Heater Elements - Control

E

0.5 D-GN

676

HO2S Heater High Control

Heated Oxygen Sensor (HO2S) 2


Object Number: 628099  Size: CH

Connector Part Information

  • OEM: 12092840
  • Service: 15306311
  • Description: 4-Way M Metri-Pack 150 Series (GY)

Terminal Part Information

  • Terminal/Tray: 12045773/2
  • Core/Insulation Crimp: E/1
  • Release Tool/Test Probe: 12094429/J-35616-3 (GY)

Heated Oxygen Sensor (HO2S) 2

Pin

Wire

Circuit

Function

A

0.5 TN/WH

1669

HO2S Low Signal

B

0.5 PU/WH

1668

HO2S High Signal

C

--

--

Not Used

D

0.5 PK

414

HO2S - Heater Elements - Control

E

0.5 BK/WH

1423

HO2S Heater Low Control

Heater Element Seat Back - Driver (KA1)


Object Number: 258301  Size: CH

Connector Part Information

  • OEM: 12059254
  • Service: 12126020
  • Description: 2-Way M Metri-Pack 150 Series (L-GN)

Terminal Part Information

  • Terminal/Tray: See Terminal Repair Kit
  • Core/Insulation Crimp: See Terminal Repair Kit
  • Release Tool/Test Probe: See Terminal Repair Kit

Heater Element Seat Back - Driver (KA1)

Pin

Wire

Circuit

Function

A

BK

--

Ground

B

YE

--

Heated Seat Back Element Control

Heater Element Seat Back - Passenger (KA1)


Object Number: 258301  Size: CH

Connector Part Information

  • OEM: 12059254
  • Service: 12126020
  • Description: 2-Way M Metri-Pack 150 Series (L-GN)

Terminal Part Information

  • Terminal/Tray: See Terminal Repair Kit
  • Core/Insulation Crimp: See Terminal Repair Kit
  • Release Tool/Test Probe: See Terminal Repair Kit

Heater Element Seat Back - Passenger (KA1)

Pin

Wire

Circuit

Function

A

BK

--

Ground

B

YE

--

Heated Seat Back Element Control

Horn Assembly


Object Number: 1243578  Size: CH

Connector Part Information

  • OEM: 15421930
  • Service: 89046631
  • Description: 2-Way F Metri-Pack 150 Series Sealed (BK)

Terminal Part Information

  • Terminal/Tray: 12176636/19
  • Core/Insulation Crimp: See Terminal Repair Kit
  • Release Tool/Test Probe: 12094429/J-35616-2A (GY)

Horn Assembly

Pin

Wire

Circuit

Function

A

0.35 BK

850

Ground

B

0.35 D-GN

29

Horn Control

Horn Switch


Object Number: 365953  Size: CH

Connector Part Information

  • OEM: 12092133
  • Service: 12167133
  • Description: 1-Way F Metri-Pack 630 Series Self Locking (BK)

Terminal Part Information

  • Terminal/Tray: See Terminal Repair Kit
  • Core/Insulation Crimp: See Terminal Repair Kit
  • Release Tool/Test Probe: See Terminal Repair Kit

Horn Switch

Pin

Wire

Circuit

Function

A

0.35 L-GN

28

Horn Relay Control

HVAC Control Module X1


Object Number: 62467  Size: CH

Connector Part Information

  • OEM: 12064980
  • Service: 12102629
  • Description: 9-Way F Micro-Pack 100 Series (BK)

Terminal Part Information

  • Terminal/Tray: 12146447/3
  • Core/Insulation Crimp: E/C
  • Release Tool/Test Probe: 12031876-1/J-35616-6 (BN)

HVAC Control Module X1

Pin

Wire

Circuit

Function

7

0.35 D-GN

71

OFF Blower Motor Control (C60)

8

0.35 BN

141

Ignition Voltage

9

0.35 L-GN

66

A/C Request Signal (C60)

10

0.35 L-GN/BK

1647

Recirculation Door Control B (C60)

11

0.35 PK/WH

1648

Recirculation Door Control A (C60)

12

--

--

Not Used

13

0.35 GY

8

Instrument Panel Lamps Dimmer Switch Signal

14

0.35 BK

2050

Ground

15

--

--

Not Used

HVAC Control Module X2


Object Number: 62469  Size: CH

Connector Part Information

  • OEM: 12064998
  • Service: 15306189
  • Description: 8-Way F Metri-Pack 280 Series (BK)

Terminal Part Information

  • Pins: A
  • Terminal/Tray: 12034046/2
  • Core/Insulation Crimp: E/A
  • Release Tool/Test Probe: 12094430/J-35616-4A (PU)
  • Pins: B, E, F, G, H
  • Terminal/Tray: 12015858/4
  • Core/Insulation Crimp: See Terminal Repair Kit
  • Release Tool/Test Probe: 12094430/J-35616-4A (PU)

HVAC Control Module X2

Pin

Wire

Circuit

Function

A

0.35 D-GN

71

OFF Blower Motor Control (C60)

B

2 BK

2050

Ground

C-D

--

--

Not Used

E

2 OG

52

Blower Motor High Control

F

2 L-BU

72

Medium 2 Blower Motor Control

G

2 TN

63

Blower Motor Medium 1 Control

H

2 YE

60

Blower Motor Low Control

Ignition Coil 1


Object Number: 726825  Size: CH

Connector Part Information

  • OEM: 15355370
  • Service: 15306431
  • Description: 3-Way F GT 150 Series Sealed 3.2x4.0 (BK)

Terminal Part Information

  • Terminal/Tray: 15326267/19
  • Core/Insulation Crimp: E/4
  • Release Tool/Test Probe: 15315247/J-35616-2A (GY)

Ignition Coil 1

Pin

Wire

Circuit

Function

A

0.5 PK

239

Ignition Voltage

B

0.35 PU

2121

IC 1 Control

C

0.5 BK

550

Ground

Ignition Coil 2


Object Number: 726825  Size: CH

Connector Part Information

  • OEM: 15355370
  • Service: 15306431
  • Description: 3-Way F GT 150 Series Sealed 3.2x4.0 (BK)

Terminal Part Information

  • Terminal/Tray: 15326267/19
  • Core/Insulation Crimp: E/4
  • Release Tool/Test Probe: 15315247/J-35616-2A (GY)

Ignition Coil 2

Pin

Wire

Circuit

Function

A

0.5 PK

239

Ignition Voltage

B

0.35 RD/WH

2122

IC 2 Control

C

0.5 BK

550

Ground

Ignition Coil 3


Object Number: 726825  Size: CH

Connector Part Information

  • OEM: 15355370
  • Service: 15306431
  • Description: 3-Way F GT 150 Series Sealed 3.2x4.0 (BK)

Terminal Part Information

  • Terminal/Tray: 15326267/19
  • Core/Insulation Crimp: E/4
  • Release Tool/Test Probe: 15315247/J-35616-2A (GY)

Ignition Coil 3

Pin

Wire

Circuit

Function

A

0.5 PK

239

Ignition Voltage

B

0.35 L-BU

2123

IC 3 Control

C

0.5 BK

550

Ground

Ignition Coil 4


Object Number: 726825  Size: CH

Connector Part Information

  • OEM: 15355370
  • Service: 15306431
  • Description: 3-Way F GT 150 Series Sealed 3.2x4.0 (BK)

Terminal Part Information

  • Terminal/Tray: 15326267/19
  • Core/Insulation Crimp: E/4
  • Release Tool/Test Probe: 15315247/J-35616-2A (GY)

Ignition Coil 4

Pin

Wire

Circuit

Function

A

0.5 PK

239

Ignition Voltage

B

0.35 D-GN/WH

2124

IC 4 Control

C

0.5 BK

550

Ground

Ignition Coil 5 (LLR)


Object Number: 726825  Size: CH

Connector Part Information

  • OEM: 15355370
  • Service: 15306431
  • Description: 3-Way F GT 150 Series Sealed 3.2x4.0 (BK)

Terminal Part Information

  • Terminal/Tray: 15326267/19
  • Core/Insulation Crimp: E/4
  • Release Tool/Test Probe: 15315247/J-35616-2A (GY)

Ignition Coil 5 (LLR)

Pin

Wire

Circuit

Function

A

0.5 PK

239

Ignition Voltage

B

0.35 D-GN

2125

IC 5 Control

C

0.5 BK

550

Ground

Ignition Switch


Object Number: 307727  Size: CH

Connector Part Information

  • OEM: IL-AG5-6S-S3C1
  • Service: 88987854
  • Description: 6-Way F (GN)

Ignition Switch

Pin

Wire

Circuit

Function

1

0.5 WH/RD

4

Ignition Voltage

2

0.5 WH/BK

1740

Battery Positive Voltage

3

0.5 WH/GN

338

Ignition Voltage

4

0.5 WH/BU

1390

Ignition Voltage

5

0.5 WH/YE

1073

Ignition Key Resistor Signal

6

--

--

Not Used

Inflatable Restraint Front End Sensor - Left


Object Number: 1282936  Size: CH

Connector Part Information

  • OEM: 15356724
  • Service: 15306418
  • Description: 2-Way F GT 150 Series Sealed (YE)

Terminal Part Information

  • Terminal/Tray: Service with Pigtail
  • Core/Insulation Crimp: N/A
  • Release Tool/Test Probe: 15315247/J-35616-2A (GY)

Inflatable Restraint Front End Sensor - Left

Pin

Wire

Circuit

Function

A

0.35 YE

354

Discriminating Sensor - Signal

B

0.35 GY

349

Discriminating Sensor - Left - Signal

Inflatable Restraint Front End Sensor - Right


Object Number: 1282936  Size: CH

Connector Part Information

  • OEM: 15356724
  • Service: 15306418
  • Description: 2-Way F GT 150 Series Sealed (YE)

Terminal Part Information

  • Terminal/Tray: Service with Pigtail
  • Core/Insulation Crimp: N/A
  • Release Tool/Test Probe: 15315247/J-35616-2A (GY)

Inflatable Restraint Front End Sensor - Right

Pin

Wire

Circuit

Function

A

0.35 D-GN

1409

Discriminating Sensor - Right - Signal

B

0.35 YE

1834

Front End Sensor - Voltage

Inflatable Restraint I/P Module


Object Number: 1334453  Size: CH

Connector Part Information

  • OEM: MX10-4SC
  • Service: Not Serviced
  • Description: 4-Way F MX (YE)

Terminal Part Information

  • Terminal/Tray: Service with Pigtail
  • Core/Insulation Crimp: N/A
  • Release Tool/Test Probe: See Terminal Repair Kit

Inflatable Restraint I/P Module

Pin

Wire

Circuit

Function

1

0.5 PU

3026

I/P Module - Stage 2 - Low Control

2

0.5 GY

3027

I/P Module - Stage 2 - High Control

3

0.5 OG

3024

I/P Module - Stage 1 - Low Control

4

0.5 YE

3025

I/P Module - Stage 1 - High Control

Inflatable Restraint Passenger Presence System (PPS) Module


Object Number: 1468542  Size: CH

Connector Part Information

  • OEM: 15431682
  • Service: See Catalog
  • Description: 18-Way F Micro-Pack 100W Series Sealed (BK)

Terminal Part Information

  • Terminal/Tray: Service with Terminated Lead
  • Core/Insulation Crimp: N/A
  • Release Tool/Test Probe: See Terminal Repair Kit

Inflatable Restraint Passenger Presence System (PPS) Module

Pin

Wire

Circuit

Function

1

0.35 D-BU

2307

Passenger Air Bag On Indicator Control

2

0.35 D-GN

2308

Passenger Air Bag Off Indicator Control

3

--

--

Not Used

4

0.35 PU

5611

Passenger Seat Belt Tension Sensor Signal

5

0.35 BK/WH

2151

Ground

6

0.35 WH

5608

Occupant Pressure Sensor Signal

7

0.35 L-GN

5609

Occupant Pressure Sensor Voltage Reference

8

--

--

Not Used

9

0.35 YE

1139

Ignition Voltage

10-13

--

--

Not Used

14

0.35 TN

5613

Low Reference

15

0.35 GY

5610

Low Reference

16

0.35 L-BU

5612

5-Volt Reference

17

--

--

Not Used

18

0.35 PK

2306

Serial Data Link

Inflatable Restraint Passenger Presence System (PPS) Sensor


Object Number: 1424764  Size: CH

Connector Part Information

  • OEM: 15422250
  • Service: 88987995
  • Description: 3-Way F GT 150 Series (D-GY)

Terminal Part Information

  • Terminal/Tray: Service with Pigtail
  • Core/Insulation Crimp: N/A
  • Release Tool/Test Probe: See Terminal Repair Kit

Inflatable Restraint Passenger Presence System (PPS) Sensor

Pin

Wire

Circuit

Function

A

0.35 L-GN

5609

Occupant Pressure Sensor Voltage Reference

B

0.35 WH

5608

Occupant Pressure Sensor Signal

C

0.35 GY

5610

Low Reference

Inflatable Restraint Roof Rail Module - Left (ASF)


Object Number: 1334453  Size: CH

Connector Part Information

  • OEM: 15383139
  • Service: Not Serviced
  • Description: 4-Way F (YE)

Terminal Part Information

  • Terminal/Tray: Service with Pigtail
  • Core/Insulation Crimp: N/A
  • Release Tool/Test Probe: See Terminal Repair Kit

Inflatable Restraint Roof Rail Module - Left (ASF)

Pin

Wire

Circuit

Function

1-2

--

--

Not Used

3

0.5 BN

2137

Side Impact Module - Left Front - High Control

4

0.5 YE/BK

2138

Side Impact Module - Left Front - Low Control

Inflatable Restraint Roof Rail Module - Right (ASF)


Object Number: 1334453  Size: CH

Connector Part Information

  • OEM: 15383139
  • Service: Not Serviced
  • Description: 4-Way F (YE)

Terminal Part Information

  • Terminal/Tray: Service with Pigtail
  • Core/Insulation Crimp: N/A
  • Release Tool/Test Probe: See Terminal Repair Kit

Inflatable Restraint Roof Rail Module - Right (ASF)

Pin

Wire

Circuit

Function

1-2

--

--

Not Used

3

0.5 BK/WH

2135

Side Impact Module - Right Front - High Control

4

0.5 L-GN

2136

Side Impact Module - Right Front - Low Control

Inflatable Restraint Seat Position Sensor - Left


Object Number: 280768  Size: CH

Connector Part Information

  • OEM: 12052832
  • Service: 12101825
  • Description: 2-Way F Metri-Pack 150 Series (BK)

Terminal Part Information

  • Terminal/Tray: Service with Pigtail
  • Core/Insulation Crimp: N/A
  • Release Tool/Test Probe: See Terminal Repair Kit

Inflatable Restraint Seat Position Sensor - Left

Pin

Wire

Circuit

Function

A

0.35 L-GN/WH

2638

Seat Position Sensor - Left - Signal

B

0.35 BK/WH

2644

Low Reference

Inflatable Restraint Seat Position Sensor - Right


Object Number: 280768  Size: CH

Connector Part Information

  • OEM: 12052832
  • Service: 12101825
  • Description: 2-Way F Metri-Pack 150 Series (BK)

Terminal Part Information

  • Terminal/Tray: Service with Pigtail
  • Core/Insulation Crimp: N/A
  • Release Tool/Test Probe: See Terminal Repair Kit

Inflatable Restraint Seat Position Sensor - Right

Pin

Wire

Circuit

Function

A

0.35 L-GN/WH

2645

Seat Position Sensor - Right - Signal

B

0.35 BK/WH

2644

Low Reference

Inflatable Restraint Sensing and Diagnostic Module (SDM)


Object Number: 1283879  Size: CH

Connector Part Information

  • OEM: 15449363
  • Service: See Catalog
  • Description: 42-Way F Micro-Pack 100 W (D-GY)

Terminal Part Information

  • Pins: 1, 2, 3, 4, 5, 6, 7, 8, 9, 10, 11, 12, 13, 14, 15, 16, 17, 22, 23, 24, 25, 26, 27, 28, 29, 30, 31, 32, 33, 34, 35, 36, 37, 38
  • Terminal/Tray: Service with Terminated Lead
  • Core/Insulation Crimp: N/A
  • Release Tool/Test Probe: 12122523/J-35616-6 (BN)

Inflatable Restraint Sensing and Diagnostic Module (SDM)

Pin

Wire

Circuit

Function

1

0.35 YE

1139

Ignition Voltage

2

0.35 TN/BK

371

Serial Data Link

3

0.35 BK/WT

238

Seat Belt Switch - Left

4

0.35 RD

1362

Seat Belt Switch - Right

5

0.35 GY

349

Discriminating Sensor - Left - Signal

6

0.35 YE

1834

Front End Sensor - Voltage

7

0.35 YE

2131

Side Impact Sensing Module - Left - Voltage (ASF)

8

0.35 TN

2133

Side Impact Sensing Module - Right - Voltage (ASF)

9

0.35 YE

3025

I/P Module - Stage 1 - High Control

10

0.35 OG

3024

I/P Module - Stage 1 - Low Control

11

0.35 BK

407

Low Reference

12

0.35 BN

3020

Steering Wheel Module - Stage 1 - Low Control

13

0.35 TN

3021

Steering Wheel Module - Stage 1 - High Control

14

0.5 BK/WH

2135

Side Impact Module - Right Front - High Control (ASF)

15

0.5 L-GN

2136

Side Impact Module - Right Front - Low Control (ASF)

16

0.5 YE/BK

2138

Side Impact Module - Left Front - Low Control (ASF)

17

0.5 BN

2137

Side Impact Module - Left Front - High Control (ASF)

18-21

--

--

Not Used

22

0.35 PU

1807

Class 2 Serial Data

23

0.35 PU

1807

Class 2 Serial Data

24

0.35 L-GN

5055

Seat Position Sensor - Left - Signal

25

0.35 L-BU

5056

Seat Position Sensor - Right - Signal

26

0.35 YE

354

Discriminating Sensor - Signal

27

0.35 D-GN

1409

Discriminating Sensor - Right - Signal

28

0.35 WH

2132

Side Impact Sensing Module - Left - Signal (ASF)

29

0.35 D-GN

2134

Side Impact Sensing Module - Right - Signal (ASF)

30

0.5 GY

3027

I/P Module - Stage 2 - High Control

31

0.5 PU

3026

I/P Module - Stage 2 - Low Control

32

0.5 BK/WH

2151

Ground

33

0.5 PK

3022

Steering Wheel Module - Stage 2 - Low Control

34

0.5 WH

3023

Steering Wheel Module - Stage 2 - High Control

35

0.5 L-GN

2116

Seat Belt Pretensioner - Right - High Control

36

0.5 OG

2117

Seat Belt Pretensioner - Right - Low Control

37

0.5 OG/BK

2119

Seat Belt Pretensioner - Left - Low Control

38

0.5 BK/WH

2118

Seat Belt Pretensioner - Left - High Control

39-42

--

--

Not Used

Inflatable Restraint Side Impact Sensor (SIS) - Left (ASF)


Object Number: 1336240  Size: CH

Connector Part Information

  • OEM: 15356725
  • Service: 88986455
  • Description: 2-Way F GT 150 Series Sealed (YE)

Terminal Part Information

  • Terminal/Tray: Service with Pigtail
  • Core/Insulation Crimp: N/A
  • Release Tool/Test Probe: 15315247/J-35616-2A (GY)

Inflatable Restraint Side Impact Sensor (SIS) - Left (ASF)

Pin

Wire

Circuit

Function

A

0.35 WH

2132

Side Impact Sensing Module - Left - Signal

B

0.35 YE

2131

Side Impact Sensing Module - Left - Voltage

Inflatable Restraint Side Impact Sensor (SIS) - Right (ASF)


Object Number: 1336240  Size: CH

Connector Part Information

  • OEM: 15356725
  • Service: 88986455
  • Description: 2-Way F GT 150 Series Sealed (YE)

Terminal Part Information

  • Terminal/Tray: Service with Pigtail
  • Core/Insulation Crimp: N/A
  • Release Tool/Test Probe: 15315247/J-35616-2A (GY)

Inflatable Restraint Side Impact Sensor (SIS) - Right (ASF)

Pin

Wire

Circuit

Function

A

0.35 D-GN

2134

Side Impact Sensing Module - Right - Signal

B

0.35 TN

2133

Side Impact Sensing Module - Right - Voltage

Inflatable Restraint Steering Wheel Module X1


Object Number: 966373  Size: CH

Connector Part Information

  • OEM: 54560208
  • Service: See Catalog
  • Description: 2-Way F ABX-3 Cord B (TN)

Terminal Part Information

  • Terminal/Tray: Service with Pigtail
  • Core/Insulation Crimp: N/A
  • Release Tool/Test Probe: See Terminal Repair Kit

Inflatable Restraint Steering Wheel Module X1

Pin

Wire

Circuit

Function

A

0.5 YE

3021

Steering Wheel Module - Stage 1 - High Control

B

0.5 BN

3020

Steering Wheel Module - Stage 1 - Low Control

Inflatable Restraint Steering Wheel Module X2


Object Number: 966368  Size: CH

Connector Part Information

  • OEM: 54550271
  • Service: See Catalog
  • Description: 2-Way F ABX-3 Cord G (PK)

Terminal Part Information

  • Terminal/Tray: Service with Pigtail
  • Core/Insulation Crimp: N/A
  • Release Tool/Test Probe: See Terminal Repair Kit

Inflatable Restraint Steering Wheel Module X2

Pin

Wire

Circuit

Function

A

0.5 RD

3023

Steering Wheel Module - Stage 2 - High Control

B

0.5 WH

3022

Steering Wheel Module - Stage 2 - Low Control

Inside Rearview Mirror (ISRVM)


Object Number: 1710975  Size: CH

Connector Part Information

  • OEM: 15441350
  • Service: 15306351
  • Description: 16-Way F 040 II (BK)

Terminal Part Information

  • Terminal/Tray: 15445905/23
  • Core/Insulation Crimp: Pins J/J
  • Release Tool/Test Probe: 12180559/J-35616-6 (BN)

Inside Rearview Mirror (ISRVM)

Pin

Wire

Circuit

Function

1-5

--

--

Not Used

6

0.35 D-GN/WH

636

Ambient Air Temperature Sensor Signal

7

0.35 D-GN

61

Low Reference

8

0.35 BK

850

Ground

9

0.5 BN

24

Backup Lamp Control

10

--

--

Not Used

11

0.35 D-BU

2514

Keypad Signal (UE1)

12

0.35 BK

2515

Keypad Control (UE1)

13

0.35 D-BU/WH

339

Ignition Voltage

14

0.35 GY

2516

Keypad Green LED Signal

15

0.35 BN/WH

2517

Keypad Red LED Signal (UE1)

16

--

--

Not Used

Instrument Panel Cluster (IPC)


Object Number: 1335565  Size: CH

Connector Part Information

  • OEM: 15364326
  • Service: 89046871
  • Description: 18-Way F Quadlok Micro (BK)

Terminal Part Information

  • Terminal/Tray: 928999-5/15
  • Core/Insulation Crimp: Pins 1, 4, 5, 10, 11, 15, 16 - H/H
  • Core/Insulation Crimp: Pins 6, 7 - J/J
  • Release Tool/Test Probe: 12094429/J-35616-64B (L-BU)

Instrument Panel Cluster (IPC)

Pin

Wire

Circuit

Function

1

0.35 OG

1440

Battery Positive Voltage

2-3

--

--

Not Used

4

0.35 BK/WH

1151

Ground

5

0.35 BN/WH

419

MIL Control

6

0.5 YE

18

Left Rear Turn Signal Lamps Control

7

0.5 D-GN

19

Right Rear Turn Signal Lamps Control

8-9

--

--

Not Used

10

0.35 PU

1807

Class 2 Serial Data

11

0.35 PU

1807

Class 2 Serial Data

12-14

--

--

Not Used

15

0.35 YE

234

Seat Belt Indicator Control

16

0.35 GY

728

Security Indicator Control

17-18

--

--

Not Used

Input Speed Sensor (ISS) (M30)


Object Number: 1645840  Size: CH

Connector Part Information

  • OEM: 15492436
  • Service: Non-Serviceable
  • Description: 3-Way M Metri-Pack 150 Series (BK)

Terminal Part Information

  • Terminal/Tray: Non-Serviceable
  • Core/Insulation Crimp: Non-Serviceable
  • Release Tool/Test Probe: Non-Serviceable

Input Speed Sensor (ISS) (M30)

Pin

Wire

Circuit

Function

A

0.5 BK

1230

ISS Signal

B

0.5 RD

839

Ignition Voltage

C

0.5 D-GN

1231

Low Reference

Mass Air Flow (MAF)/Intake Air Temperature (IAT) Sensor


Object Number: 647974  Size: CH

Connector Part Information

  • OEM: 15326822
  • Service: 88987186
  • Description: 5-Way F GT 150 Series Sealed 4.0 (BK)

Terminal Part Information

  • Terminal/Tray: 12191819/8
  • Core/Insulation Crimp: E/1
  • Release Tool/Test Probe: 15315247/J-35616-2A (GY)

Mass Air Flow (MAF)/Intake Air Temperature (IAT) Sensor

Pin

Wire

Circuit

Function

A

0.5 YE

492

MAF Sensor Signal

B

0.5 BK/WH

451

Ground

C

0.5 PK

439

Ignition Voltage

D

0.5 BK

2760

IAT Sensor Signal

E

0.5 L-BU

6289

Low Reference

Knock Sensor (KS)


Object Number: 1232999  Size: CH

Connector Part Information

  • OEM: 15374222
  • Service: See Catalog
  • Description: 2-Way F GT 150 Series Sealed (NA)

Terminal Part Information

  • Terminal/Tray: 12191819/8
  • Core/Insulation Crimp: E/1
  • Release Tool/Test Probe: 15315247/J-35616-2A (GY)

Knock Sensor (KS)

Pin

Wire

Circuit

Function

A

0.35 L-BU

1876

KS Signal

B

0.35 GY

2303

KS Signal

License Lamp - Left


Object Number: 68721  Size: CH

Connector Part Information

  • OEM: 15300027
  • Service: 12101855
  • Description: 2-Way F Metri-Pack 280 Series Sealed (BK)

Terminal Part Information

  • Terminal/Tray: 12077411/2
  • Core/Insulation Crimp: 2/5
  • Release Tool/Test Probe: 12094430/J-35616-4A (PU)

License Lamp - Left

Pin

Wire

Circuit

Function

A

0.5 BN

9

Park Lamp Control

B

0.5 BK

850

Ground

License Lamp - Right


Object Number: 68721  Size: CH

Connector Part Information

  • OEM: 15300027
  • Service: 12101855
  • Description: 2-Way F Metri-Pack 280 Series Sealed (BK)

Terminal Part Information

  • Terminal/Tray: 12077411/2
  • Core/Insulation Crimp: 2/5
  • Release Tool/Test Probe: 12094430/J-35616-4A (PU)

License Lamp - Right

Pin

Wire

Circuit

Function

A

0.5 BN

9

Park Lamp Control

B

0.5 BK

850

Ground

Longitudinal Accelerometer Sensor (4WD)


Object Number: 1334455  Size: CH

Connector Part Information

  • OEM: 15383379
  • Service: 89046652
  • Description: 3-Way F 050 SSD Series Sealed (BK)

Terminal Part Information

  • Terminal/Tray: 7116-1680-02/12
  • Core/Insulation Crimp: E/A
  • Release Tool/Test Probe: 15315247/J-35616-12 (BU)

Longitudinal Accelerometer Sensor (4WD)

Pin

Wire

Circuit

Function

1

0.35 PK

1439

Ignition Voltage

2

0.35 D-BU

716

LNG Rate Signal

3

0.35 BN

718

Low Reference

Lumbar Adjuster/Heater Switch - Driver (AG1)


Object Number: 62434  Size: CH

Connector Part Information

  • OEM: 12045688
  • Service: 12101827
  • Description: 8-Way M Metri-Pack 150 Series (BK)

Terminal Part Information

  • Terminal/Tray: See Terminal Repair Kit
  • Core/Insulation Crimp: See Terminal Repair Kit
  • Release Tool/Test Probe: See Terminal Repair Kit

Lumbar Adjuster/Heater Switch - Driver (AG1)

Pin

Wire

Circuit

Function

A

BK

2050

Ground

B

PK

1501

Driver Heated Seat High/Low Signal

C

BN

141

Ignition Voltage

D

--

--

Not Used

E

BK

2050

Ground

F

D-BU

611

Driver Seat Lumbar Motor Forward Control

G

PK

610

Driver Seat Lumbar Motor Rearward Control

H

OG

1040

Battery Positive Voltage

Lumbar Adjuster/Heater Switch - Passenger (AG2)


Object Number: 62434  Size: CH

Connector Part Information

  • OEM: 12045688
  • Service: 12101827
  • Description: 8-Way M Metri-Pack 150 Series (BK)

Terminal Part Information

  • Terminal/Tray: See Terminal Repair Kit
  • Core/Insulation Crimp: See Terminal Repair Kit
  • Release Tool/Test Probe: See Terminal Repair Kit

Lumbar Adjuster/Heater Switch - Passenger (AG2)

Pin

Wire

Circuit

Function

A

BK

2050

Ground

B

PK

1501

Passenger Heated Seat High/Low Signal

C

BN

141

Ignition Voltage

D

RD

1362

Seat Belt Switch - Right

E

BK

2050

Ground

F

D-BU

611

Driver Seat Lumbar Motor Forward Control

G

PK

610

Passenger Seat Lumbar Motor Rearward Control

H

OG

2240

Battery Positive Voltage

Lumbar Pump Motor - Driver (AR9)


Object Number: 38274  Size: CH

Connector Part Information

  • OEM: 12034343
  • Service: 12101821
  • Description: 2-Way F Metri-Pack 280 Series (BK)

Terminal Part Information

  • Terminal/Tray: See Terminal Repair Kit
  • Core/Insulation Crimp: See Terminal Repair Kit
  • Release Tool/Test Probe: See Terminal Repair Kit

Lumbar Pump Motor - Driver (AR9)

Pin

Wire

Circuit

Function

A

D-BU

611

Driver Seat Lumbar Motor Forward Control

B

PK

610

Driver Seat Lumbar Motor Rearward Control

Lumbar Pump Motor - Passenger (AR9)


Object Number: 38274  Size: CH

Connector Part Information

  • OEM: 12034343
  • Service: 12101821
  • Description: 2-Way F Metri-Pack 280 Series (BK)

Terminal Part Information

  • Terminal/Tray: See Terminal Repair Kit
  • Core/Insulation Crimp: See Terminal Repair Kit
  • Release Tool/Test Probe: See Terminal Repair Kit

Lumbar Pump Motor - Passenger (AR9)

Pin

Wire

Circuit

Function

A

D-BU

611

Passenger Seat Lumbar Motor Forward Control

B

PK

610

Passenger Seat Lumbar Motor Rearward Control

Manifold Absolute Pressure (MAP) Sensor


Object Number: 1914850  Size: CH

Connector Part Information

  • OEM: 15397338
  • Service: See Catalog
  • Description: 3-Way F 2.8 Timer Series Sealed (BK)

Terminal Part Information

  • Terminal/Tray: 4-964286-1/16
  • Core/Insulation Crimp: E/1
  • Release Tool/Test Probe: J-38125-36/J-35616-35 (VT)

Manifold Absolute Pressure (MAP) Sensor

Pin

Wire

Circuit

Function

1

0.35 GY

2704

5-Volt Reference

2

0.35 OG/BK

469

Low Reference

3

0.35 L-GN

432

MAP Sensor Signal

Outside Rearview Mirror - Driver (DE6)


Object Number: 1336225  Size: CH

Connector Part Information

  • OEM: 15383150
  • Service: 89046644
  • Description: 4-Way F 090 (WH)

Terminal Part Information

  • Terminal/Tray: 15305180/19
  • Core/Insulation Crimp: See Terminal Repair Kit
  • Release Tool/Test Probe: 12094429/J-35616-64B (L-BU)

Outside Rearview Mirror - Driver (DE6)

Pin

Wire

Circuit

Function

1

0.35 WH

81

Driver Mirror Motor Right Control

2

0.35 L-GN

1499

Driver Mirror Motor Left/Down Control

3

--

--

Not Used

4

0.35 YE

88

Driver Mirror Motor Up Control

Outside Rearview Mirror - Front Passenger (DE6)


Object Number: 1336225  Size: CH

Connector Part Information

  • OEM: 15383150
  • Service: 89046644
  • Description: 4-Way F 090 (WH)

Terminal Part Information

  • Terminal/Tray: 15305180/19
  • Core/Insulation Crimp: See Terminal Repair Kit
  • Release Tool/Test Probe: 12094429/J-35616-64B (L-BU)

Outside Rearview Mirror - Front Passenger (DE6)

Pin

Wire

Circuit

Function

1

0.35 RD/WH

881

Passenger Mirror Motor Right Control

2

0.35 L-BU/WH

1497

Passenger Mirror Motor Left/Down Control

3

--

--

Not Used

4

0.35 BN/WH

1498

Passenger Mirror Motor Up Control

Outside Rearview Mirror Switch (DE6)


Object Number: 1336193  Size: CH

Connector Part Information

  • OEM: 15365903
  • Service: 15365903
  • Description: 10-Way F 050 050 (WH)

Terminal Part Information

  • Terminal/Tray: 7116-1257-02/14
  • Core/Insulation Crimp: E/2
  • Release Tool/Test Probe: 15315247/J-35616-12 (BU)

Outside Rearview Mirror Switch (DE6)

Pin

Wire

Circuit

Function

1

0.35 L-BU/WH

1497

Passenger Mirror Motor Left/Down Control

2

0.35 BN/WH

1498

Passenger Mirror Motor Up Control

3

0.35 YE

88

Driver Mirror Motor Up Control

4

0.35 OG

1732

Courtesy Lamps Control

5

0.35 BN

9

Park Lamp Control

6

0.35 BK

850

Ground

7

0.35 L-GN

1499

Driver Mirror Motor Left/Down Control

8

0.35 BK

850

Ground

9

0.35 WH

81

Driver Mirror Motor Right Control

10

0.35 RD/WH

881

Passenger Mirror Motor Right Control

Park Brake Switch


Object Number: 856503  Size: CH

Connector Part Information

  • OEM: 8911256
  • Service: 12102561
  • Description: 1-Way F (WH)

Terminal Part Information

  • Terminal/Tray: 12124515/1
  • Core/Insulation Crimp: See Terminal Repair Kit
  • Release Tool/Test Probe: 12094430/J-35616-42 (RD)

Park Brake Switch

Pin

Wire

Circuit

Function

A

0.8 L-BU

1134

Park Brake Switch Signal

Park Lamp - Left Front


Object Number: 877925  Size: CH

Connector Part Information

  • OEM: 16530668
  • Service: See Catalog
  • Description: 3-Way F (L-GY)

Terminal Part Information

  • Terminal/Tray: See Terminal Repair Kit
  • Core/Insulation Crimp: See Terminal Repair Kit
  • Release Tool/Test Probe: See Terminal Repair Kit

Park Lamp - Left Front

Pin

Wire

Circuit

Function

A

--

--

Not Used

B

BN

--

Park Lamp Control

G

BK

--

Ground

Park Lamp - Right Front


Object Number: 877925  Size: CH

Connector Part Information

  • OEM: 16530668
  • Service: See Catalog
  • Description: 3-Way F (L-GY)

Terminal Part Information

  • Terminal/Tray: See Terminal Repair Kit
  • Core/Insulation Crimp: See Terminal Repair Kit
  • Release Tool/Test Probe: See Terminal Repair Kit

Park Lamp - Right Front

Pin

Wire

Circuit

Function

A

BN

--

Park Lamp Control

B

BN

--

Not Used

G

BK

--

Ground

Park/Turn Signal Lamp - Left Front


Object Number: 877925  Size: CH

Connector Part Information

  • OEM: 16530672
  • Service: See Catalog
  • Description: 3-Way F (BK)

Terminal Part Information

  • Terminal/Tray: See Terminal Repair Kit
  • Core/Insulation Crimp: See Terminal Repair Kit
  • Release Tool/Test Probe: See Terminal Repair Kit

Park/Turn Signal Lamp - Left Front

Pin

Wire

Circuit

Function

A

L-BU

--

Left Turn Signal Lamps Control

B

BN

--

Park Lamp Control

BN

--

Park Lamp Control

G

BK

--

Ground

BK

--

Ground

Park/Turn Signal Lamp - Right Front


Object Number: 877925  Size: CH

Connector Part Information

  • OEM: 16530672
  • Service: See Catalog
  • Description: 3-Way F (BK)

Terminal Part Information

  • Terminal/Tray: See Terminal Repair Kit
  • Core/Insulation Crimp: See Terminal Repair Kit
  • Release Tool/Test Probe: See Terminal Repair Kit

Park/Turn Signal Lamp - Right Front

Pin

Wire

Circuit

Function

A

L-BU

--

Right Turn Signal Lamps Control

B

BN

--

Park Lamp Control

BN

--

Park Lamp Control

G

BK

--

Ground

BK

--

Ground

Park Neutral Position (PNP) Switch (M30)


Object Number: 901402  Size: CH

Connector Part Information

  • OEM: 15416722
  • Service: 88987526
  • Description: Assembly Connector 12-Way F GT (GY)

Terminal Part Information

  • Terminal/Tray: 12191819
  • Core/Insulation Crimp: E/1
  • Release Tool/Test Probe: 15315247/J-35616-2A (GY)

Park Neutral Position (PNP) Switch (M30)

Pin

Wire

Circuit

Function

1-2

--

--

Not Used

3

0.35 D-GN

1433

PNP/Clutch Start Switch Signal

4

0.35 YE

772

Transmission Range Switch Signal B

5

0.35 BK/WH

771

Transmission Range Switch Signal A

6

0.35 GY

773

Transmission Range Switch Signal C

7

0.5 BK/WH

451

Ground

8

0.35 WH

776

Transmission Range Switch Signal P

9

--

--

Not Used

10

0.5 L-GN

24

Back-Up Lamp Control

11

0.5 PK

539

Ignition Voltage

12

--

--

Not Used

Pressure Control (PC) Solenoid Valve (M30)


Object Number: 1240818  Size: CH

Connector Part Information

  • OEM: 12146800
  • Service: Non-Serviceable
  • Description: 2-Way F Metri-Pack 150.2 Series Delphi (L-GY)

Terminal Part Information

  • Terminal/Tray: Non-Serviceable
  • Core/Insulation Crimp: Non-Serviceable
  • Release Tool/Test Probe: Non-Serviceable

Pressure Control (PC) Solenoid Valve (M30)

Pin

Wire

Circuit

Function

A

0.5 PU

1228

PC Solenoid Valve High Control

B

0.5 L-BU

1229

PC Solenoid Valve Low Control

Radio X1


Object Number: 73156  Size: CH

Connector Part Information

  • OEM: 12110088
  • Service: 15306210
  • Description: 24-Way F Micro-Pack 100 Series (GY)

Terminal Part Information

  • Pins: A1, A2, A8, A9, A10, A11, B8, B9, B10, B11
  • Terminal/Tray: 12146447/3
  • Core/Insulation Crimp: E/C
  • Release Tool/Test Probe: 12031876-1/J-35616-6 (BN)
  • Pins: A12, B1
  • Terminal/Tray: 12146448/19
  • Core/Insulation Crimp: E/A
  • Release Tool/Test Probe: 12031876-1/J-35616-6 (BN)

Radio X1

Pin

Wire

Circuit

Function

A1

0.35 PU

1807

Class 2 Serial Data

A2

0.35 PU

1807

Class 2 Serial Data

A3-A7

--

--

Not Used

A8

0.5 GY

118

Left Front Speaker Output (-)

A9

0.5 TN

201

Left Front Speaker Output (+)

A10

0.5 D-BU

46

Right Rear Speaker Output (+)

A11

0.5 L-BU

115

Right Rear Speaker Output (-)

A12

1 BK/WH

1151

Ground

B1

1 OG

1140

Battery Positive Voltage

B2-B7

--

--

Not Used

B8

0.5 YE

116

Left Rear Speaker Output (-)

B9

0.5 BN

199

Left Rear Speaker Output (+)

B10

0.5 L-GN

200

Right Front Speaker Output (+)

B11

0.5 D-GN

117

Right Front Speaker Output (-)

B12

--

--

Not Used

Radio X2


Object Number: 73151  Size: CH

Connector Part Information

  • OEM: 12064799
  • Service: 15305996
  • Description: 12-Way F Micro-Pack 100 Series (BK)

Terminal Part Information

  • Terminal/Tray: 12146447/3
  • Core/Insulation Crimp: E/C
  • Release Tool/Test Probe: 12031876-1/J-35616-6 (BN)

Radio X2

Pin

Wire

Circuit

Function

A-B

--

--

Not Used

C

0.35 BARE

1573

Drain Wire (U2K)

D-F

--

--

Not Used

G

0.35 PU

1807

Class 2 Serial Data

H

0.35 D-GN/WH

368

Remote Playback Device Right Audio Signal (U2K)

J

0.35 BN/WH

367

Remote Playback Device Left Audio Signal (U2K)

K

0.35 BK/WH

372

Remote Playback Device Audio Common Signal (U2K)

L

0.35 OG/BK

1406

Remote Playback Device Left Audio Signal (UE1)

M

0.35 L-BU

1405

Remote Playback Device Audio Common Signal (UE1)

Recliner Motor - Driver Seat (AG1)


Object Number: 153645  Size: CH

Connector Part Information

  • OEM: 12129081
  • Service: 12129081
  • Description: 2-Way F Metri-Pack 280 Series (BK)

Terminal Part Information

  • Terminal/Tray: See Terminal Repair Kit
  • Core/Insulation Crimp: See Terminal Repair Kit
  • Release Tool/Test Probe: See Terminal Repair Kit

Recliner Motor - Driver Seat (AG1)

Pin

Wire

Circuit

Function

A

L-BU

277

Driver Seat Recline Motor Rearward Control

B

L-GN

276

Driver Seat Recline Motor Forward Control

Recirculation Actuator (C60)


Object Number: 704047  Size: CH

Connector Part Information

  • OEM: 12059110
  • Service: 88953271
  • Description: 2-Way F Metri-Pack 150 Series (BK)

Terminal Part Information

  • Terminal/Tray: 12064971/5
  • Core/Insulation Crimp: E/C
  • Release Tool/Test Probe: 12094429/J-35616-2A (GY)

Recirculation Actuator (C60)

Pin

Wire

Circuit

Function

A

0.35 L-GN/BK

1647

Recirculation Door Control B

B

0.35 PK/WH

1648

Recirculation Door Control A

Seat Adjuster Switch - Driver X1 (AG1)


Object Number: 808876  Size: CH

Connector Part Information

  • OEM: 12015416
  • Service: 12117340
  • Description: 8-Way F Metri-Pack 280 Series (NA)

Terminal Part Information

  • Terminal/Tray: See Terminal Repair Kit
  • Core/Insulation Crimp: See Terminal Repair Kit
  • Release Tool/Test Probe: See Terminal Repair Kit

Seat Adjuster Switch - Driver X1 (AG1)

Pin

Wire

Circuit

Function

A

OG

1040

Battery Positive Voltage

B

YE

282

Driver Seat Rear Vertical Motor Up Control

C

L-BU

283

Driver Seat Rear Vertical Motor Down Control

D

L-GN

284

Driver Seat Horizontal Motor Rearward Control

E

TN

285

Driver Seat Horizontal Motor Forward Control

F

D-GN

286

Driver Seat Front Vertical Motor Up Control

G

D-BU

287

Driver Seat Front Vertical Motor Down Control

H

BK

2050

Ground

Seat Adjuster Switch - Driver X2 (AG1)


Object Number: 38274  Size: CH

Connector Part Information

  • OEM: 12034343
  • Service: 12101821
  • Description: 2-Way F Metri-Pack 280 Series (BK)

Terminal Part Information

  • Terminal/Tray: See Terminal Repair Kit
  • Core/Insulation Crimp: See Terminal Repair Kit
  • Release Tool/Test Probe: See Terminal Repair Kit

Seat Adjuster Switch - Driver X2 (AG1)

Pin

Wire

Circuit

Function

A

L-BU

277

Driver Seat Recline Motor Rearward Control

B

L-GN

276

Driver Seat Recline Motor Forward Control

Seat Adjuster Switch - Passenger (AG2)


Object Number: 62469  Size: CH

Connector Part Information

  • OEM: 12064998
  • Service: 15306189
  • Description: 8-Way F Metri-Pack 280 Series (BK)

Terminal Part Information

  • Terminal/Tray: See Terminal Repair Kit
  • Core/Insulation Crimp: See Terminal Repair Kit
  • Release Tool/Test Probe: See Terminal Repair Kit

Seat Adjuster Switch - Passenger (AG2)

Pin

Wire

Circuit

Function

A

OG

1040

Battery Positive Voltage

B

L-BU

283

Passenger Seat Rear Vertical Motor Down Control

C

YE

282

Passenger Seat Rear Vertical Motor Up Control

D

BK

2050

Ground

E

D-BU

287

Passenger Seat Front Vertical Motor Down Control

F

D-GN

286

Passenger Seat Front Vertical Motor UP Control

G

L-GN

284

Passenger Seat Horizontal Motor Rearward Control

H

TN

285

Passenger Seat Horizontal Motor Forward Control

Seat Belt Buckle - Driver


Object Number: 35441  Size: CH

Connector Part Information

  • OEM: 12047663
  • Service: 12085481
  • Description: 2-Way M Metri-Pack 150 Series (BK)

Terminal Part Information

  • Terminal/Tray: See Terminal Repair Kit
  • Core/Insulation Crimp: See Terminal Repair Kit
  • Release Tool/Test Probe: See Terminal Repair Kit

Seat Belt Buckle - Driver

Pin

Wire

Circuit

Function

A

0.35 BK/WH

2151

Low Reference

B

0.35 BK/WH

238

Seat Belt Switch - Left

Seat Belt Buckle - Passenger X1


Object Number: 35441  Size: CH

Connector Part Information

  • OEM: 12047663
  • Service: 12085481
  • Description: 2-Way M Metri-Pack 150 Series (BK)

Terminal Part Information

  • Terminal/Tray: See Terminal Repair Kit
  • Core/Insulation Crimp: See Terminal Repair Kit
  • Release Tool/Test Probe: See Terminal Repair Kit

Seat Belt Buckle - Passenger X1

Pin

Wire

Circuit

Function

A

0.35 BK/WH

2151

Ground

B

0.35 BK/WH

2484

Seat Belt Switch - Right

Seat Belt Buckle - Passenger X2


Object Number: 684807  Size: CH

Connector Part Information

  • OEM: 12110293
  • Service: 12117025
  • Description: 3-Way F Metri-Pack 150 Series, Sealed (BK)

Terminal Part Information

  • Terminal/Tray: See Terminal Repair Kit
  • Core/Insulation Crimp: See Terminal Repair Kit
  • Release Tool/Test Probe: See Terminal Repair Kit

Seat Belt Buckle - Passenger X2

Pin

Wire

Circuit

Function

A

0.35 L-BU

5612

5-Volt Reference

B

0.35 TN

5613

Low Reference

C

0.35 PU

5611

Seat Belt Tension Sensor Signal

Seat Belt Pretensioner - Left Front


Object Number: 1333959  Size: CH

Connector Part Information

  • OEM: 12191468
  • Service: 15305950
  • Description: 2-Way F Metri-Pack 150 Series Sealed (YE)

Terminal Part Information

  • Terminal/Tray: Service with Pigtail
  • Core/Insulation Crimp: N/A
  • Release Tool/Test Probe: 12094429/J-35616-2A (GY)

Seat Belt Pretensioner - Left Front

Pin

Wire

Circuit

Function

A

0.35 BK/WH

2118

Seat Belt Pretensioner - Left - High Control

B

0.35 OG/BK

2119

Seat Belt Pretensioner - Left - Low Control

Seat Belt Pretensioner - Right Front


Object Number: 1333959  Size: CH

Connector Part Information

  • OEM: 12191468
  • Service: 15305950
  • Description: 2-Way F Metri-Pack 150 Series Sealed (YE)

Terminal Part Information

  • Terminal/Tray: Service with Pigtail
  • Core/Insulation Crimp: N/A
  • Release Tool/Test Probe: 12094429/J-35616-2A (GY)

Seat Belt Pretensioner - Right Front

Pin

Wire

Circuit

Function

A

0.35 L-GN

2116

Seat Belt Pretensioner - Right - High Control (Regular/Crew Cab)

A

0.35 BK/WH

2118

Seat Belt Pretensioner - Right - High Control (Extended Cab)

B

0.35 OG

2117

Seat Belt Pretensioner - Right - Low Control (Regular/Crew Cab)

B

0.35 OG/BK

2119

Seat Belt Pretensioner - Right - Low Control (Extended Cab)

Seat Motors - Driver (AG1)


Object Number: 39689  Size: CH

Connector Part Information

  • OEM: 12064754
  • Service: 15305872
  • Description: 6-Way M Metri-Pack 280 Series Self Lock (BK)

Terminal Part Information

  • Terminal/Tray: See Terminal Repair Kit
  • Core/Insulation Crimp: See Terminal Repair Kit
  • Release Tool/Test Probe: See Terminal Repair Kit

Seat Motors - Driver (AG1)

Pin

Wire

Circuit

Function

A

TN

285

Driver Seat Horizontal Motor Forward Control

B

L-GN

284

Driver Seat Horizontal Motor Rearward Control

C

D-GN

286

Driver Seat Front Vertical Motor Up Control

D

D-BU

287

Driver Seat Front Vertical Motor Down Control

E

YE

282

Driver Seat Rear Vertical Motor Up Control

F

L-BU

283

Driver Seat Rear Vertical Motor Down Control

Seat Motors - Passenger (AG2)


Object Number: 39689  Size: CH

Connector Part Information

  • OEM: 12064754
  • Service: 15305872
  • Description: 6-Way M Metri-Pack 280 Series Self Lock (BK)

Terminal Part Information

  • Terminal/Tray: See Terminal Repair Kit
  • Core/Insulation Crimp: See Terminal Repair Kit
  • Release Tool/Test Probe: See Terminal Repair Kit

Seat Motors - Passenger (AG2)

Pin

Wire

Circuit

Function

A

TN

285

Passenger Seat Horizontal Motor Forward Control

B

L-GN

284

Passenger Seat Horizontal Motor Rearward Control

C

D-GN

286

Passenger Seat Front Vertical Motor Up Control

D

D-BU

287

Passenger Seat Front Vertical Motor Down Control

E

YE

282

Passenger Seat Rear Vertical Motor Up Control

F

L-BU

283

Passenger Seat Rear Vertical Motor Down Control

Secondary Air Injection (AIR) Pump (K18)


Object Number: 537107  Size: CH

Connector Part Information

  • OEM: 12147067
  • Service: 89046640
  • Description: 2-Way F Metri-Pack 630 Series Sealed (GY)

Terminal Part Information

  • Terminal/Tray: 12147474/24
  • Core/Insulation Crimp: G/F/3
  • Release Tool/Test Probe: 12094430/J-35616-42 (RD)

Secondary Air Injection (AIR) Pump (K18)

Pin

Wire

Circuit

Function

A

5 RD

78

Air Pump Control

B

5 BK

350

Ground

Secondary Air Injection (AIR) Pump Relay (K18)


Object Number: 603108  Size: CH

Connector Part Information

  • OEM: 15336745
  • Service: 15306331
  • Description: 4-Way F GT 280 Metri-Pack 800 Series Sealed (GY)

Terminal Part Information

  • Pins: 30, 87
  • Terminal/Tray: 15336748/20
  • Core/Insulation Crimp: F/3
  • Release Tool/Test Probe: 12150860/J-35616-44 (YE)
    • Pins: 85, 86
    • Terminal/Tray: 15304719/19
    • Core/Insulation Crimp: E/5
    • Release Tool/Test Probe: 15315247/J-35616-4A (PU)

Secondary Air Injection (AIR) Pump Relay (K18)

Pin

Wire

Circuit

Function

30

5 RD

78

Air Pump Control

85

0.5 BN

436

Air Pump Relay Control

86

0.5 PK

439

Ignition Voltage

87

5 RD

78

Air Pump Control

Secondary Air Injection (AIR) Pump Solenoid (K18)


Object Number: 1526382  Size: CH

Connector Part Information

  • OEM: 13539171
  • Service: See Catalog
  • Description: 6-Way F GT 150 Series Sealed (BK)

Terminal Part Information

  • Terminal/Tray: 12191819/8
  • Core/Insulation Crimp: E/1
  • Release Tool/Test Probe: 15315247/J-35616-2A (GY)

Secondary Air Injection (AIR) Pump Solenoid (K18)

Pin

Wire

Circuit

Function

1

0.5 D-BU/WH

6785

Low Reference

2

0.5 YE

6787

Air Injection Reaction Control Valve Signal

3

0.5 BN/WH

6789

5-Volt Reference

4

0.5 BK

550

Ground

5

--

--

Not Used

6

0.8 PK/BK

415

Secondary Air Injection Solenoid Control

Speaker - Left Front Door


Object Number: 280768  Size: CH

Connector Part Information

  • OEM: 12052832
  • Service: 12101825
  • Description: 2-Way Metri-Pack 150 Series (BK)

Terminal Part Information

  • Terminal/Tray: 12064971/5
  • Core/Insulation Crimp: E/C
  • Release Tool/Test Probe: 12094429/J-35616-2A (GY)

Speaker - Left Front Door

Pin

Wire

Circuit

Function

A

0.5 GY

118

Left Front Speaker Output (-)

B

0.5 TN

201

Left Front Speaker Output (+)

Speaker - Left Front Door Tweeter (UQ3)


Object Number: 1334462  Size: CH

Connector Part Information

  • OEM: 15427362
  • Service: 88987841
  • Description: 2-Way M 090 II (WH)

Terminal Part Information

  • Terminal/Tray: 15305100/19
  • Core/Insulation Crimp: A/E/A
  • Release Tool/Test Probe: 12094429/J-35616-19 (BK)

Speaker - Left Front Door Tweeter (UQ3)

Pin

Wire

Circuit

Function

1

0.5 GY

118

Left Front Speaker Output (-)

2

0.5 TN

201

Left Front Speaker Output (+)

Speaker - Left Rear Door (Extended/Crew Cab)


Object Number: 280768  Size: CH

Connector Part Information

  • OEM: 12052832
  • Service: 12101825
  • Description: 2-Way Metri-Pack 150 Series (BK)

Terminal Part Information

  • Terminal/Tray: 12064971/5
  • Core/Insulation Crimp: E/C
  • Release Tool/Test Probe: 12094429/J-35616-2A (GY)

Speaker - Left Rear Door (Extended/Crew Cab)

Pin

Wire

Circuit

Function

A

0.5 YE

116

Left Rear Speaker Output (-)

B

0.5 BN

199

Left Rear Speaker Output (+)

Speaker - Right Front Door


Object Number: 280768  Size: CH

Connector Part Information

  • OEM: 12052832
  • Service: 12101825
  • Description: 2-Way Metri-Pack 150 Series (BK)

Terminal Part Information

  • Terminal/Tray: 12064971/5
  • Core/Insulation Crimp: E/C
  • Release Tool/Test Probe: 12094429/J-35616-2A (GY)

Speaker - Right Front Door

Pin

Wire

Circuit

Function

A

0.5 D-GN

117

Right Front Speaker Output (-)

B

0.5 L-GN

200

Right Front Speaker Output (+)

Speaker - Right Front Door Tweeter (UQ3)


Object Number: 1334462  Size: CH

Connector Part Information

  • OEM: 15427362
  • Service: 88987841
  • Description: 2-Way M 090 II (WH)

Terminal Part Information

  • Terminal/Tray: 15305100/19
  • Core/Insulation Crimp: A/E/A
  • Release Tool/Test Probe: 12094429/J-35616-19 (BK)

Speaker - Right Front Door Tweeter (UQ3)

Pin

Wire

Circuit

Function

1

0.5 D-GN

117

Right Front Speaker Output (-)

2

0.5 L-GN

200

Right Front Speaker Output (+)

Speaker - Right Rear Door (Extended/Crew Cab)


Object Number: 280768  Size: CH

Connector Part Information

  • OEM: 12052832
  • Service: 12101825
  • Description: 2-Way Metri-Pack 150 Series (BK)

Terminal Part Information

  • Terminal/Tray: See Terminal Repair Kit
  • Core/Insulation Crimp: See Terminal Repair Kit
  • Release Tool/Test Probe: See Terminal Repair Kit

Speaker - Right Rear Door (Extended/Crew Cab)

Pin

Wire

Circuit

Function

A

0.5 YE

115

Right Rear Speaker Output (-)

B

0.5 BN

46

Right Rear Speaker Output (+)

Starter X1


Object Number: 696940  Size: CH

Connector Part Information

  • OEM: 12089916
  • Service: 12101763
  • Description: 1-Way Metri-Pack 280 Series, Sealed (BK)

Terminal Part Information

  • Terminal/Tray: See Terminal Repair Kit
  • Core/Insulation Crimp: See Terminal Repair Kit
  • Release Tool/Test Probe: See Terminal Repair Kit

Starter X1

Pin

Wire

Circuit

Function

A

5 PU

6

Starter Solenoid Crank Voltage

Stop Lamp - Left


Object Number: 877925  Size: CH

Connector Part Information

  • OEM: 16530669
  • Service: See Catalog
  • Description: 3-Way F (NA)

Terminal Part Information

  • Terminal/Tray: See Terminal Repair Kit
  • Core/Insulation Crimp: See Terminal Repair Kit
  • Release Tool/Test Probe: See Terminal Repair Kit

Stop Lamp - Left

Pin

Wire

Circuit

Function

A

L-BU

--

Stop Lamp Control

B

BN

--

Park Lamp Control

G

BK

--

Ground

Stop Lamp - Right


Object Number: 877925  Size: CH

Connector Part Information

  • OEM: 16530669
  • Service: See Catalog
  • Description: 3-Way F (NA)

Terminal Part Information

  • Terminal/Tray: See Terminal Repair Kit
  • Core/Insulation Crimp: See Terminal Repair Kit
  • Release Tool/Test Probe: See Terminal Repair Kit

Stop Lamp - Right

Pin

Wire

Circuit

Function

A

L-BU

--

Stop Lamp Control

B

BN

--

Park Lamp Control

G

BK

--

Ground

Stop Lamp Switch


Object Number: 1333952  Size: CH

Connector Part Information

  • OEM: 12105252
  • Service: 88987863
  • Description: 4-Way F 250 Series 58M (BK)

Terminal Part Information

  • Pins: 1, 2
  • Terminal/Tray: 7116-2876/10
  • Core/Insulation Crimp: C/B
  • Release Tool/Test Probe: 12094430/J-35616-42 (RD)

Stop Lamp Switch

Pin

Wire

Circuit

Function

1

1 OG

140

Battery Positive Voltage

2

0.8 L-BU

20

Stop Lamp Control

3-4

--

--

Not Used

Sunroof Motor (CF5)


Object Number: 1376249  Size: CH

Connector Part Information

  • OEM: 7283-5909-40
  • Service: 88988798
  • Description: 10-Way F 1.5 Series Unsealed (L-GY)

Terminal Part Information

  • Pins: 1-3, 5-6, 10
  • Terminal/Tray: See Terminal Repair Kit
  • Core/Insulation Crimp: See Terminal Repair Kit
  • Release Tool/Test Probe: See Terminal Repair Kit

Sunroof Motor (CF5)

Pin

Wire

Circuit

Function

1

BK/PU

1150

Ground

2

BN

128

Low Reference

3

PU

1353

RAP Control

4

--

--

Not Used

5

WH

100

Sunroof Switch Open Signal

6

YE/RD

1840

Battery Positive Voltage

7-9

--

--

Not Used

10

L-BU

110

Sunroof Switch Close Signal

Sunroof Switch (CF5)


Object Number: 333036  Size: CH

Connector Part Information

  • OEM: 12191825
  • Service: 15306048
  • Description: 8-Way F GT 280 Series Unsealed (BN)

Terminal Part Information

  • Pins: A-C, F-G
  • Terminal/Tray: See Terminal Repair Kit
  • Core/Insulation Crimp: See Terminal Repair Kit
  • Release Tool/Test Probe: See Terminal Repair Kit

Sunroof Switch (CF5)

Pin

Wire

Circuit

Function

A

D-BU

128

Low Reference

B

BN/WH

230

Instrument Panel Lamps Dimming Control

C

BK

1350

Ground

D-E

--

--

Not Used

F

OG

110

Sunroof Switch Close Signal

G

BN

100

Sunroof Switch Open Signal

H

--

--

Not Used

TCC Brake/Cruise Release Switch


Object Number: 1334478  Size: CH

Connector Part Information

  • OEM: 15434331
  • Service: 89046651
  • Description: 2-Way F 250 58M (L-GY)

Terminal Part Information

  • Terminal/Tray: 7116-2875/10
  • Core/Insulation Crimp: E/B
  • Release Tool/Test Probe: 12094430/J-35616-42 (RD)

TCC Brake/Cruise Release Switch

Pin

Wire

Circuit

Function

1

0.35 PK

339

Ignition Voltage

2

0.35 PU

420

TCC Brake Switch/Cruise Control Release Signal

Throttle Body


Object Number: 1664617  Size: CH

Connector Part Information

  • OEM: 15418497
  • Service: See Catalog
  • Description: 6-Way F GT 150 Series Sealed (L-GY)

Terminal Part Information

  • Terminal/Tray: 12191819/8
  • Core/Insulation Crimp: E/1
  • Release Tool/Test Probe: 15315247/J-35616-2A (GY)

Throttle Body

Pin

Wire

Circuit

Function

A

0.5 BN

582

TAC Motor Control - 2

B

0.5 YE

581

TAC Motor Control - 1

C

0.35 BK

2752

Low Reference

D

0.35 D-GN

485

TP Sensor 1 Signal

E

0.35 GY

2701

5-Volt Reference

F

0.35 PU

486

TP Sensor 2 Signal

Torque Converter Clutch Pulse Width Modulated (TCC PWM) Solenoid Valve (M30)


Object Number: 168428  Size: CH

Connector Part Information

  • OEM: 12162202
  • Service: Non-Serviceable
  • Description: 2-Way F Metri-Pack 150.2 P2 Series (BU)

Terminal Part Information

  • Terminal/Tray: Non-Serviceable
  • Core/Insulation Crimp: Non-Serviceable
  • Release Tool/Test Probe: Non-Serviceable

Torque Converter Clutch Pulse Width Modulated (TCC PWM) Solenoid Valve (M30)

Pin

Wire

Circuit

Function

A

0.5 RD

839

Ignition Voltage

B

0.5 TN

418

TCC PWM Solenoid Valve Control

Torque Converter Clutch (TCC) Solenoid Valve (M30)


Object Number: 168419  Size: CH

Connector Part Information

  • OEM: 10478128
  • Service: Non-Serviceable
  • Description: CBL Solenoid Valve

Terminal Part Information

  • Terminal/Tray: Non-Serviceable
  • Core/Insulation Crimp: Non-Serviceable
  • Release Tool/Test Probe: Non-Serviceable

Torque Converter Clutch (TCC) Solenoid Valve (M30)

Pin

Wire

Circuit

Function

A

0.5 RD

839

Ignition Voltage

B

0.5 BK

422

TCC Solenoid Valve Control

Trailer Connector (UY7)


Object Number: 1479630  Size: CH

Connector Part Information

  • OEM: 15A416
  • Service: Not Serviced
  • Description: 4-Way F (BK)

Terminal Part Information

  • Terminal/Tray: Serviced as Part of Accessory Harness

Trailer Connector (UY7)

Pin

Wire

Circuit

Function

1

WH

--

Ground

2

BN

--

Park Lamp Control

3

YE

--

Left Rear Turn Signal Lamp Control

4

GN

--

Right Rear Turn Signal Lamp Control

Transfer Case 2/4 Wheel Indicator Switch (4WD)


Object Number: 1334538  Size: CH

Connector Part Information

  • OEM: 15327093
  • Service: 88987840
  • Description: 2-Way F 070 SWP Series Sealed (GY)

Terminal Part Information

  • Terminal/Tray: 7116-1471/12
  • Core/Insulation Crimp: E/1
  • Release Tool/Test Probe: 12094429/J-35616-33 (YE)

Transfer Case 2/4 Wheel Indicator Switch (4WD)

Pin

Wire

Circuit

Function

1

0.35 TN

1569

2WD/4WD Signal

2

0.35 BK

550

Ground

Transfer Case Encoder Motor (4WD)


Object Number: 646400  Size: CH

Connector Part Information

  • OEM: 15326835
  • Service: 88986452
  • Description: 8-Way F GT 150 Series Sealed 4.0 (BK)

Terminal Part Information

  • Terminal/Tray: 12191819
  • Core/Insulation Crimp: E/1
  • Release Tool/Test Probe: 15315247/J-35616-2A (GY)

Transfer Case Encoder Motor (4WD)

Pin

Wire

Circuit

Function

A

0.35 D-BU/WH

1557

Channel A Encoder - Signal

B

0.5 RD

1553

Motor Control B

C

0.5 BK

1552

Motor Control A

D

--

--

Not Used

E

0.35 BK

550

Ground

F

0.35 YE/BK

1558

Channel B Encoder - Signal

G

0.35 RD/WH

1556

Channel C Encoder - Signal

H

0.35 BN/WH

1555

Channel P Encoder - Signal

Transfer Case Neutral Switch (4WD)


Object Number: 1334528  Size: CH

Connector Part Information

  • OEM: 10763359
  • Service: 88987929
  • Description: 2-Way F SWP 070 Series Sealed (BN)

Terminal Part Information

  • Terminal/Tray: 7116-1471/12
  • Core/Insulation Crimp: E/1
  • Release Tool/Test Probe: 12094429/J-35616-33 (YE)

Transfer Case Neutral Switch (4WD)

Pin

Wire

Circuit

Function

1

0.35 GY

2281

Neutral Switch Signal

2

0.35 BK

550

Ground

Transfer Case Shift Control Module X1


Object Number: 1334450  Size: CH

Connector Part Information

  • OEM: 15383128
  • Service: 88953423
  • Description: 16-Way F (BK)

Terminal Part Information

  • Terminal/Tray: 173716-1/7
  • Core/Insulation Crimp: E/4
  • Release Tool/Test Probe: 15315247/J-35616-16 (L-GN)

Transfer Case Shift Control Module X1

Pin

Wire

Circuit

Function

1

0.5 BK

2050

Ground

2

0.5 RD

1553

Motor Control B

3

0.5 BK

1552

Motor Control A

4

0.35 L-BU

1296

Axle Actuator - Control

5-6

--

--

Not Used

7

0.35 D-GN/WH

1559

4-LO Switch - Signal

8

0.5 OG

1540

Battery Positive Voltage

9

0.5 BK

2050

Ground

10

0.35 L-GN/BK

1563

2-HI Indicator - Control

11

0.35 TN/BK

1566

4-HI Indicator - Control

12

0.35 PU/WH

1565

4-LO Indicator - Control

13

0.35 BN

1560

Neutral Indicator Control

14

0.35 L-BU

1693

Switch Signal Low

15-16

--

--

Not Used

Transfer Case Shift Control Module X2


Object Number: 1334543  Size: CH

Connector Part Information

  • OEM: 15383127
  • Service: 88953394
  • Description: 20-Way F (BK)

Terminal Part Information

  • Terminal/Tray: 173716-1/7
  • Core/Insulation Crimp: E/4
  • Release Tool/Test Probe: 15315247/J-35616-16 (L-GN)

Transfer Case Shift Control Module X2

Pin

Wire

Circuit

Function

1-5

--

--

Not Used

6

0.35 D-BU/WH

1557

Channel A Encoder - Signal

7-9

--

--

Not Used

10

0.35 PK

339

Ignition Voltage

11

0.35 GY

2281

Neutral Switch Signal

12

0.5 BK/WH

1695

Axle Switch Signal

13

0.35 TN

1569

2WD/4WD Signal

14

0.35 RD/WH

1556

Channel C Encoder - Signal

15

0.35 YE/BK

1558

Channel B Encoder - Signal

16

0.35 PU

1807

Class 2 Serial Data

17

0.35 BN/WH

1555

Channel P Encoder - Signal

18

--

--

Not Used

19

0.35 PU

1807

Class 2 Serial Data

20

0.35 GY/BK

1694

5-Volt Reference

Transmission Control Module (TCM) (M30)


Object Number: 1581650  Size: CH

Connector Part Information

  • OEM: 13589417
  • Service: See Catalog
  • Description: 49-Way F GT 280 Series Sealed (BK)

Terminal Part Information

  • Terminal/Tray: 15304719/19
  • Core/Insulation Crimp: E/5
  • Release Tool/Test Probe: 15315247/J-35616-4A (PU)

Transmission Control Module (TCM) (M30)

Pin

Wire

Circuit

Function

1

0.5 BN

418

TCC PWM Solenoid Valve Control

2

0.5 L-GN

1222

1-2 Shift Solenoid Valve Control

3

0.5 BN/WH

6254

Input Shaft Speed Sensor Signal

4

--

--

Not Used

5

0.5 PU/WH

821

VSS High Signal

6

0.5 TN

2501

GM High Speed LAN Serial Data -

7

0.5 TN/WH

2500

GM High Speed LAN Serial Data +

8-10

--

--

Not Used

11

0.5 BN

4

Ignition Voltage

12-13

--

--

Not Used

14

0.5 WH

687

3-2 Shift Solenoid Valve Control

15

--

--

Not Used

16

0.5 L-GN/BK

822

VSS Low Signal

17

0.5 L-BU/WH

1229

PC Solenoid Valve Low Control

18-19

--

--

Not Used

20

0.5 YE/BK

1223

2-3 Shift Solenoid Valve Control

21-22

--

--

Not Used

23

0.5 GY

773

Transmission Range Switch Signal C

24

0.5 PK

1224

Transmission Fluid Pressure Switch Signal A

25

0.5 TN/BK

422

TCC Solenoid Valve Control

26-28

--

--

Not Used

29

0.5 BK/WH

771

Transmission Range Switch Signal A

30

0.5 BK

452

Low Reference

31

0.5 PK

139

Ignition Voltage

32

0.5 OG

440

Battery Positive Voltage

33

0.5 RD

1226

Transmission Fluid Pressure Switch Signal C

34

--

--

Not Used

35

0.5 YE/BK

1227

TFT Sensor Signal

36

--

--

Not Used

37

0.5 TN

2501

GM High Speed LAN Serial Data -

38

0.5 TN/WH

2500

GM High Speed LAN Serial Data +

39

0.5 WH

776

Transmission Range Switch Signal P

40

0.5 RD/BK

1228

PC Solenoid Valve High Control

41

0.5 PU/WH

821

VSS High Signal

42

0.5 L-BU

20

Stop Lamp Control

43

--

--

Not Used

44

0.5 D-BU

1225

Transmission Fluid Pressure Switch Signal B

45

0.5 D-BU

6253

Low Reference

46

0.5 YE

772

Transmission Range Switch Signal B

47-48

--

--

Not Used

49

0.5 BK/WH

451

Ground

Turn Signal Lamp - Left Rear


Object Number: 877925  Size: CH

Connector Part Information

  • OEM: 16530671
  • Service: See Catalog
  • Description: 3-Way F (D-GY)

Terminal Part Information

  • Terminal/Tray: See Terminal Repair Kit
  • Core/Insulation Crimp: See Terminal Repair Kit
  • Release Tool/Test Probe: See Terminal Repair Kit

Turn Signal Lamp - Left Rear

Pin

Wire

Circuit

Function

A

YE

--

Left Rear Turn Signal Lamps Control

B

BN

--

Park Lamp Control

BN

--

Park Lamp Control

G

BK

--

Ground

BK

--

Ground

Turn Signal Lamp - Right Rear


Object Number: 877925  Size: CH

Connector Part Information

  • OEM: 16530671
  • Service: See Catalog
  • Description: 3-Way F (D-GY)

Terminal Part Information

  • Terminal/Tray: See Terminal Repair Kit
  • Core/Insulation Crimp: See Terminal Repair Kit
  • Release Tool/Test Probe: See Terminal Repair Kit

Turn Signal Lamp - Right Rear

Pin

Wire

Circuit

Function

A

D-GN

--

Right Rear Turn Signal Lamps Control

B

BN

--

Park Lamp Control

BN

--

Park Lamp Control

G

BK

--

Ground

BK

--

Ground

Vehicle Communications Interface Module (VCIM) X1


Object Number: 697022  Size: CH

Connector Part Information

  • OEM: 15383038
  • Service: 15306351
  • Description: 16-Way F 040II (WH)

Terminal Part Information

  • Pins: 2, 3, 6, 11
  • Terminal/Tray: 15355438/20
  • Core/Insulation Crimp: E/C
  • Release Tool/Test Probe: 15315247/J-35616-12 (BU)
  • Pins: 7, 16
  • Terminal/Tray: 175266-5/15
  • Core/Insulation Crimp: K/K
  • Release Tool/Test Probe: 15315247/J-35616-16 (L-GN)

Vehicle Communications Interface Module (VCIM) X1

Pin

Wire

Circuit

Function

1

--

--

Not Used

2

0.35 BN/WH

2517

Keypad Red LED Signal

3

0.35 YE/BK

2516

Keypad Green LED Signal

4-5

--

--

Not Used

6

0.35 L-GN/BK

2515

Keypad Control

7

0.8 BK/WH

1151

Ground

8-10

--

--

Not Used

11

0.35 D-GN/WH

2514

Keypad Signal

12-15

--

--

Not Used

16

0.8 OG

340

Battery Positive Voltage

Vehicle Communications Interface Module (VCIM) X2


Object Number: 697023  Size: CH

Connector Part Information

  • OEM: 15383039
  • Service: 88952886
  • Description: 12-Way F 040II (WH)

Terminal Part Information

  • Terminal/Tray: 15355438/20
  • Core/Insulation Crimp: E/C
  • Release Tool/Test Probe: 15315247/J-35616-12 (BU)

Vehicle Communications Interface Module (VCIM) X2

Pin

Wire

Circuit

Function

1

0.35 L-BU

1405

Remote Playback Device Audio Common Signal

2

0.35 OG/BK

1406

Remote Playback Device Left Audio Signal

3-4

--

--

Not Used

5

0.35 PU

1807

Class 2 Serial Data

6-7

--

--

Not Used

8

0.35 BARE

2012

Drain Wire

9

0.5 GY

655

Cellular Microphone Signal

10

0.5 BARE

1705

Drain Wire

11-12

--

--

Not Used

Vehicle Speed Sensor (VSS)


Object Number: 900247  Size: CH

Connector Part Information

  • OEM: 15449028
  • Service: 88987978
  • Description: 2-Way F GT 150 Series Sealed (BK)

Terminal Part Information

  • Terminal/Tray: 15326266
  • Core/Insulation Crimp: E/4
  • Release Tool/Test Probe: 15315247/J-35616-2A (GY)

Vehicle Speed Sensor (VSS)

Pin

Wire

Circuit

Function

A

0.5 L-GN/BK

822

Vehicle Speed SensorĀ (VSS) Low Signal

B

0.5 PU/WH

821

Vehicle Speed SensorĀ (VSS) High Signal

Wheel Speed Sensor (WSS) - Left Front


Object Number: 1334457  Size: CH

Connector Part Information

  • OEM: 15409340
  • Service: 89046649
  • Description: 2-Way F Series Sealed (D-GY)

Terminal Part Information

  • Terminal/Tray: 7116-1420/11
  • Core/Insulation Crimp: E/1
  • Release Tool/Test Probe: 15315247/J-35616-18 (BK)

Wheel Speed Sensor (WSS) - Left Front

Pin

Wire

Circuit

Function

1

0.35 L-BU

830

12-Volt Reference

2

0.35 YE

873

Left Front Wheel Speed Sensor Signal

Wheel Speed Sensor (WSS) - Right Front


Object Number: 1334457  Size: CH

Connector Part Information

  • OEM: 15409340
  • Service: 89046649
  • Description: 2-Way F Series Sealed (D-GY)

Terminal Part Information

  • Terminal/Tray: 7116-1420/11
  • Core/Insulation Crimp: E/1
  • Release Tool/Test Probe: 15315247/J-35616-18 (BK)

Wheel Speed Sensor (WSS) - Right Front

Pin

Wire

Circuit

Function

1

0.35 D-GN

872

12-Volt Reference

2

0.35 TN

833

Right Front Wheel Speed Sensor Signal

Window Motor - Driver (A31)


Object Number: 1336232  Size: CH

Connector Part Information

  • OEM: 15398861
  • Service: 89046645
  • Description: 2-Way F 062 Sealed (BN)

Terminal Part Information

  • Terminal/Tray: 7116-1531/27
  • Core/Insulation Crimp: C/1
  • Release Tool/Test Probe: 15315247/J-35616-18 (BK)

Window Motor - Driver (A31)

Pin

Wire

Circuit

Function

1

2 BN

165

Power Window Motor Left Front Down Control

2

2 D-BU

164

Power Window Motor Left Front Up Control

Window Motor - Front Passenger (A31)


Object Number: 1336232  Size: CH

Connector Part Information

  • OEM: 15398861
  • Service: 89046645
  • Description: 2-Way F 062 Sealed (BN)

Terminal Part Information

  • Terminal/Tray: 7116-1531/27
  • Core/Insulation Crimp: C/1
  • Release Tool/Test Probe: 15315247/J-35616-18 (BK)

Window Motor - Front Passenger (A31)

Pin

Wire

Circuit

Function

1

2 D-BU

666

Power Window Motor Right Front Up Control

2

2 BN

667

Power Window Motor Right Front Down Control

Window Motor - Left Rear (Crew Cab with A31)


Object Number: 1336232  Size: CH

Connector Part Information

  • OEM: 15398861
  • Service: 89046645
  • Description: 2-Way F 062 Sealed (BN)

Terminal Part Information

  • Terminal/Tray: 7116-1531/27
  • Core/Insulation Crimp: C/1
  • Release Tool/Test Probe: 15315247/J-35616-18 (BK)

Window Motor - Left Rear (Crew Cab with A31)

Pin

Wire

Circuit

Function

1

2 BN

669

Power Window Motor Left Rear Down Control

2

2 D-BU

668

Power Window Motor Left Rear Up Control

Window Motor - Right Rear (Crew Cab with A31)


Object Number: 1336232  Size: CH

Connector Part Information

  • OEM: 15398861
  • Service: 89046645
  • Description: 2-Way F 062 Sealed (BN)

Terminal Part Information

  • Terminal/Tray: 7116-1531/27
  • Core/Insulation Crimp: C/1
  • Release Tool/Test Probe: 15315247/J-35616-18 (BK)

Window Motor - Right Rear (Crew Cab with A31)

Pin

Wire

Circuit

Function

1

2 BN

669

Power Window Motor Right Rear Down Control

2

2 D-BU

668

Power Window Motor Right Rear Up Control

Window Switch - Left Rear (Crew Cab with A31)


Object Number: 1335541  Size: CH

Connector Part Information

  • OEM: 12105465
  • Service: 88987940
  • Description: 8-Way F 090 II (WH)

Terminal Part Information

  • Terminal/Tray: 12129960/19
  • Core/Insulation Crimp: Pins 1, 2, 4, 5, 6, 7, 8 - See Terminal Repair Kit
  • Core/Insulation Crimp: Pins 3 - C/A
  • Release Tool/Test Probe: 12094429/J-35616-18 (BK)

Window Switch - Left Rear (Crew Cab with A31)

Pin

Wire

Circuit

Function

1

0.35 D-GN

168

Power Window Master Switch Left Rear Up Signal

2

0.35 BN

9

Park Lamp Control

3

1 BK

850

Ground

4

0.35 YE

1187

Power Window Master Switch Left Rear Down Signal

5

0.35 D-BU

1307

Power Window Master Switch Lockout Signal

6

2 YE

443

Ignition Voltage

7

2 BN

669

Power Window Motor Left Rear Down Control

8

2 D-BU

668

Power Window Motor Left Rear Up Control

Window Switch - Right Rear (Crew Cab with A31)


Object Number: 1335541  Size: CH

Connector Part Information

  • OEM: 12105465
  • Service: 88987940
  • Description: 8-Way F 090 II (WH)

Terminal Part Information

  • Terminal/Tray: 12129960/19
  • Core/Insulation Crimp: Pins 1, 2, 4, 5, 6, 7, 8 - See Terminal Repair Kit
  • Core/Insulation Crimp: Pins 3 - C/A
  • Release Tool/Test Probe: 12094429/J-35616-18 (BK)

Window Switch - Right Rear (Crew Cab with A31)

Pin

Wire

Circuit

Function

1

0.35 D-GN

168

Power Window Master Switch Left Rear Up Signal

2

0.35 BN

9

Park Lamp Control

3

1 BK

850

Ground

4

0.35 YE

1187

Power Window Master Switch Left Rear Down Signal

5

0.35 D-BU

1307

Power Window Master Switch Lockout Signal

6

2 YE

443

Ignition Voltage

7

2 BN

669

Power Window Motor Left Rear Down Control

8

2 D-BU

668

Power Window Motor Left Rear Up Control

Windshield Washer Fluid Pump


Object Number: 635009  Size: CH

Connector Part Information

  • OEM: 12052641
  • Service: 12102747
  • Description: 2-Way F Metri-Pack 150 Series (BK)

Terminal Part Information

  • Terminal/Tray: 12048074/2
  • Core/Insulation Crimp: E/1
  • Release Tool/Test Probe: 12094429/J-35616-2A (GY)

Windshield Washer Fluid Pump

Pin

Wire

Circuit

Function

A

0.5 RD

228

Windshield Washer Pump Control

B

0.35 BK

850

Ground

Windshield Wiper Motor


Object Number: 646430  Size: CH

Connector Part Information

  • OEM: 15326815
  • Service: 15306396
  • Description: 4-Way F GT 150 Series Sealed 4.0 (BK)

Terminal Part Information

  • Terminal/Tray: 12191819/8
  • Core/Insulation Crimp: Pins A, B, D - 2/1
  • Core/Insulation Crimp: Pins C - E/1
  • Release Tool/Test Probe: 15315247/J-35616-2A (GY)

Windshield Wiper Motor

Pin

Wire

Circuit

Function

A

1 PU

92

Windshield Wiper Motor High Speed

B

1 D-GN

95

Windshield Wiper Motor Low Speed

C

0.35 YE

196

Windshield Wiper Motor Park Switch Signal

D

1 BK

850

Ground