GM Service Manual Online
For 1990-2009 cars only

Removal Procedure


    Object Number: 1256449  Size: SH
  1. Open the front door.
  2. Remove the bolt retaining the front door check link to the body.
  3. Remove the front door wiring harness grommet from the body, and disconnect the door wiring harness connectors. Refer to Front Side Door Wiring Harness Replacement .

  4. Object Number: 1256436  Size: SH
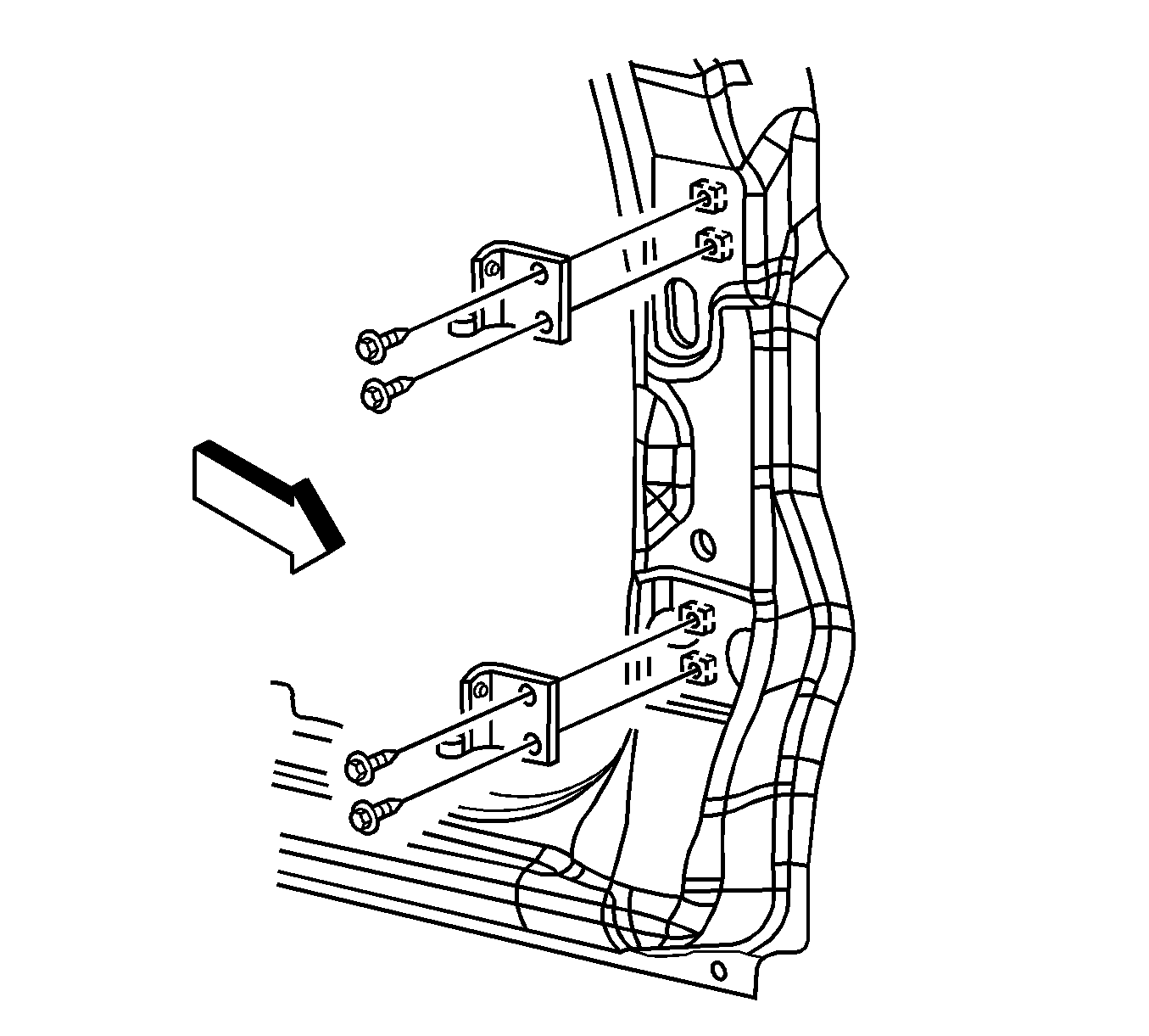
  5. Remove the bolts (1) retaining the front door hinge keeper straps.
  6. With an assistant, lift the front door up off the body side hinges, and place on a clean protected surface.

  7. Object Number: 1265473  Size: SH
  8. Clean the mounting surfaces of the body side hinges with a clean rag, and mark the front door hinge locations with a grease pencil, or other suitable marker.
  9. Remove the bolts retaining the body side hinges to the body.
  10. Remove the hinges from the body.

Installation Procedure


    Object Number: 1265473  Size: SH
  1. Position the body side front door hinge to the alignment marks.
  2. Notice: Refer to Fastener Notice in the Preface section.

  3. Install the bolts retaining the body side door hinge to the body.
  4. Tighten
    Tighten the body side front door bolts to 27 N·m (20 lb ft).


    Object Number: 1256436  Size: SH
  5. With an assistant, lower the front door down onto the body side hinge straps.
  6. Install the bolts (1) retaining the front door hinge keeper straps.
  7. Tighten
    Tighten the hinge keeper strap bolts to 25 N·m (18.4 lb ft).

  8. Connect the front door wiring harness connectors, and install the front door wiring harness grommet to the body. Refer to Front Side Door Wiring Harness Replacement .

  9. Object Number: 1256449  Size: SH
  10. Install the bolt retaining the front door check link to the body.
  11. Tighten
    Tighten the front door check link bolt to 25 N·m (18.4 lb ft).

  12. Inspect the door for proper operation and alignment. Refer to Front Side Door Adjustment .