GM Service Manual Online
For 1990-2009 cars only

Removal Procedure

  1. Remove the front door trim panel. Refer to Front Side Door Trim Panel Replacement.

  2. Object Number: 1276814  Size: SH
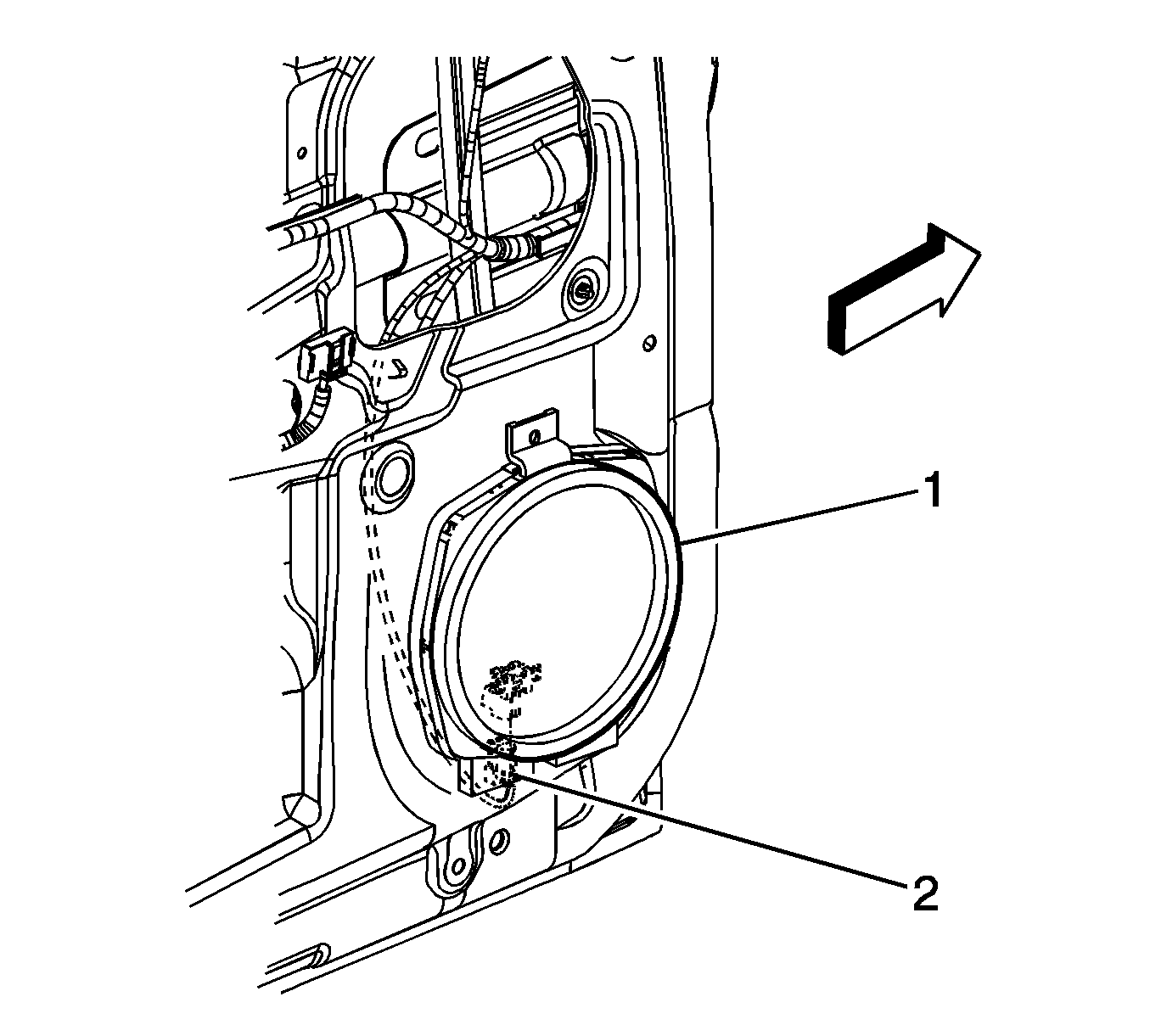
  3. Remove the screw securing the speaker to the door.
  4. Remove the speaker and the two tabs from the slots in the door.

  5. Object Number: 1276813  Size: SH
  6. Disconnect the speaker electrical connector.

Installation Procedure


    Object Number: 1276813  Size: SH
  1. Connect the speaker electrical connection.

  2. Object Number: 1276814  Size: SH
  3. Install the two tabs on the speaker into the slots in the door.
  4. Caution: Refer to Fastener Caution in the Preface section.

  5. Install the screw securing the speaker to the door.
  6. Tighten
    Tighten the front door speaker screw to 2.5 N·m (22 lb in).

  7. Install the front door trim panel. Refer to Front Side Door Trim Panel Replacement.