GM Service Manual Online
For 1990-2009 cars only

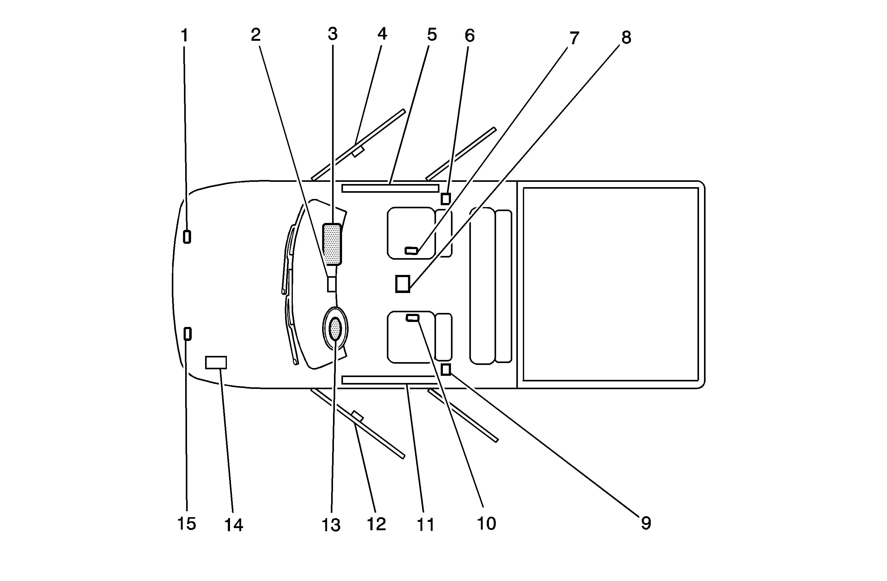
The SIR Identification Views shown below illustrate the approximate location of all SIR components available for the vehicle. Refer to SIR Disabling and Enabling .

Colorado/Canyon


Object Number: 1277024  Size: MF
(1)Inflatable Restraint Front End Sensor-Right-Located on the front of the vehicle in the engine compartment
(2)Accessory Switch-Located in the Center of the I/P
(3)Inflatable Restraint I/P Module-Located at the top right under the instrument panel
(4)Inflatable Restraint Side Impact Sensor (SIS)-Right-Located under right front door trim near the lower rear of door frame
(5)Inflatable Restraint Roof Rail Module-Right-Located in the headliner along roof rail
(6)Seat Belt Retractor Pretensioner-Right-Located on the floor next to the right front seat
(7)Inflatable Restraint Seat Position Switch-Right-Located on the side of the right front seat
(8)Inflatable Restraint Sensing and Diagnostic Module (SDM)-Located under center floor console
(9)Seat Belt Retractor Pretensioner-Left-Located on the floor next to the left front seat
(10)Inflatable Restraint Seat Position Switch-Left-Located on the side of the left front seat
(11)Inflatable Restraint Side Roof Rail Module-Left-Located in the headliner along the roof rail
(12)Inflatable Restraint Side Impact Sensor (SIS)-Left-Located under left front door trim near the lower rear of door frame
(13)Inflatable Restraint Steering Wheel Module-Located on the steering wheel
(14)Battery and Underhood Fuse Block-SIR Fuse-Located in engine compartment on left side
(15)Inflatable Restraint Front End Sensor-Left-Located on the front of the vehicle in the engine compartment