GM Service Manual Online
For 1990-2009 cars only

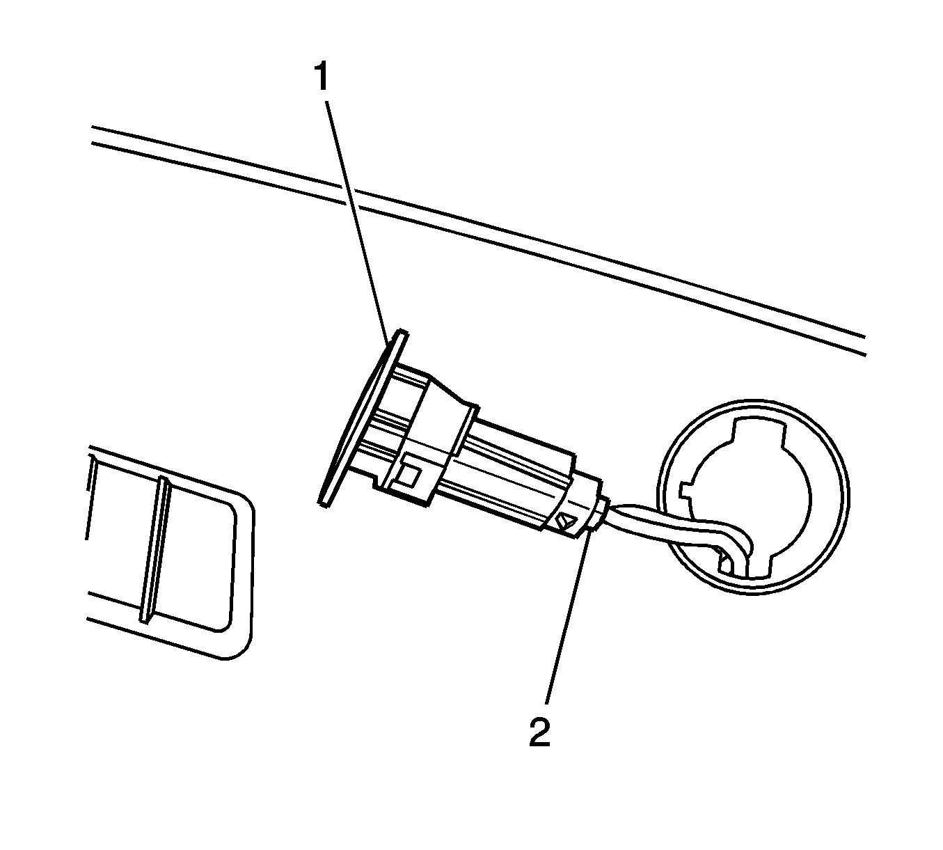
Removal Procedure


    Object Number: 1245415  Size: SH
  1. Carefully use a flat-bladed tool, and remove the sensor from the upper portion of the instrument panel (I/P).

  2. Object Number: 1245411  Size: SH
  3. Disconnect the electrical connector (2) from the sensor ensuring the connector does NOT fall through the hole in the I/P.
  4. Remove the sensor from the vehicle.

Installation Procedure


    Object Number: 1245411  Size: SH
  1. Connect the electrical connector (2) to the sensor.

  2. Object Number: 1245405  Size: SH
  3. Align the sensor to the I/P for installation.
  4. Apply downward pressure to the sensor head in order to seat the sensor to the I/P.