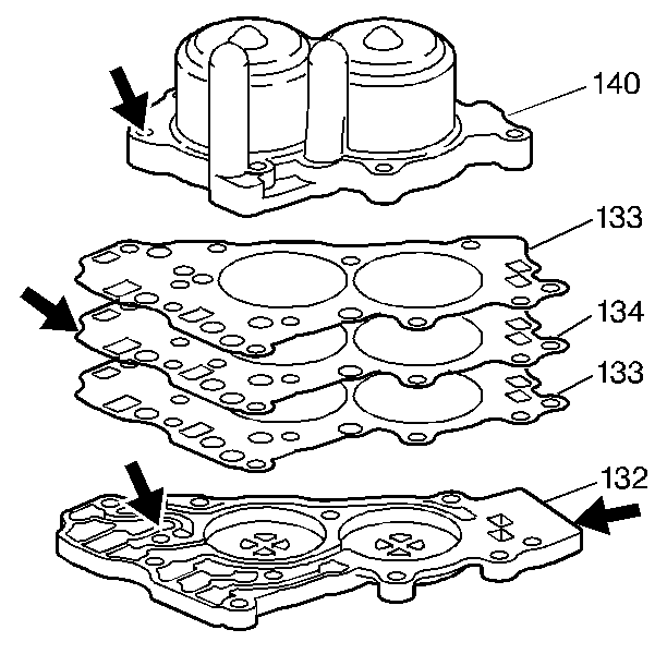
- Inspect the accumulator housing (140), the spacer plate (134), the
gaskets (133), and the cover (132) for the following conditions:
| • | A damaged lube, and servo oil pipe holes in the accumulator cover. |
| • | A damaged, improperly machined, or porous accumulator cover |
| • | A bent or damaged accumulator spacer plate |
| • | Damaged accumulator cover gaskets |
| • | Stripped or damaged bolt holes in the accumulator housing |
| • | A damaged, worn, improperly machined, or porous accumulator housing |
- Inspect the accumulator pistons (136), the springs (138, 139), the
seals (137), and the pins (135) for the following conditions:
| • | Broken or collapsed piston springs (inner and outer) |
| • | Broken or collapsed piston cushion springs |
| • | Bent or worn accumulator piston pins |
| • | Damaged, worn, or porous accumulator pistons |
| • | Damaged accumulator piston seals |
- Inspect the servo and lube oil pipe components (124-130) and
the manual 2-1 band servo cover (104) for the following conditions:
| • | A damaged lube, and servo oil pipe holes in the servo cover |
| • | A damaged, improperly machines, or porous servo cover |
| • | Bent, plugged, or damaged lube and servo oil pipes |
| • | A plugged or damaged lube oil hose |
| • | A damaged lube oil pipe retainer |
| • | A missing lube oil pipe washer |
- Install the oil seal ring (137) onto the 2-3 accumulator piston (136).
Lubricate the oil seal ring with automatic transmission fluid.
- Assemble the piston pin (135) and the 2-3 accumulator piston (136).
- Insert the inner and outer springs (138) for the 2-3 accumulator
piston, and the piston assembly (136) into the accumulator housing (140).
The springs may vary by model.
- Install the oil seal ring (137) onto the 1-2 accumulator piston (136).
The piston may vary by model. Lubricate the oil seal ring with automatic
transmission fluid.
- Assemble the piston pin (135) and 1-2 accumulator piston (136).
- Insert the inner and outer springs (139) for the 1-2 accumulator
piston, and the piston assembly (136) into the accumulator housing (140).
The springs and the pistons and the order of installation may vary by
model.
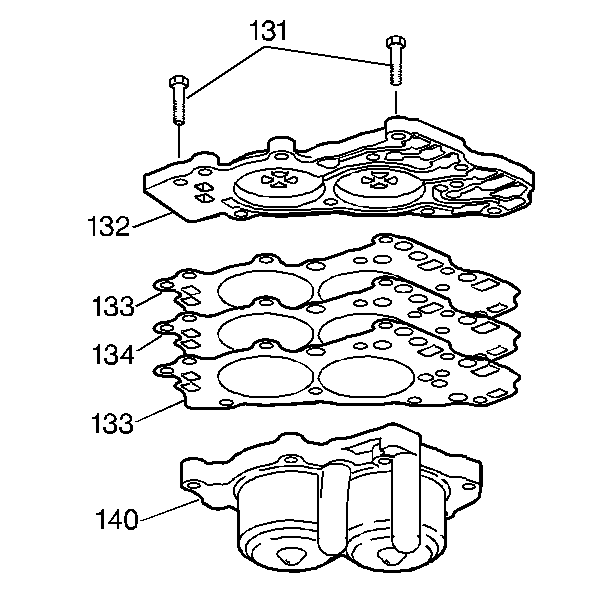
- Install the accumulator spacer plates (134), the gaskets (133), and
the cover (132) onto the accumulator housing (140).
Notice: Use the correct fastener in the correct location. Replacement fasteners
must be the correct part number for that application. Fasteners requiring
replacement or fasteners requiring the use of thread locking compound or sealant
are identified in the service procedure. Do not use paints, lubricants, or
corrosion inhibitors on fasteners or fastener joint surfaces unless specified.
These coatings affect fastener torque and joint clamping force and may damage
the fastener. Use the correct tightening sequence and specifications when
installing fasteners in order to avoid damage to parts and systems.
- Install seven accumulator
cover bolts (131).
Tighten
Tighten the bolts to 12 N·m (106 lb in).
- Assemble the following parts:
| • | The lube oil pipe (126) |
| • | The pipe retainer (126) |
| • | The pipe with the washer (130) |
- Install the manual 2-1 band servo and the forward band servo oil
pipes (124, 125) into the accumulator assembly (132-140).
- Install the manual 2-1 band servo and the forward band servo oil
pipes (124, 125) into the manual 2-1 band servo cover (104).
- Install the lube oil pipe assembly (126) into the accumulator
assembly (132-140).