GM Service Manual Online
For 1990-2009 cars only
Makes
🢒
Chevrolet
🢒
1996
🢒
Corsica
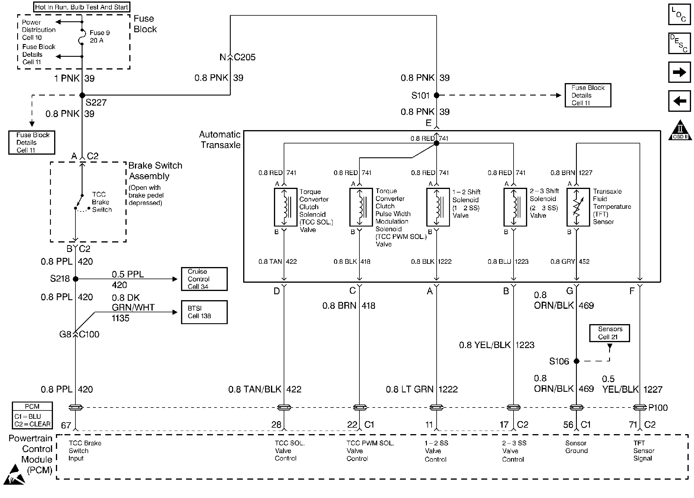
🢒 Brake Switch Assembly and Automatic Transaxle
Brake Switch Assembly and Automatic Transaxle
Brake Switch Assembly and Automatic Transaxle
A/C Compressor Clutch, A/C Compressor Clutch Relay, and HAVOC Controland A/C Assembly
Cruise Control Module and Vehicle Speed Sensor Assembly
OBD II Symbol Description Notice
Handling ESD Sensitive Parts Notice