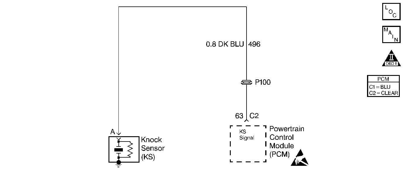
The knock sensors are used to detect engine detonation, allowing the PCM to retard Ignition Control (IC) spark timing based on the KS signal being received. The knock sensors produce an AC signal which rides on a 5 volts DC signal supplied by the PCM. The signal amplitude and frequency is dependent upon the amount of knock being experienced.
The PCM determines whether knock is occurring by comparing the signal level on the KS circuit with the voltage level on the noise channel. The noise channel allows the PCM to reject any false knock signal by indicating the amount of normal engine mechanical noise present. Normal engine noise varies depending on engine speed and load. When the PCM determines that an abnormally high noise channel voltage level is being experienced, a DTC P0326 will set.
| • | No active VSS, TP sensor, ECT sensor DTC(s) set. |
| • | Engine has been running for at least 10 seconds. |
| • | Engine coolant temperature is greater than 65°C (149°F). |
| • | Throttle angle is greater than 10%. |
| • | Engine speed is between 2200 RPM and 2500 RPM. |
| • | System voltage is greater than 9 volts. |
| • | The PCM is monitoring a ESC noise channel voltage level below 0.4 volt. |
| • | The PCM will not illuminate the malfunction indicator lamp (MIL). |
| • | The PCM will store conditions which were present when the DTC set as Failure Records data only. This information will not be stored as Freeze Frame data. |
| • | A History DTC will clear after 40 consecutive warm-up cycles have occurred without a malfunction. |
| • | The DTC can be cleared by using the scan tool Clear Info function. |
Check for the following conditions:
| • | Poor connection at PCM. Inspect knock sensor and PCM connectors for backed out terminals, broken locks, and improperly formed or damaged terminals. |
| • | Misrouted harness. Inspect the knock sensor harness to ensure that it is not routed too close to high voltage wires such as spark plug leads. |
Reviewing the Fail Records vehicle mileage since the diagnostic test last failed may help determine how often the condition that caused the DTC to be set occurs. This may assist in diagnosing the condition.
Number(s) below refer to the step number(s) on the Diagnostic Chart.
Checks that the fault is present.
Checks that the knock sensors are capable of detecting detonation.
This vehicle is equipped with a PCM which utilizes an Electrically Erasable Programmable Read Only Memory (EEPROM). When the PCM is being replaced, the new PCM must be programmed. Refer to PCM Replacement and Programming Procedures in Powertrain Control Module (PCM) and Sensors.
Step | Action | Value(s) | Yes | No |
|---|---|---|---|---|
1 | Was the Powertrain On-Board Diagnostic System Check performed? | -- | Go to Powertrain OBD System Check | |
Does the scan tool indicate DTC P0327 failed this ign? | -- | |||
3 |
Does scan tool indicate DTC P0327 failed this ign? | -- | Go to Diagnostic Aids | |
4 |
Does DVM indicate voltage at the specified value for knock sensor? | 5V | ||
5 | Measure the resistance of knock sensor by connecting the DVM between the knock sensor terminal and the engine block. Is resistance of knock sensor near the specified value? | 100 K ohms | ||
Is any signal indicated on the DVM while tapping on the engine lift bracket? | -- | |||
7 |
Was a problem found? | -- | ||
8 |
Was a problem found? | -- | ||
9 | Replace the knock sensor. Is action complete? | -- | -- | |
10 |
Was a problem found? | -- | ||
11 |
Was a problem found? | -- | ||
12 |
Does scan tool indicate DTC P0327 failed this ign? | -- | ||
Replace the PCM. Important: The replacement PCM must be programmed. Refer to PCM Replacement/Programming. Is action complete? | -- | -- | ||
14 |
Does scan tool indicate DTC P0327 failed this ign? | -- | Repair complete |