GM Service Manual Online
For 1990-2009 cars only

DOOR LOCK SYSTEM COMPONENTS INFORMATION VIN 117135-120536

Subject: INFORMATION ON DOOR LOCK SYSTEM COMPONENTS AND REPLACEMENT COMPONENTS

Model and Year: 1990 CORVETTE

TO: ALL CHEVROLET DEALERS

Some 1990 Corvette models were built with unique front door accessory mounting plates and power door lock actuator rods. These parts are no longer serviced.

If it becomes necessary to replace these unique parts, it will be necessary to replace them with the earlier parts which are listed below.

Plate Assembly - Side Front Door Accessory, P/N 10086185-6 (left and right)

Rod - Side Front Door Lock Remote Control, P/N 14043193-4 (left and right)

Parts are currently available from GMSPO.

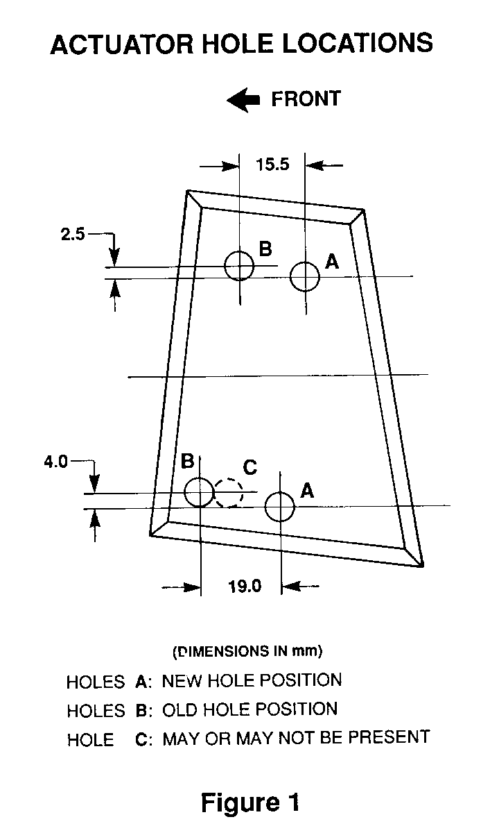
In addition to replacing the above components, it may be necessary to relocate the power door lock actuator on the door inner panel. Figure 1 will illustrate the hole patterns.

- If the actuator is located in the holes marked "A," it will not need to be relocated.

- If the actuator is located in the holes marked "B";

- remove the actuator by drilling out the attaching rivets.

- locate the new attaching holes ("A") using the dimensions on the illustration.

- attach the actuator in the new location using 1/4" X 1/2" peel type rivets.

IMPORTANT: Hole "C" may or may not be present. Relocate holes from "B" locations only.

Labor Operation Number: T1678 Right Side T1 679 Left Side

Labor Time: 1.0 Hour Per Side Trouble Code: 92


Object Number: 89874  Size: FS

General Motors bulletins are intended for use by professional technicians, not a "do-it-yourselfer". They are written to inform those technicians of conditions that may occur on some vehicles, or to provide information that could assist in the proper service of a vehicle. Properly trained technicians have the equipment, tools, safety instructions and know-how to do a job properly and safely. If a condition is described, do not assume that the bulletin applies to your vehicle, or that your vehicle will have that condition. See a General Motors dealer servicing your brand of General Motors vehicle for information on whether your vehicle may benefit from the information.