GM Service Manual Online
For 1990-2009 cars only

NO START CONDITION (STARTER CORROSION-REPLACE STARTER)

SUBJECT: NO START CONDITION

MODEL and YEAR: 1990-92 CORVETTE

ENGINE APPLICATIONS: 5.7L (RPO LT5)

ENGINE VIN (MODELS): J

SUBJECT: No Start Condition (Replace Starter)

VEHICLE APPLICATIONS: 1990, 1991, and 1992 Model Year Y-Car

CONDITION:

--------- Some ZR1 Corvettes may exhibit a no start condition due to starter corrosion. This condition is most likely to occur after the engine has been washed.

CAUSE:

----- The starter on an LT5 engine is mounted in the engine "vee." A drain hole and drain tube are located at the rear of the engine valley. While washing the engine, debris may settle in the engine "vee" and block the drain system.

CORRECTION:

---------- Perform the following procedure whenever a vehicle comes in for a starter replacement.

1 . Remove the old starter.

2. Clean any blockage in existing drain system.

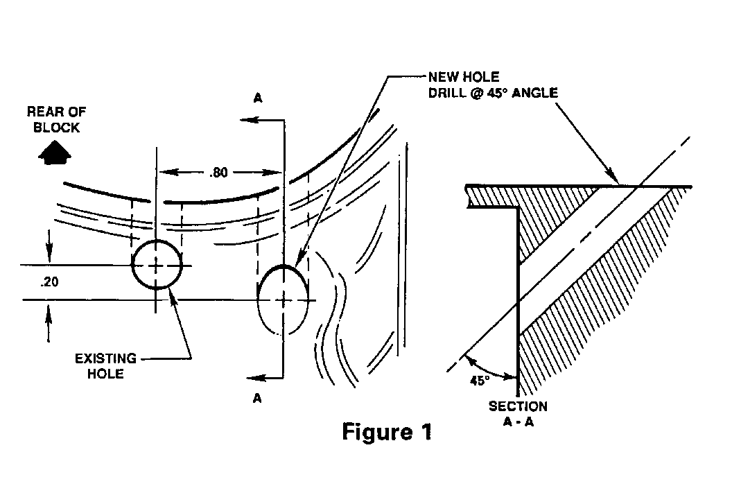
3. Drill a 3/8" diameter hole through the engine "vee" to the back of the engine, allowing drainage (see Figure 1).

4. Install new starter, p/n 10455704.

Parts are expected to be available on October 26, 1992. In case of limited inventory, parts will be placed on 400 control to waive VIP surcharges. Only verifiable emergency VIP orders will be accepted. SPO will make every effort to obtain parts. However, the part will be shipped premium transportation at dealer's expense and all other order types will be placed on backorder until the 400 control is removed.

SERVICE INFORMATION:

Labor Operation: T1868

Labor Times: 1.9 hours (1990 and 1991 Model Years) 2.1 hours (1992 Model Year)


Object Number: 87146  Size: LF


Object Number: 85205  Size: FS

General Motors bulletins are intended for use by professional technicians, not a "do-it-yourselfer". They are written to inform those technicians of conditions that may occur on some vehicles, or to provide information that could assist in the proper service of a vehicle. Properly trained technicians have the equipment, tools, safety instructions and know-how to do a job properly and safely. If a condition is described, do not assume that the bulletin applies to your vehicle, or that your vehicle will have that condition. See a General Motors dealer servicing your brand of General Motors vehicle for information on whether your vehicle may benefit from the information.