GM Service Manual Online
For 1990-2009 cars only
Makes
🢒
Chevrolet
🢒
1996
🢒
Corvette
🢒 Transmission Controls
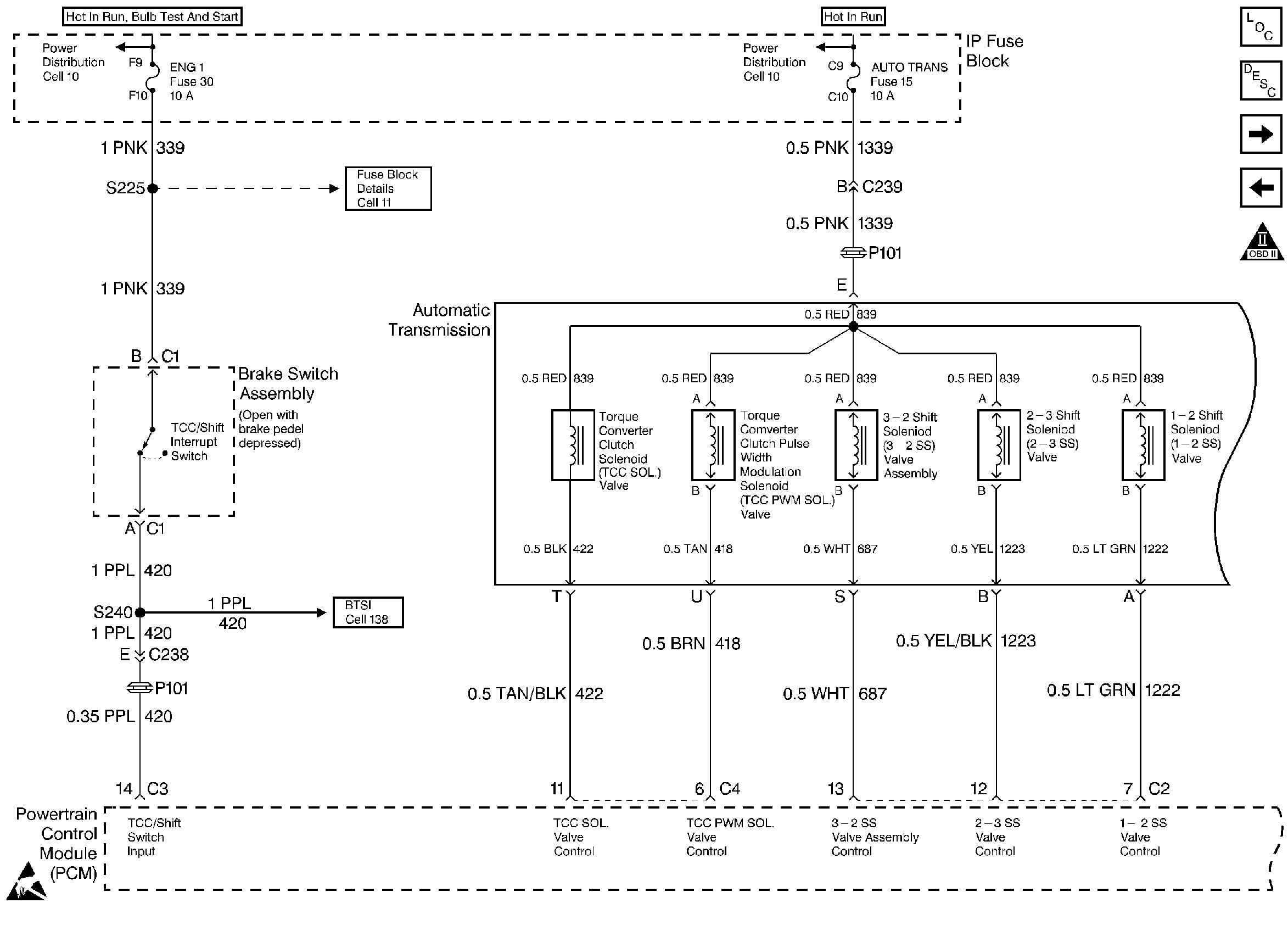
Transmission Controls
Transmission Controls
Engine Controls Components
Powertrain Control Module (PCM)
Transmission Controls
One to Four Upshift System
OBD II Symbol Description Notice
Handling ESD Sensitive Parts Notice