GM Service Manual Online
For 1990-2009 cars only
Makes
🢒
Chevrolet
🢒
1996
🢒
Corvette
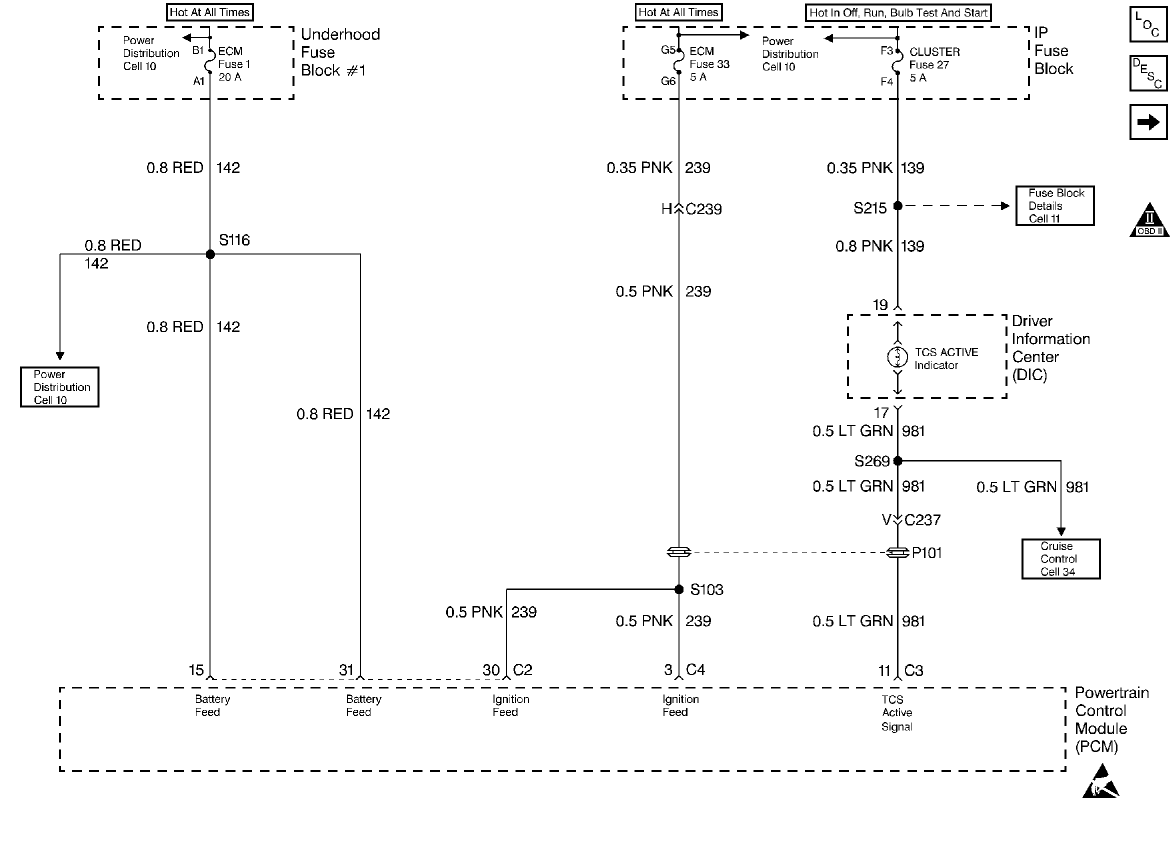
🢒 PCM Power and TCS Active Indicator
PCM Power and TCS Active Indicator
PCM Power and TCS Active Indicator
Automatic Transmission Components
Transmission General Information
Brake Switch, TCC and Shift Solenoids
OBD II Symbol Description Notice
Handling ESD Sensitive Parts Notice