GM Service Manual Online
For 1990-2009 cars only

Hood Primary and Secondary Latch Replacement Right Side

Removal Procedure


    Object Number: 71285  Size: SH
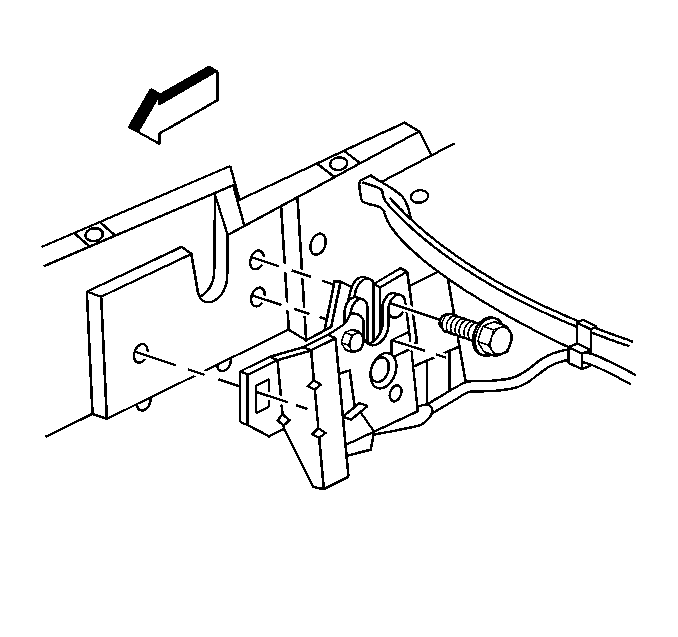
  1. Remove the latch bolts and latch from latch bracket.

  2. Object Number: 71291  Size: SH
  3. Disconnect the cable sheath grommet from the latch.
  4. Disconnect the cable end from the latch.

Installation Procedure


    Object Number: 71291  Size: SH
  1. Install the cable end into the catch on the latch.
  2. Install the cable sheath grommet into the slotted hole in the latch.

  3. Object Number: 71285  Size: SH
  4. Install the bolts attaching the latch.
  5. Tighten
    Tighten the hood latch bolts to 10 N·m (89 lb in).

    Notice: Use the correct fastener in the correct location. Replacement fasteners must be the correct part number for that application. Fasteners requiring replacement or fasteners requiring the use of thread locking compound or sealant are identified in the service procedure. Do not use paints, lubricants, or corrosion inhibitors on fasteners or fastener joint surfaces unless specified. These coatings affect fastener torque and joint clamping force and may damage the fastener. Use the correct tightening sequence and specifications when installing fasteners in order to avoid damage to parts and systems.

Hood Primary and Secondary Latch Replacement Left Side

Removal Procedure


    Object Number: 71294  Size: SH
  1. Remove the plenum air inlet screen. Refer to Plenum Panel Screens .

  2. Object Number: 71288  Size: SH
  3. Remove the bolts attaching the latch.

  4. Object Number: 71291  Size: SH
  5. Disconnect the cable sheath grommet from the latch.
  6. Disconnect the cable end from the latch.

Installation Procedure


    Object Number: 71291  Size: SH
  1. Install the cable end into the catch on the latch.
  2. Install the cable sheath grommet into the slotted hole in the latch.

  3. Object Number: 71288  Size: SH
  4. Install the hood latch and attaching bolts.
  5. Tighten
    Tighten the hood latch bolts to 10 N·m (89 lb in).

    Notice: Use the correct fastener in the correct location. Replacement fasteners must be the correct part number for that application. Fasteners requiring replacement or fasteners requiring the use of thread locking compound or sealant are identified in the service procedure. Do not use paints, lubricants, or corrosion inhibitors on fasteners or fastener joint surfaces unless specified. These coatings affect fastener torque and joint clamping force and may damage the fastener. Use the correct tightening sequence and specifications when installing fasteners in order to avoid damage to parts and systems.


    Object Number: 71294  Size: SH
  6. Install the plenum screen. Refer to Plenum Panel Screens .