GM Service Manual Online
For 1990-2009 cars only

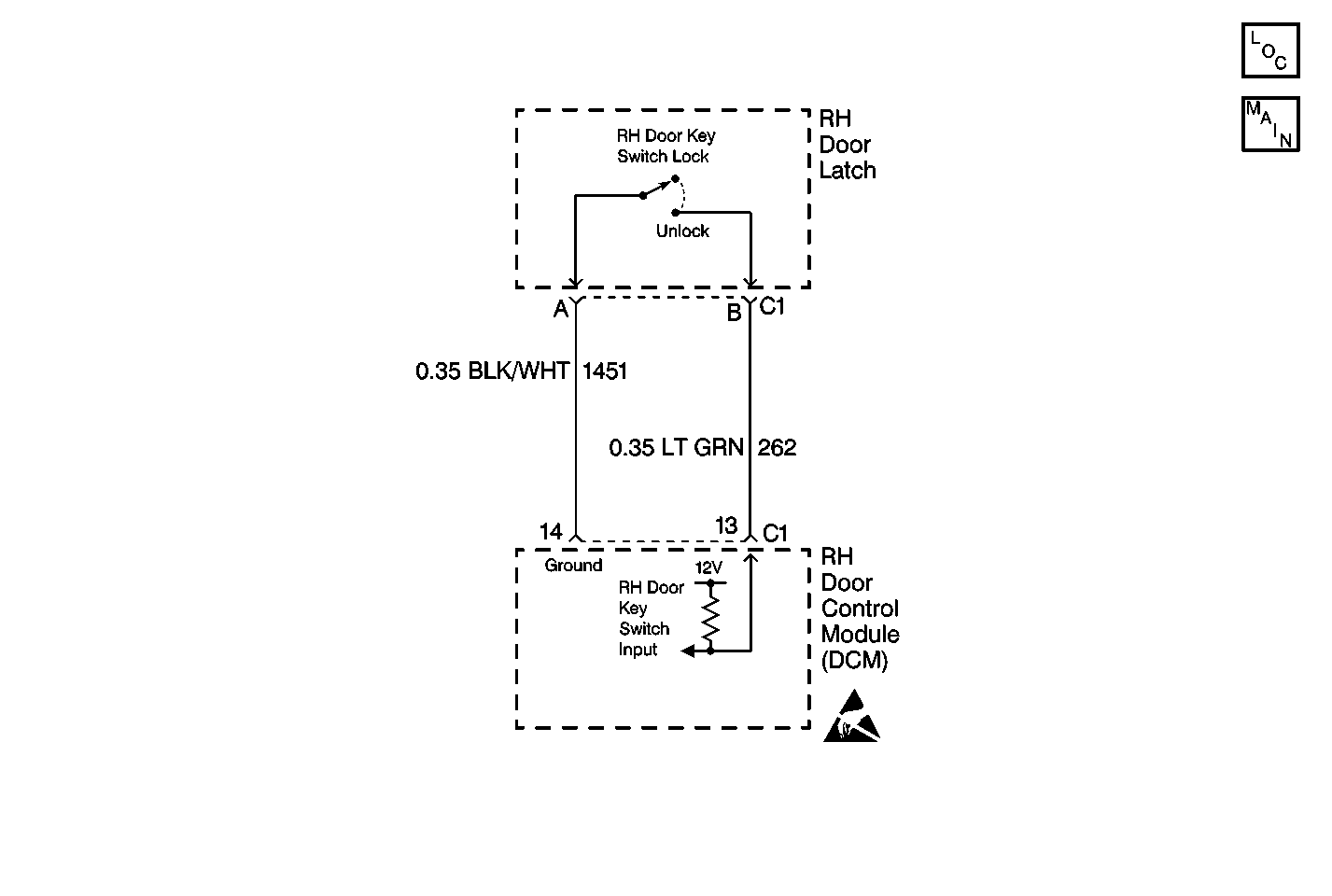
Object Number: 97831  Size: MF

DTC B2253 -- Key Cylinder Switch -- Fault -- DCM-Right

Step

Action

Value(s)

Yes

No

1

Is there any mechanical binding or obstruction?

Go to Step 2

2

  1. Disconnect the right Door Control Module (DCM)
  2. While turning the key to the UNLOCK position, measure the resistance between the DCM connector C1 terminal 13 and terminal 14.

Is the resistance within specified range?

<5ohms

Go to Step 3

Go to Step 4

3

Replace the right Door Control Module (DCM).

Is the repair complete?

Recheck the System Operation

4

  1. Disconnect the right door latch.
  2. While turning the key to the UNLOCK position, measure the resistance between the right door latch connector C1 terminal A and terminal B.

Is the resistance within specified range?

<5ohms

Go to Step 5

Go to Step 6

5

Repair the open in CKT1451 or CKT 265 between the right door latch and the right Door Control Module (DCM).

Is the repair complete?

Recheck the System Operation

6

Replace the right door latch.

Is the repair complete?

Recheck the System Operation