GM Service Manual Online
For 1990-2009 cars only

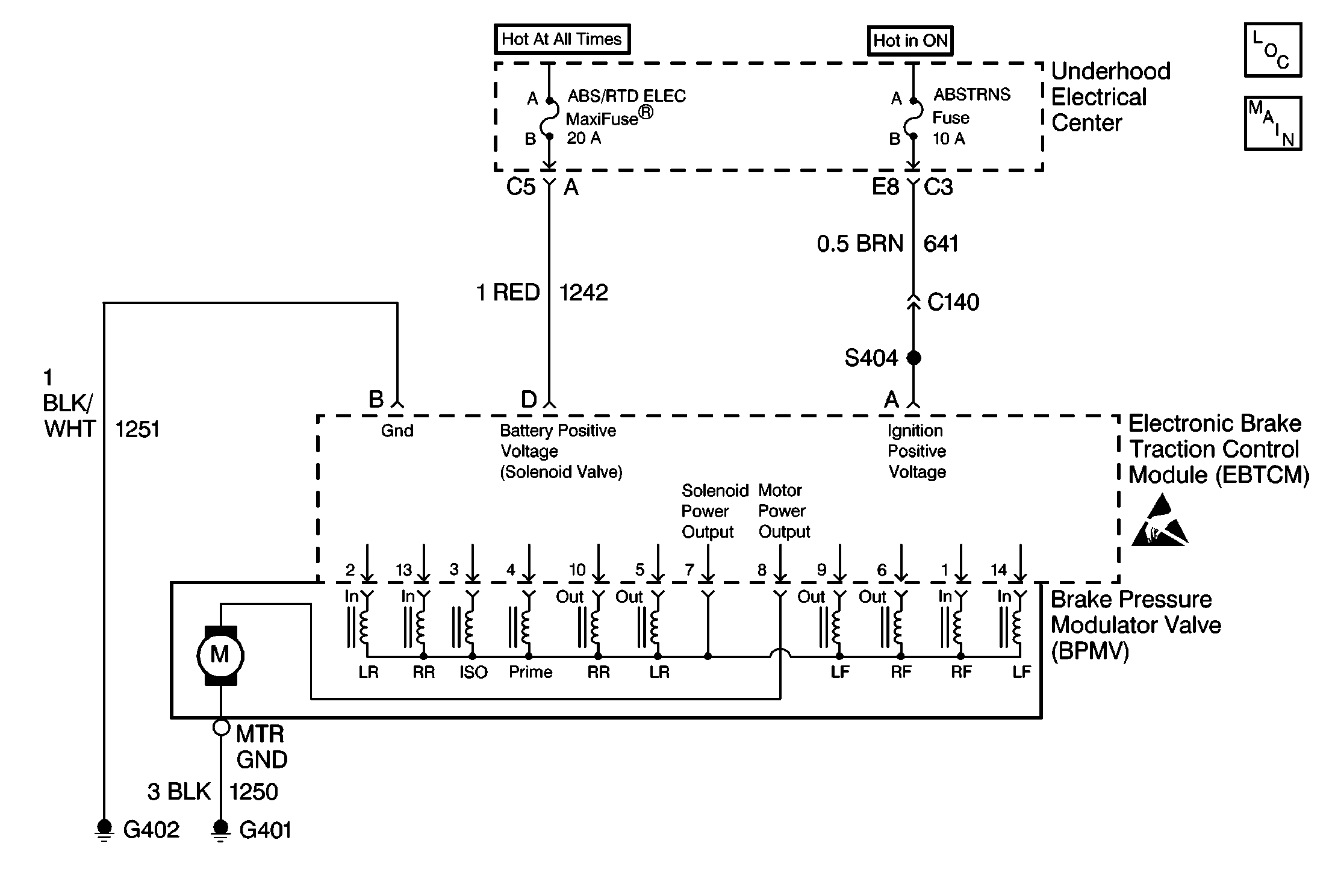
Object Number: 95894  Size: MF
ABS Components
ABS/TCS Schematics

Circuit Description

This circuit is designed to detect high vehicle voltage levels to the solenoid relay. High voltage may cause damage to the system.

Conditions for Setting the DTC

DTC C1237 can only be set if the vehicle's speed is greater than 8 km/h (5 mph). If the battery voltage is greater than 17 volts, a malfunction exists.

Action Taken When the DTC Sets

A malfunction DTC is stored, ABS/TCS is disabled and the ABS and Traction Control Indicators are turned ON.

Conditions for Clearing the DTC

    • Condition for DTC is no longer present and scan tool clear DTC function is used.
    • Fifty ignition cycles have passed with no DTC(s) detected.

Diagnostic Aids

    • If an intermittent malfunction exists refer to General Electrical Diagnosis in Wiring Systems.
    • Possible causes for DTC C1237 to set:
       - Overcharging
       - EBTCM malfunction

Test Description

The numbers below refer to step numbers on the diagnostic table.

  1. Checks to see what the EBTCM is reading as the voltage.

  2. Checks the actual battery voltage.

DTC C1237 High System Voltage

Step

Action

Value(s)

Yes

No

1

Was the Diagnostic System Check performed?

--

Go to Step 2

Go to Diagnostic System Check

2

  1. Turn all accessories OFF.
  2. Start engine.
  3. Using the scan tool select ABS/TCS DATA LIST and monitor battery voltage while running engine at approximately 2000 RPM

Is the voltage within the range specified in the Value(s) column?

Less than 17 V

Go to Step 4

Go to Step 3

3

Check actual battery voltage, using J 39200 DMM, while running engine at approximately 2000 RPM.

Is the voltage within the range specified in the Value(s) column?

Less than 17V

Go to Step 4

Refer to Starter and Charging System Check in Engine Electrical.

4

Carefully test drive vehicle above 8 km/h (5 mph).

Does DTC C1237 reset as a current DTC?

--

Go to Step 5

Go to Diagnostic System Check

5

Replace the EBTCM. Refer to Electronic Brake and Traction Control Module .

Is repair complete?

--

Go to Diagnostic System Check

--