GM Service Manual Online
For 1990-2009 cars only

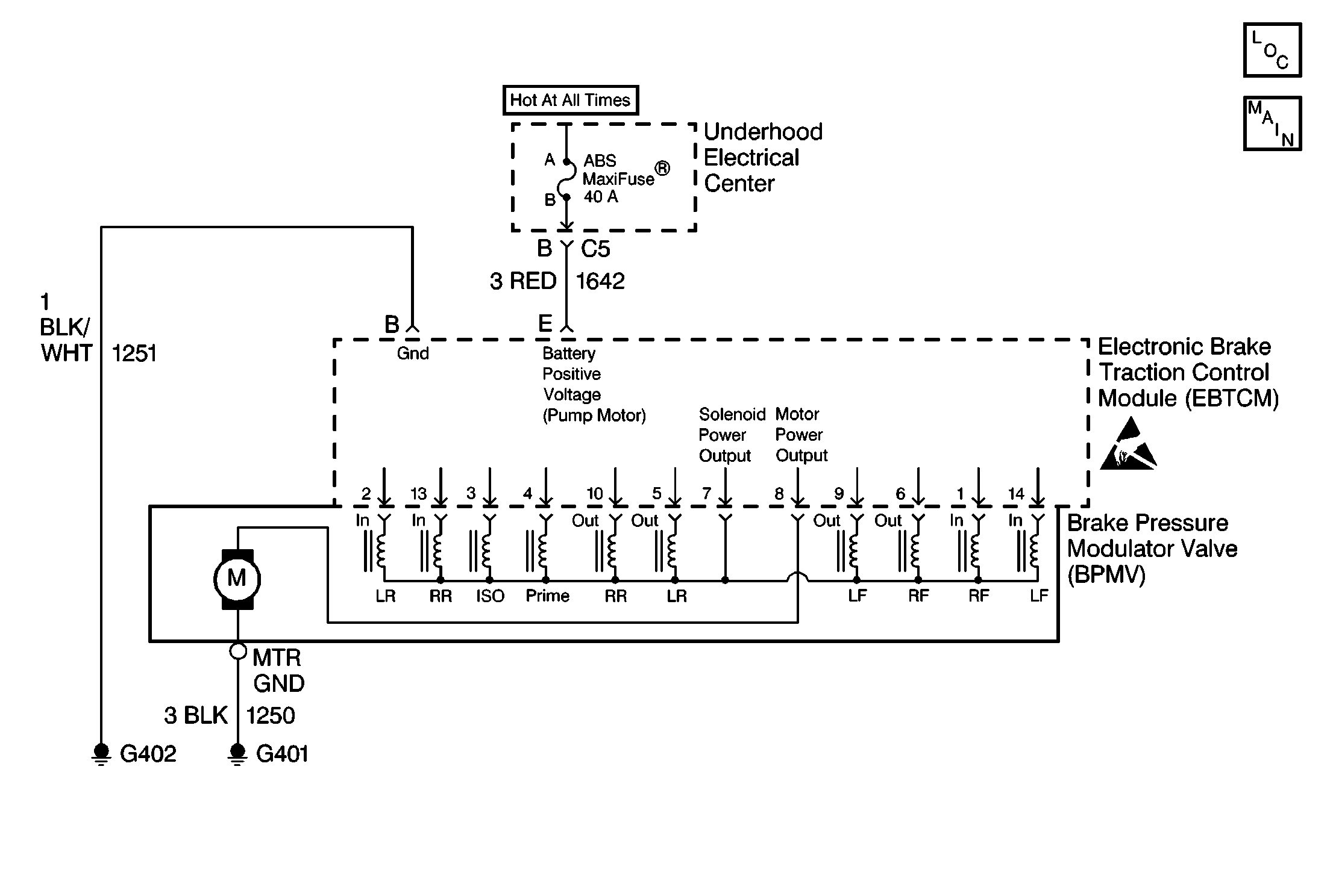
Object Number: 95884  Size: MF
ABS Components
ABS/TCS Schematics

Circuit Description

When the pump motor relay is grounded by the EBTCM, it closes and provides battery voltage to operate the pump.

Conditions for Setting the DTC

DTC C1243 can be set when the pump motor relay has been commanded OFF after the pump motor has been ON. A malfunction has occurred if the pump motor was ON, and the EBTCM sensed a stuck or slowly turning pump motor.

Action Taken When the DTC Sets

A malfunction DTC is stored, ABS/TCS is disabled and the ABS and Traction Control Indicators are turned ON.

Conditions for Clearing the DTC

    • Condition for DTC is no longer present and scan tool clear DTC function is used.
    • Fifty ignition cycles have passed with no DTC(s) detected.

Diagnostic Aids

    • It is very important that a thorough inspection of the wiring and connectors be performed. Failure to carefully and fully inspect wiring and connectors may result in misdiagnosis, causing part replacement with reappearance of the malfunction.
    • An intermittent malfunction can be caused by poor connections, broken insulation, or a wire that is broken inside the insulation.
    • If an intermittent malfunction exists refer to General Electrical Diagnosis in Wiring Systems.

Test Description

The numbers below refer to step numbers on the diagnostic table.

  1. Checks for good pump motor ground.

  2. Checks for good pump motor ground through the BPMV.

DTC C1243 BPMV Pump Motor Stalled

Step

Action

Value(s)

Yes

No

1

Was the Diagnostic System Check performed?

--

Go to Step 2

Go to Diagnostic System Check

2

Is DTC C1217 also set as a current DTC?

--

Go to DTC C1217 Pump Motor Relay Contact Circuit Open

Go to Step 3

3

  1. Turn the ignition switch to the OFF position.
  2. Using the J 39200 DMM, measure the resistance between the pump motor ground stud and a good chassis ground.

Is the resistance within the range specified in the value(s) column?

0 - 2ohms

Go to Step 4

Go to Step 9

4

  1. Disconnect the EBTCM connector.
  2. Remove the EBTCM from the BPMV.
  3. Inspect the EBTCM to BPMV connector for conditions which could cause intermittents, such as damage, corrosion, poor terminal contact, or presence of brake fluid.

Is connector OK and cavity free of brake fluid?

--

Go to Step 5

Go to Step 6

5

  1. Install the J 41247 Pinout Box to the BPMV connector.
  2. Using the J 39200 DMM, measure the resistance between the J 41247 terminal 8 and the pump motor ground stud.

Is the resistance within the range specified in the Value(s) column?

0.2 - 10ohms

Go to Step 7

Go to Step 8

6

  1. If connector corrosion or damage is evident, replace BPMV and/or EBTCM as necessary.
  2. If brake fluid is present, replace BPMV and EBTCM.

Is the replacement complete?

--

Go to Diagnostic System Check

--

7

Replace the EBTCM. Refer to Electronic Brake and Traction Control Module .

Is the replacement complete?

--

Go to Diagnostic System Check

--

8

Replace the BPMV. Refer to Brake Pressure Modulator Valve .

Is the replacement complete?

--

Go to Diagnostic System Check

--

9

Repair open or high resistance in CKT 1250. Refer to Wiring Repairs in Wiring Systems.

Is the repair complete?

--

Go to Diagnostic System Check

--