GM Service Manual Online
For 1990-2009 cars only
Table 1: Transaxle Range Switch Valid Input Combinations
Table 2: DTC P0705, P0706-Transaxle Range Switch Circuit

Object Number: 105968  Size: MF
Engine Controls Components
Cell 20: Park Neutral Position Switch
OBD II Symbol Description Notice
Handling ESD Sensitive Parts Notice

Circuit Description

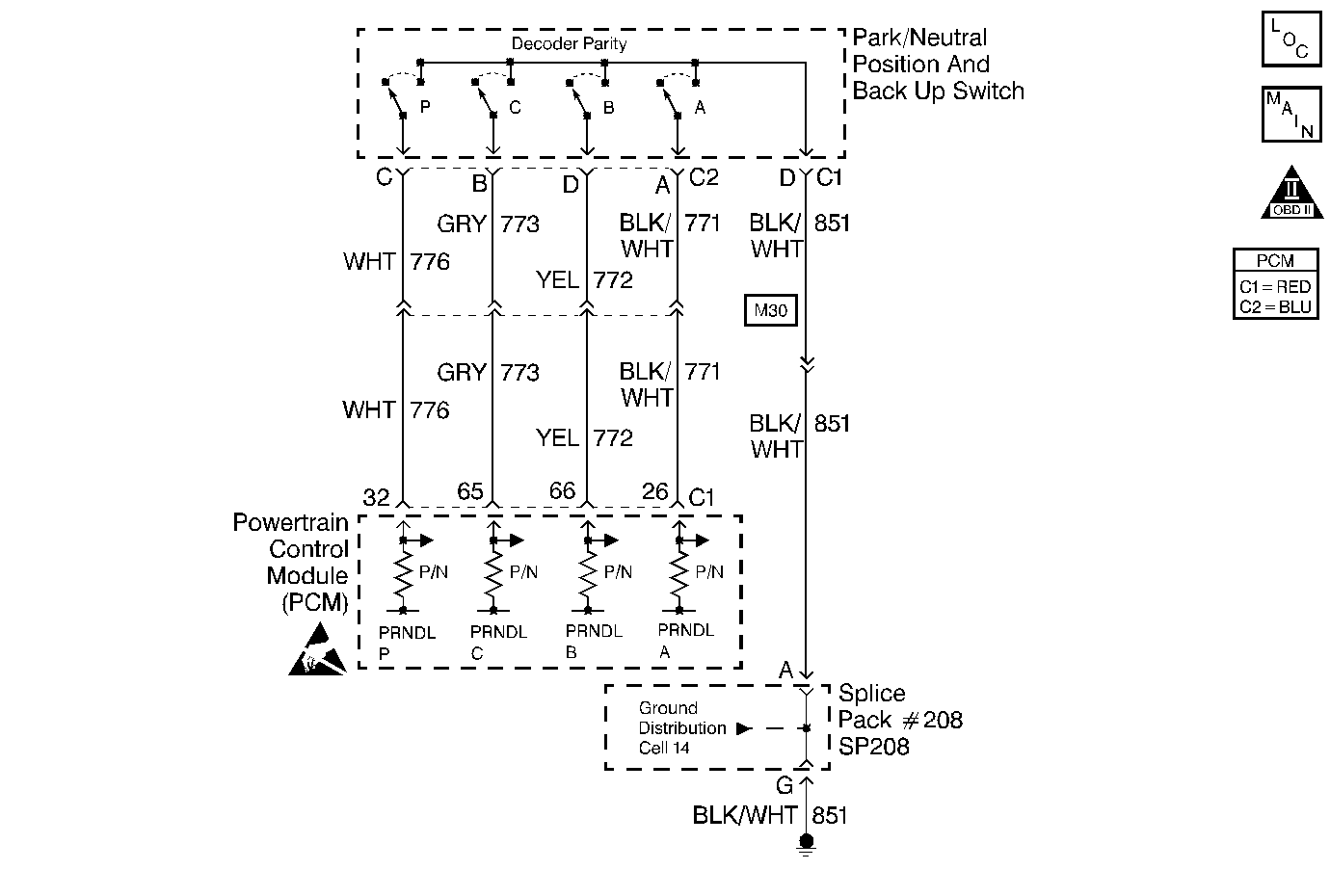
The transaxle on this vehicle has a Park Neutral Position (PNP) and Back-up switch. This switch incorporates a transaxle range selector switch. There are 4 inputs (PRND A, B, C, P) which are switches to ground. The four switches have an unique switch pattern. The PCM uses the combination of the switch patterns in order to determine the gear selected by the driver.

This diagnostic monitors the 4 inputs in order to determine what gear position the transmission is in. When the PCM detects that an illegal range has occurred, this DTC sets.

Conditions for Setting the DTC

    • Ignition voltage is greater than 8.0 volts.
    • Transaxle Range (select lever) switch indicates an illegal position.
    • The PCM detects an illegal range for 10.0 seconds.

Action Taken When the DTC Sets

    • The powertrain control module (PCM) stores the DTC information into memory when the diagnostic runs and fails.
    • The malfunction indicator lamp (MIL) will not illuminate.
    • The PCM records the operating conditions at the time the diagnostic fails. The PCM stores this information in the Failure Records.

Conditions for Clearing the DTC

    • A last test failed, or current DTC, clears when the diagnostic runs and does not fail.
    • A history DTC will clear after 40 consecutive warm-up cycles, if no failures are reported by this or any other non-emission related diagnostic.
    • Use a scan tool in order to clear the DTC.

Diagnostic Aids

The following may cause an intermittent:

    • Poor connections. Check for adequate terminal tension. Refer to Body and Accessories/Wiring Systems for proper procedure.
    • Corrosion
    • Mis-routed harness
    • Rubbed through wire insulation
    • Broken wire inside the insulation
    • Manipulate related wiring and connectors while observing the PRND Range parameters (PRND A, B, C, P) on the scan tool. If the manipulation causes an intermittent, the corresponding parameter changes on the scan tool.
    • Using Freeze Frame and/or Failure Records data may aid in locating an intermittent condition. If you cannot duplicate the DTC, the information included in the Freeze Frame and/or Failure Records data can aid in determining how many miles since the DTC set. The Fail Counter and Pass Counter can also aid determining how many ignition cycles the diagnostic reported a pass and/or a fail. Operate the vehicle within the same freeze frame conditions (RPM, load, vehicle speed, temperature etc.) that you observed. This will isolate when the DTC failed. For an intermittent, refer to Symptoms .

The table below is the normal state that each gear range should indicate. ON indicates the circuit is low (switched/shorted to a ground). OFF indicates the circuit is high (open). Another parameter to display is PRND Range. This parameter displays the current gear range the transaxle is in. When there is an invalid gear range, the parameter indicates Invalid.

Transaxle Range Switch Valid Input Combinations

Gear Selector Position

Scan Tool Trans Range ABCP Display

A

B

C

P

Park (P)

ON

OFF

OFF

ON

Reverse (R)

ON

ON

OFF

OFF

Neutral (N)

OFF

ON

OFF

ON

Drive4 (OD)

OFF

ON

ON

OFF

Drive3 (3)

ON

ON

ON

ON

Drive2 (2)

ON

OFF

ON

OFF

Drive 1 (1)

OFF

OFF

ON

ON

Test Description

The numbers below refer to the step numbers on the diagnostic table.

  1. This checks whether a malfunction is present. If the PCM does not detect any invalid ranges, this indicates the fault is not present. You may have been repaired the fault when the switch was adjusted.

  2. Any circuit that you suspect is causing an intermittent condition, thoroughly check for the following:

  3. • Backed out terminals
    • Improper mating
    • Broken locks
    • Improperly formed or damaged terminals
    • Poor terminal to wiring connections
    • Physical damage to the wiring harness
  4. A circuit malfunction causes the Trans Range to display an invalid range on the scan tool. Jumping each circuit to ground simulates the trans range switch operation and checks the circuitry and PCM. While the transaxle range switch is disconnected and the circuits are not grounded, the scan tool should indicate OFF. A value that indicates ON with no jumper to ground indicates a grounded circuit or malfunctioning PCM.

  5. If you have not found any malfunctions at this point and no additional DTCs were set, refer to Diagnostic Aids for additional checks and information.

DTC P0705, P0706-Transaxle Range Switch Circuit

Step

Action

Value(s)

Yes

No

1

Did you perform the Powertrain On-Board Diagnostic (OBD) System Check?

--

Go to Step 2

Go to Powertrain On Board Diagnostic (OBD) System Check

2

Important: Adjust the PNP switch and the shift cable/lever before proceeding with this diagnostic table. Refer to Transmission/Transaxle.

  1. Turn ON the ignition leaving the engine OFF.
  2. Install a scan tool.
  3. Move the gear selector through all the gear ranges while monitoring the PRND A, B, C, P and the Trans PRND parameter on the scan tool.

Does the scan tool indicate an invalid position in any of the gear ranges?

--

Go to Step 3

Go to Diagnostic Aids

3

Compare the scan tool values with the Transaxle Range Switch Valid Input Combinations table.

Does the scan tool display all the circuits as OFF?

--

Go to Step 4

Go to Step 5

4

  1. Check the PNP switch ground circuit for an open or poor connection
  2. If you find a problem, repair as necessary Refer to Body and Accessories/Wiring Systems.

Did you find and correct the condition?

--

Go to Step 10

Go to Step 5

5

  1. Move the gear selector through all of the gear ranges and observe which circuits do not correspond with the Transaxle Range Switch Valid Input Combinations table.
  2. Disconnect the trans range switch electrical connector.
  3. Jumper the circuit with the incorrect value to ground.

Does the scan tool change from OFF to ON when the circuit was jumped to ground?

--

Go to Step 8

Go to Step 6

6

Check the affected circuit for and open or a short to ground and repair as necessary. Refer to Body and Accessories/Wiring Systems.

Did you find and correct the condition?

--

Go to Step 10

Go to Step 7

7

Check for a poor connection at the PCM connector and repair as necessary. Refer to Body and Accessories/Wiring Systems.

Did you find and correct the condition?

--

Go to Step 10

Go to Step 9

8

Replace the PNP/Back Up Switch. Refer to Transmission/Transaxle.

Is the action complete?

--

Go to Step 10

--

9

Important: Program the replacement PCM. Refer to Powertrain Control Module/Throttle Actuator Control Module Replacement .

Replace the PCM.

Is the action complete?

--

Go to Step 10

--

10

  1. Select the Diagnostic Trouble Code (DTC) option and the Clear DTC option using the scan tool.
  2. Idle the engine at the normal operating temperature.
  3. Operate the vehicle within the conditions for setting this DTC as specified in the supporting text.

Does the scan tool indicate that this diagnostic has ran and passed?

--

Go to Step 11

Go to Step 2

11

Check if any DTCs are set.

Does the scan tool display any DTCs that you have not diagnosed?

--

Go to applicable DTC table

System OK