GM Service Manual Online
For 1990-2009 cars only

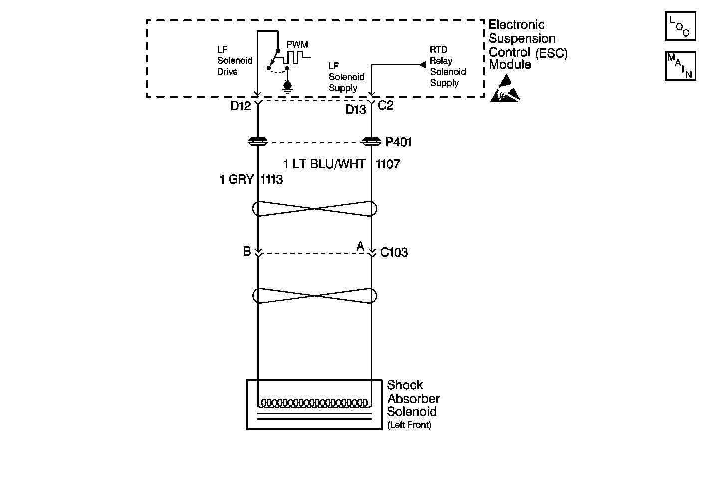
Object Number: 70233  Size: MF
Suspension Controls Components
Suspension Controls Schematics
Handling Electrostatic Discharge Sensitive Parts Notice

Circuit Description

The ESC module uses the Pulse-Width Modulation (PWM) method in order to control each shock absorber solenoid. Switching the voltage ON and OFF at each shock absorber solenoid, or PWM-ing, limits the amount of current supplied to that particular solenoid. The ESC module periodically commands each shock absorber to an set PWM duty cycle in order to override the normal PWM command. During this set PWM duty cycle, the ESC module is able to perform a diagnostic test on each shock absorber solenoid, and can determine if a malfunction is present. The ESC module is only able to detect certain malfunctions during a given state (ON or OFF). In order to test for the conditions that set a DTC C1710, the ESC module must first command the LF solenoid ON. If a high voltage level is detected in the solenoid drive low circuit during the ON state, the test is again repeated. If the ESC module determines that the voltage levels detected in both tests are higher than expected, a malfunction is present and a DTC will set.

Conditions for Setting the DTC

The ESC module detects a high voltage level (short to voltage) on the LF solenoid drive low circuit during two diagnostic tests performed.

Action Taken When the DTC Sets

    • Stores a DTC C1710 in the ESC memory.
    • Commands 0% PWM duty cycle in order to disable the LF solenoid.
    • Sends a message to the IPC to display the SERVICE RIDE CONTROL message.

Conditions for Clearing the DTC

    • The ESC module no longer detects a high voltage level (short to voltage) on the LF solenoid drive low circuit during a diagnostic test.
    • A history DTC will clear after 100 consecutive ignition cycles if the condition for the malfunction is no longer present.
    • The On-Board Diagnostic (clearing DTCs) feature.
    • Using a scan tool.

Diagnostic Aids

    • The following conditions may cause an intermittent malfunction to occur:
       - There is an intermittent short to voltage on the LF solenoid drive low circuit.
       - The LF solenoid drive (high and low) circuits intermittently shorted together.
       - There is a shock absorber solenoid low resistance, internal short, or short to voltage condition.
    • If the conditions for a DTC C1710 are current, the ESC module will disable the LF solenoid (commanding 0% duty cycle) and the vehicle will experience a soft ride condition on the LF of the vehicle.
    • If the DTC is a history DTC, the problem may be intermittent. Using a scan tool, cycle the LF shock absorber solenoid while moving the wiring and the connectors. This can often cause the malfunction to occur.

Test Description

The numbers below refer to the step numbers on the diagnostic table:

  1. This step measures the resistance value of the LF shock absorber solenoid.

  2. This step checks for a short to voltage in the LF shock absorber solenoid.

  3. This step checks for a short to voltage on CKT 1113.

  4. This step checks for a short between CKT 1113 and CKT 1107.

  5. This step checks for an intermittent malfunction and requests a thorough inspection of the related LF shock absorber circuit wiring and connectors.

Step

Action

Value(s)

Yes

No

1

Was the RTD Diagnostic System Check performed?

--

Go to Step 2

Go to RTD Diagnostic System Check

2

  1. Turn OFF the ignition switch.
  2. Disconnect the LF shock absorber solenoid connector C103.
  3. At the solenoid side of connector C103, measure the resistance between terminals A and B.

Is the resistance within the specified value?

9.5-15.5 ohms

Go to Step 3

Go to Step 9

3

  1. Turn ON the ignition switch.
  2. At the solenoid side of connector C103, measure the voltage at terminal A.

Is the voltage indicated over the specified value?

More than 1.0 V

Go to Step 9

Go to Step 4

4

  1. Turn OFF the ignition switch.
  2. Disconnect the ESC module connector C2.
  3. Turn ON the ignition switch.
  4. At the harness side of ESC module connector C2, measure the voltage at terminal D12.

Is the voltage indicated over the specified value?

More than 1.0 V

Go to Step 7

Go to Step 5

5

  1. Turn OFF the ignition switch.
  2. At the harness side of ESC module connector C2, measure for continuity between terminals D12 and D13.

Is there continuity?

--

Go to Step 8

Go to Step 6

6

Check the LF shock absorber solenoid circuit for an intermittent malfunction. Refer to Diagnostic Aids.

Was an intermittent malfunction found and repaired?

--

Go to Step 12

Go to Step 10

7

Locate and repair the short to voltage in CKT 1113.

Is the circuit repair complete?

--

Go to Step 12

--

8

Locate and repair the short between CKT 1113 and CKT 1107.

Is the circuit repair complete?

--

Go to Step 12

--

9

Replace the LF shock absorber. Refer to Shock Absorber Replacement in Front Suspension.

Is the repair complete?

--

Go to Step 12

--

10

  1. Turn OFF the ignition switch.
  2. Connect or install any connectors or components that were disconnected or removed.
  3. Turn ON the ignition switch.
  4. Using the scan tool, select clear DTCs.
  5. Cycle the LF shock absorber solenoid for 60 seconds using the scan tool.

Is DTC C1710 current?

--

Go to Step 11

System OK

11

Replace the ESC module. Refer to Electronic Suspension Control Module .

Is the repair complete?

--

Go to Step 12

--

12

  1. Turn OFF the ignition switch.
  2. Connect or install any connectors or components that were disconnected or removed.
  3. Turn ON the ignition switch.
  4. Using the scan tool, select clear DTCs.

Is the repair complete?

--

Go to RTD Diagnostic System Check

--