GM Service Manual Online
For 1990-2009 cars only

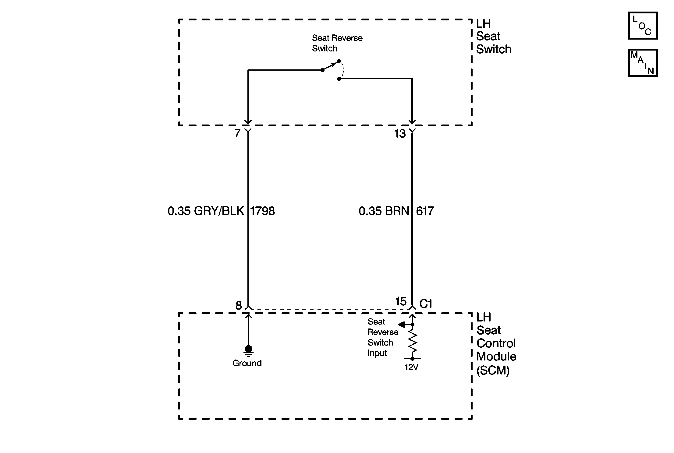
Object Number: 97574  Size: MF
Memory Seats Schematics
Power Seat Systems Components

Circuit Description

The LH seat switch circuit provides an input to the LH Seat Control Module (SCM) when the seat reverse switch is pressed in REVERSE. This input allows the SCM to detect a seat REVERSE request. The SCM provides a signal, which is pulled up to system battery voltage through a pull-up resistor, and a ground to the seat reverse switch. When the seat reverse switch is pressed the signal is pulled low within the SCM. When the SCM detects the transition from high to low it will command the seat to move in the REVERSE direction. When the switch is released it will command the seat to stop.

Conditions for Setting the DTC

The seat reverse switch input, to the SCM, is active (low) for more than 20 seconds.

Action Taken When the DTC Sets

    • Stores a history DTC B2197 in the SCM memory.
    • This DTC can only be set as a history code even if the malfunction is current.
    • No driver warning message will be displayed for this DTC.
    • The operation/function of the seat reverse switch is disabled.

Conditions for Clearing the DTC

    • The seat reverse switch input, to the SCM, is inactive (high) for less than 20 seconds.
    • Using a scan tool.

Diagnostic Aids

    • The following conditions may cause an intermittent malfunction:
       - There is an intermittent short to ground in CKT 617.
       - The seat reverse switch is shorted to ground internally or is sticking.
       - The seat reverse switch was pressed for longer than 20 seconds.
    • If CKT 617 is shorted to ground or the seat reverse switch is stuck closed, the seat will remain in the reverse position at all times.
    • Using a scan tool, select SCM inputs and monitor the seat reverse switch status. If the scan tool displays ACTIVE, disconnect the seat reverse switch and check if the seat status changes to INACTIVE. If the status changed, then replace the LH seat switch. If the status did not change, then check CKT 617 for a short to ground.
    • If the DTC does not reset after the code is cleared, then the problem may be intermittent. Perform the tests shown while moving related wiring and connectors. This can often cause the malfunction to occur. Refer to Intermittents and Poor Connections
    • Activate the seat reverse switch numerous times while monitoring the status on the scan tool to see if it sticks intermittently.

DTC B2197 -- Seat REVERSE Switch -- Fault

Step

Action

Value(s)

Yes

No

1

Is there any mechical binding or obstruction?

Go to Step 2

2

  1. Disconnect the Seat Control Module (SCM)
  2. While pressing the seat REVERSE switch, measure the resistance between the SCM connector C1 terminal 15 and terminal 8.

Is the resistance within specified range?

<5ohms

Go to Step 3

Go to Step 4

3

Replace the Seat Control Module (SCM).

Is the repair complete?

Recheck the System Operation

4

  1. Disconnect the left seat switch.
  2. While pressing the seat REVERSE switch, measure the resistance between the left seat switch terminal 7 and terminal 13.

Is the resistance within specified range?

<5ohms

Go to Step 5

Go to Step 6

5

Repair the open in CKT 1798 or CKT 617 between the left seat switch and the Seat Control Module (SCM).

Is the repair complete?

Recheck the System Operation

6

Replace the left seat switch.

Is the repair complete?

Recheck the System Operation