GM Service Manual Online
For 1990-2009 cars only

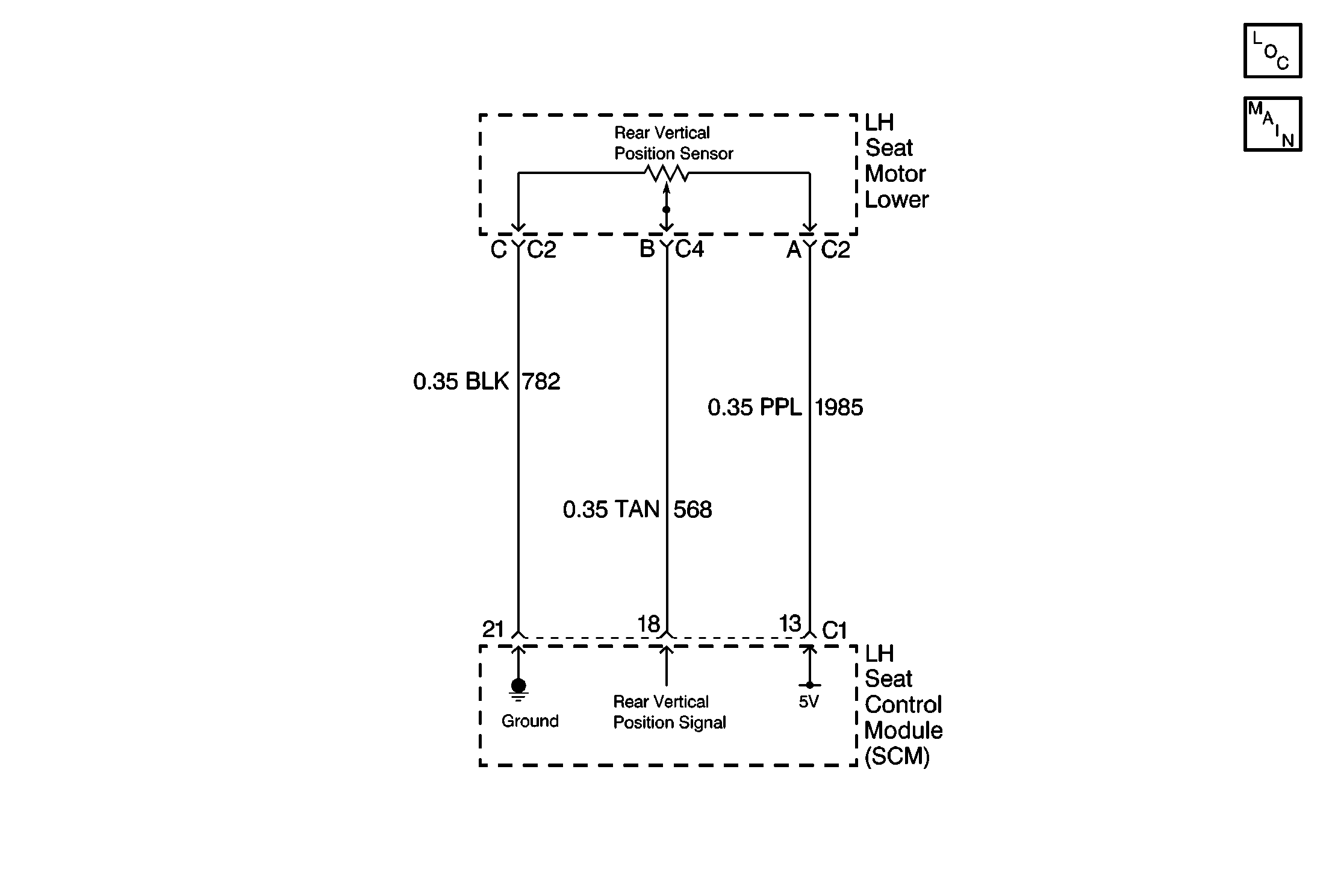
Object Number: 97611  Size: MF
Memory Seats Schematics
Power Seat Systems Components

Circuit Description

The memory seat functions, are operated when voltages from the LH seat switch are first applied to the LH Seat Control Module (SCM). The SCM then stores the voltage appearing at the rear vertical position sensor signal wire when either memory push button is pressed.

The SCM provides a steady 5 volt supply (CKT 1985) and a ground (CKT  782) to the rear vertical position sensor. The rear vertical position sensor, which is a variable resistor, provides a return voltage on the signal wire (CKT 568) to the SCM. Depending upon the location of the seat motor, the voltage in the signal wire varies from .1 to 4.78 volts. When one of the memory buttons is pressed, the SCM applies voltage to the motor until the position sensor voltage equals the stored value. The seat will then have returned to the stored vertical position.

Conditions for Setting the DTC

The rear vertical position sensor input, to the SCM, is under the voltage range of .1 V or over 4.78 V for 2 seconds or more.

Action Taken When the DTC Sets

    • Stores a history DTC B2606 in the SCM memory.
    • This DTC can only be set as a history code even if the malfunction is current.
    • No driver warning message will be displayed for this DTC.
    • The memory operation/function of the faulted position sensor is disabled.

Conditions for Clearing the DTC

    • The rear vertical position sensor input, to the SCM, is within the voltage range of .1 V - 4.78 V for 2 seconds or more.
    • Using the DTC clearing feature in the IPC.
    • Using a scan tool.

Diagnostic Aids

    • If the DTC does not reset after the code is cleared, then the problem may be intermittent. Perform the tests shown while moving related wiring and connectors. This can often cause the malfunction to occur. Refer to Intermittents and Poor Connections
    • The following conditions may also cause an intermittent malfunction:
       - There is an intermittent open, short to ground or battery in CKTs 568 or 1985.
       - There is an intermittent open or short to battery in CKT 782.
       - The rear vertical position sensor is open or shorted internally.
    • If the SCM is unable to determine the correct vertical position, manual power seat functions will still operate, but the SCM will not be able to recall the correct seat memory settings.
    • Using a scan tool, select SCM data display and monitor the rear vertical position data. Move the power seat vertically in both directions while monitoring the position sensor data. The voltage range should vary and stay between .1-4.78 volts depending on the position of the seat. This checks if the seat rear vertical position sensor is open or shorted in different positions.

DTC B2606 --Rear Vertical Position Sensor -- Fault

Step

Action

Value(s)

Yes

No

1

Are DTC B2605 or DTC B2607 also set?

Go to Step 2

Go to Step 6

2

  1. Disconnect the left seat motor lower connector C2.
  2. Measure the voltage between the left seat motor lower connector C2 terminal A to ground.

Is the voltage within the specified range?

4.5-5.5V

Go to Step 3

Go to Step 5

3

Measure the volatge between the left seat motor lower connector C2 terminal A and terminal C.

Is the voltage within specified range?

4.5-5.5V

Go to Step 4

Go to Step 9

4

Replace the left seat motor lower.

Is the repair completed?

Recheck the System Operation

5

  1. Check for an open or short to ground in CKT 1985.
  2. If OK, replace the Seat Control Module (SCM).

Is the repair complete?

Recheck the System Operation

6

  1. Disconnect the left seat motor lower connector C4.
  2. Measure the voltage beween the left seat motor lower connector C4 terminal B and ground.

Is the voltage within the specified range?

3.5-5.5V

Go to Step 7

Go to Step 8

7

Replace the seat motor lower left.

Is the repair complete?

Recheck the System Operation

8

  1. Check for an open, a short to ground, or a short to battery in CKT 568.
  2. If OK, replace the Seat Control Module (SCM).

Is the repair complete?

Recheck the System Operation

9

  1. Check for an open or a short to battery in CKT 782.
  2. If OK, replace the Seat Control Module (SCM).

Is the repair complete?

Recheck the System Operation