GM Service Manual Online
For 1990-2009 cars only

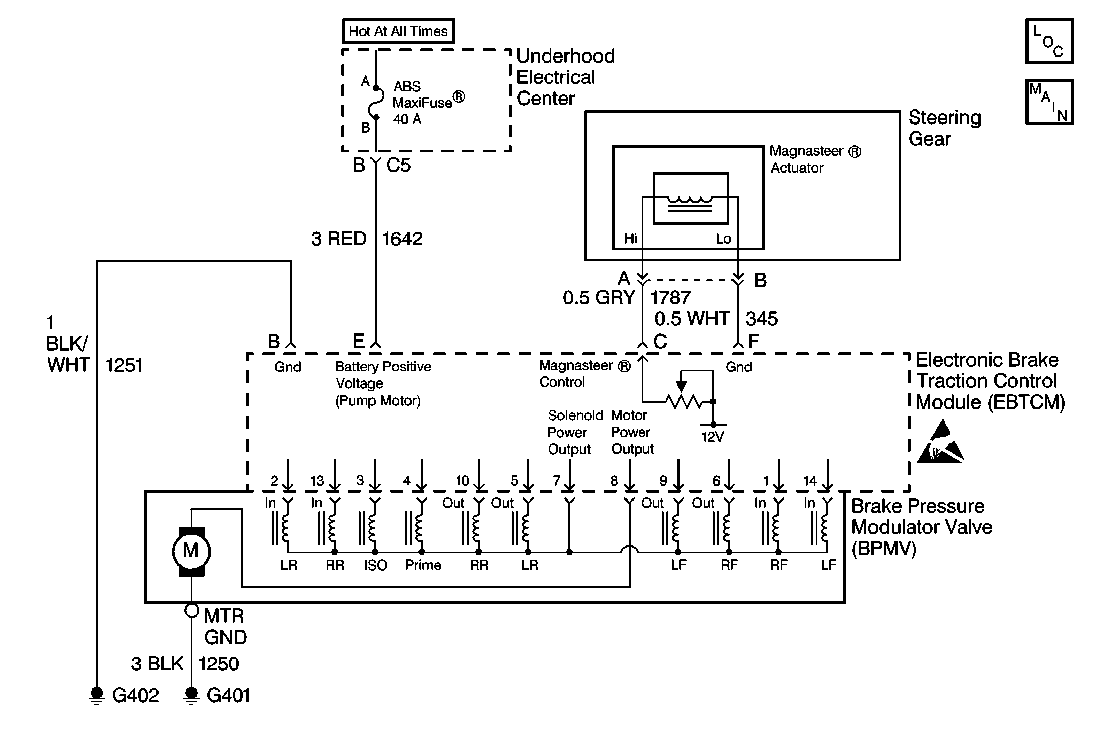
Object Number: 95901  Size: MF
ABS Components
ABS/TCS Schematics

Circuit Description

The Speed dependent Steering System (MAGNASTEER) incorporates its controller into the EBTCM. The EBTCM controls the amount of current supplied to the MAGNASTEER actuator based on input from the wheel speed sensors and based on the steering wheel position sensor.

Conditions for Setting the DTC

One or both of the MAGNASTEER actuator circuit wires become open or shorted.

Action Taken When the DTC Sets

A malfunction DTC is stored. No ABS/TCS indicator lamps are turned ON but MAGNASTEER is disabled. ABS/TCS remains functional.

Conditions for Clearing the DTC

    • A history DTC will clear after 100 consecutive ignition cycles if the condition for the malfunction is no longer present.
    • The On-Board Diagnostic (clearing DTCs) feature
    • Using a scan tool

Diagnostic Aids

    • The following conditions may cause an intermittent malfunction to occur:
       - A poor connection
       - A rubbed through wire insulation
       - A broken wire inside the insulation
    • Check the frequency of the malfunction by using the enhanced diagnostic function of the scan tool. Refer to Enhanced Diagnostics
    • Check the following for all circuitry suspected as causing the intermittent complaint:
       - Check for backed out terminals
       - Check for improper mating
       - Check for broken locks
       - Check for improperly formed terminals
       - Check for damaged terminals
       - Check for poor terminal to wiring connections
       - Check for physical damage to the wiring harness

Test Description

The numbers below refer to the step numbers on the diagnostic table:

  1. This test checks if there is a short to ground in CKT 345.

  2. This test checks if there is a short to ground in CKT 1787.

  3. This test checks if there is a short to voltage in CKT 345.

  4. This test checks if there is a short to voltage in CKT 345.

  5. This test checks the MAGNASTEER actuator for an internal open.

  6. This test checks the MAGNASTEER actuator for an internal short to ground.

  7. This test checks if there is an open in CKT 345.

  8. This test checks if there is an open in CKT 1787.

Step

Action

Value(s)

Yes

No

1

Was the Diagnostic System Check performed?

--

Go to Step 2

Go to Diagnostic System Check in ABS Brakes - Delco/Bosch

2

  1. Disconnect the EBTCM harness connector.
  2. Install J 39700 Universal Pin Out Box with J 39700-25 cable Adapter to the EBTCM harness connector only.
  3. Check for voltage between the EBTCM pins E and F using the J 39200.

Is the voltage within the range specified in the Value(s) column?

Greater than 1 Volt

Go to Step 11

Go to Step 3

3

Use the J 39200 check for voltage between the EBTCM pins E and C.

Is the voltage within the range specified in the Value(s) column?

Greater than 1 Volt

Go to Step 12

Go to Step 4

4

  1. Turn the ignition to ON.
  2. Check for voltage between the EBTCM pins B and F.

Is the voltage within the range specified in the Value(s) column?

Greater than 1 Volt

Go to Step 13

Go to Step 5

5

Check for voltage between the EBTCM pins B and C.

Is the voltage within the range specified in the Value(s) column?

Greater than 1 Volt

Go to Step 14

Go to Step 6

6

  1. Turn the ignition OFF.
  2. Disconnect the MAGNASTEER actuator connector C107.
  3. Measure the resistance between the MAGNASTEER actuator connector C107 pins A and B.

Is the resistance within the range specified in the Value(s) column?

2-3 Ohms

Go to Step 7

Go to Step 15

7

Measure the resistance from the MAGNASTEER actuator pin A to the steering gear case.

Is the resistance within the range specified in the Value(s) column?

OL (Infinite)

Go to Step 8

Go to Step 15

8

Measure the resistance between J 39700 connector pin F and the MAGNASTEER harness side connector C107 pin B.

Is the resistance within the range specified in the Value(s) column?

Less than 2 Ohms

Go to Step 9

Go to Step 16

9

Measure the resistance between J 39700 connector pin C and the MAGNASTEER harness side connector C107 pin A.

Is the resistance within the range specified in the Value(s) column?

Less than 2 Ohms

Go to Step 10

Go to Step 17

10

  1. Reconnect all the connectors.
  2. Test drive the vehicle to a speed greater than 40 km/h (25 mph).

Does the DCT 41 reset?

--

Go to Step 18

Go to Step 19

11

Repair a short to ground in CKT 345.

Is the repair complete?

--

Go to Diagnostic System Check in ABS Brakes - Delco/Bosch

--

12

Repair a short to ground in CKT 1787.

Is the repair complete?

--

Go to Diagnostic System Check in ABS Brakes - Delco/Bosch

--

13

Repair a short to voltage in CKT 345.

Is the repair complete?

--

Go to Diagnostic System Check in ABS Brakes - Delco/Bosch

--

14

Repair a short to voltage in CKT 1787.

Is the repair complete?

--

Go to Diagnostic System Check in ABS Brakes - Delco/Bosch

--

15

Replace the steering gear. Refer to Power Steering Gear in Power Steering System.

Is the repair complete?

--

Go to Diagnostic System Check in ABS Brakes - Delco/Bosch

--

16

Repair an open or a high in CKT 345.

Is the repair complete?

--

Go to Diagnostic System Check in ABS Brakes - Delco/Bosch

--

17

Repair an open or high resistance in CKT 1787.

Is the repair complete?

--

Go to Diagnostic System Check in ABS Brakes - Delco/Bosch

--

18

Replace the EBTCM. Refer to Electronic Brake and Traction Control Module in ABS Brakes - Delco/Bosch.

Is the repair complete?

--

Go to Diagnostic System Check in ABS Brakes - Delco/Bosch

--

19

Problem is intermittent. Refer to General Electrical Diagnosis in Wiring Systems.

--

--

--