GM Service Manual Online
For 1990-2009 cars only

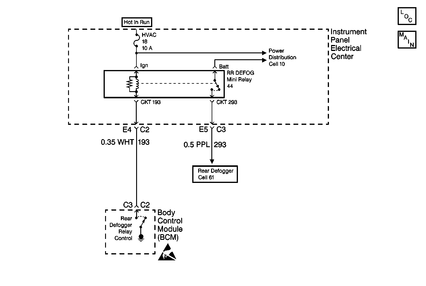
Object Number: 74052  Size: MF
Body Control Module Components
Body Control System Schematics
Power Distribution Schematics
Defogger Schematics
Handling Electrostatic Discharge Sensitive Parts Notice

Circuit Description

The BCM must receive a defogger ON request from the rear defogger switch (located in the HVAC control head) with the engine running in order to complete the rear defogger relay circuit. The BCM grounds CKT 193 in order to energize the relay. The BCM monitors the voltage level on the rear defogger control circuit. When the BCM commands the rear defogger relay ON, the voltage level on the control circuit should be low. When the relay is OFF, the voltage level should be high. If the BCM detects a voltage level other than expected, a malfunction is present and a DTC will set.

Conditions for Setting the DTC

    • The BCM detects a low voltage level (an open or a short to ground) in CKT 193.
    • The BCM can only test for this condition when the BCM is not attempting to energize the rear defogger relay.
    • The condition must be present for 2 seconds.

Action Taken When the DTC Sets

    • Stores a DTC B0432 in the BCM memory.
    • No driver warning message will be displayed for this DTC.

Conditions for Clearing the DTC

    • This DTC requires an ignition cycle in order to change from current to history.
    • The BCM no longer detects a high voltage level in CKT 193 only when the BCM is not attempting to energize the rear defogger relay.
    • A history DTC will clear after 50 consecutive ignition cycles if the condition for the malfunction is no longer present.
    • Use the IPC clearing DTCs feature.
    • Use a scan tool.

Diagnostic Aids

    • The following conditions may cause an intermittent malfunction:
       - There is an intermittent open or short to ground in CKT 193.
       - There are poor connections at the BCM, the I/P electrical center, or the rear defogger relay terminals.
       - There is an internal rear defogger relay open or short.
    • If CKT 193 is shorted to ground, the rear defogger will remain ON at all times. If CKT 193 is open, the rear defogger will remain OFF at all times.
    • The rear defogger relay may be installed in the I/P electrical center in two directions and still function properly. Refer to Electrical Center Identification Views for relay circuit location.
    • If the DTC is a history DTC, the problem may be intermittent. Perform the tests shown while moving related wiring and connectors. This can often cause the malfunction to occur. Refer to Intermittents and Poor Connections .

Test Description

The numbers below refer to the step numbers on the diagnostic table:

  1. This test determines if there is an open in the I/P electrical center or fuse.

  2. This test determines if there is a short to ground in the rear defogger circuit.

  3. This test checks the resistance of the rear defogger relay coil.

  4. This test checks for an internal rear defogger relay short.

  5. This test checks for an internal rear defogger relay short.

  6. This test checks if the BCM can properly control the rear defogger relay by commanding the BCM to ground CKT 193.

  7. This test determines if there is an open in CKT 193.

  8. This test determines if the BCM is causing the short to ground.

DTC B0432 -- Rear Defogger Relay Circuit Open or Short to Ground

Step

Action

Value(s)

Yes

No

1

Were you sent here from the BCM Diagnostic System Check?

--

Go to Step 2

Go to Diagnostic System Check - Body Control System

2

  1. Turn OFF the ignition switch.
  2. Disconnect the rear defogger relay.
  3. Turn ON the ignition switch.
  4. With a test light connected to ground, probe the rear defogger relay BATT terminals at the I/P electrical center. Refer to Electrical Center Identification Views for relay circuit location.

Is the test light ON?

--

Go to Step 3

Go to Step 14

3

  1. Turn OFF the ignition switch.
  2. With a test light connected to B+, probe CKT 193 at the I/P electrical center rear defogger relay terminal. Refer to Electrical Center Identification Views for relay circuit location.

Is the test light ON?

--

Go to Step 11

Go to Step 4

4

Measure the resistance between the rear defogger relay terminals 1 and 2 (or 85 and 86).

Is the resistance within specifications?

75-105 ohms

Go to Step 5

Go to Step 13

5

Check for continuity between the rear defogger relay terminals 1 and 3 (or 85 and 87).

Is there continuity?

--

Go to Step 13

Go to Step 6

6

Check for continuity between the rear defogger relay terminals 1 and 5 (or 85 and 30).

Is there continuity?

--

Go to Step 13

Go to Step 7

7

  1. Turn ON the ignition switch.
  2. With a test light connected to B+, probe CKT 193 at the I/P electrical center rear defogger relay terminal. Refer to Electrical Center Identification Views for relay circuit location.
  3. Using a scan tool, command the rear defogger relay ON and OFF.

Does the test light turn ON and OFF with each command?

--

Go to Step 9

Go to Step 8

8

Check for an open in the I/P electrical center or in CKT 193. Refer to Electrical Center Identification Views for relay circuit location.

Was a problem found and repaired?

--

Go to Step 16

Go to Step 10

9

Check the rear defogger circuit for an intermittent malfunction. Refer to Diagnostic Aids.

Was a problem found and repaired?

--

Go to Step 16

Go to Step 10

10

  1. Turn OFF the ignition switch.
  2. Reconnect or install any connectors or components that were disconnected or removed.
  3. Turn ON the ignition switch.
  4. Clear any DTCs. Refer to Clearing DTCs .
  5. Using a scan tool, cycle the rear defogger relay.

Does DTC B0432 set as current?

--

Go to Step 15

System OK

11

  1. Turn OFF the ignition switch.
  2. Disconnect the BCM connector C2.
  3. With a test light connected to B+, probe CKT 193 at the I/P electrical center rear defogger relay terminal. Refer to Electrical Center Identification Views for relay circuit location.

Is the test light ON?

--

Go to Step 12

Go to Step 15

12

Locate and repair the short to ground in the I/P electrical center or in CKT 193.

Is the circuit repair complete?

--

Go to Step 16

--

13

Replace the rear defogger relay.

Is the replacement complete?

--

Go to Step 16

--

14

  1. Repair the open in the ignition feed to the I/P electrical center.
  2. If a fuse is open, locate and repair the short in the circuit connected to the open fuse.

Is the circuit repair complete?

--

Go to Step 16

--

15

  1. Replace the BCM. Refer to Body Control Module Replacement .
  2. Program the BCM. Refer to Body Control Module (BCM) Programming/RPO Configuration .

Is the replacement complete?

--

Go to Step 16

--

16

  1. Turn OFF the ignition switch.
  2. Reconnect or install any connectors or components that were disconnected or removed.
  3. Turn ON the ignition switch.
  4. Clear any DTCs. Refer to Clearing DTCs .

Are all DTCs cleared?

--

Go to Diagnostic System Check - Body Control System

--